Glow plugs or not?

/ Glow plugs or not? #1  

JJKJ

Bronze Member
Joined
Dec 12, 2009
Messages
57
I was reading through my 2720 manual and got to the section on cold starts. I do not have the tractor yet, but part of the cold start procedure in the manual is to let the glowplugs cycle. The manual also shows a glowplug light on the dash as the 2nd light down on the right side. Again, I don't have the tractor here to confirm the light and its characteristics.

I thought the direct injection engines did not have glow plugs. I had read that in posts here and my dealer had even volunteered that info. I did a search here after reading my manual and did not come up with a definitive answer. Some have speculated that the light, which seems to be a recent addition, may be connected to a pre-heater. If so, why would the manual refer to it as a glow plug light and cycling the glow plugs on a cold start instead of just referring to a manifold pre-heater?

Do the newer direct-injection engines have glow plugs?

Thanks,

John
 
/ Glow plugs or not? #2  
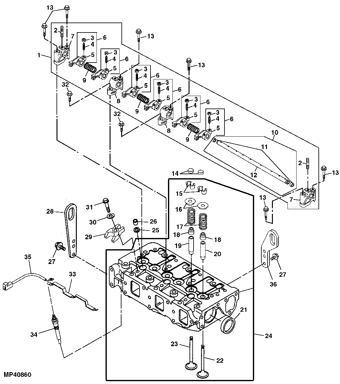
Yes, it has glow plugs...While you are waiting for your machine you can learn to use JDParts:D

Look at #34 in the diagram below:
 

Attachments

  • 2720.gif
    2720.gif
    35.2 KB · Views: 1,787
/ Glow plugs or not?
  • Thread Starter
#3  
Yes, it has glow plugs...While you are waiting for your machine you can learn to use JDParts:D

Look at #34 in the diagram below:

Thanks Kenny; I'm still learning all the resources available. I didn't even think of looking on JDParts. I was scouring the paper and online manuals last night as well as old posts, and all along the info was easily accessable on JDParts. :)

Now I'm a little curious why the addition of glowplugs? From my reading, it looks like they may have been added to the 2520 sometime in the '08 model year, and I guess on the 2720 all along?

Since I've owned a few diesel vehicles in the past, I found it odd that JD had a diesel engine without glowplugs. However, in all the research I did during my buying process, I never found any posts complaining of difficulty with cold starts on the 2520.

John
 
/ Glow plugs or not? #4  
Most direct injected diesels will start easily without using the glow plugs in most weather. In very cold weather they can be needed, so it is good to have them. On my tractor when the key is turned on I get a wait light while the glow plug indicator is lit, when the light goes out turn the key to start. About the same as starting a diesel pickup. I find the 4520 with the Deere engine to be much more cold natured than the 110tlb with the Yanmar engine. The 110 starts instantly in cold weather with a bump of the starter.
 
/ Glow plugs or not? #5  
I've set off the smoke alarms in the garage twice now:eek:
If you cycle the glowplugs a couple times,it's not as bad. Smoky exhaust only lasts a few seconds,but that is enough:)
Does the red color in the separator mean that they gave me #2 fuel,and will that smoke more than #1?

Greg
 
/ Glow plugs or not?
  • Thread Starter
#6  
Hey Greg,

The red color just indicates it's off-road diesel. No difference between on-road and off-road diesel with the exception of the taxes you pay for the on-road diesel. Red dye is added to off-road diesel just to indicate that it is intended for farm or off-road use. The dye is used to give away to the DOT anyone who tries to run off-road (non-taxed) diesel in their on-road vehicles. Typically off-road diesel is not #1, or winter blend fuel.

I never noticed a difference in smoke when running #1 and #2 in my diesel truck. If you can get by with running #2 you're better off. #2 burns better and gives slightly better performance. #1 has low-temp additives and doesn't have as many btu's as #2. Usually I'll see a 1-2mpg drop in my truck's mileage when using winterblend or #1 fuel.

If you can get by running #2 without waxing your fuel filter or gelling issues, then I'd stick with #2. If you can only get #2, usually any retailer that carries diesel will sell anti-gel/waxing additive you can mix with your fuel to help in low temps.

John
 
Last edited:
/ Glow plugs or not? #7  
Did they finally put a second stage on the ignition switch for the glow plug operation ?
What a stupid idea about putting the machine in gear so it won't start to activate the glow plugs. That and the electrostatic charge paint ( we didn't want to buy the primer ) that eventially leads to paint failure. Clearly... were on the trail to max profit and to **** with quality. We are going to cherish 10 year old machines for their stamina prior to the new cost cutting ventures were heading into. I for one say no thanks to the new and would look for the good used trade if I need another machine.
 
/ Glow plugs or not? #8  
What a stupid idea about putting the machine in gear so it won't start to activate the glow plugs.

I don't have to have it in gear to activate glowplugs.

That and the electrostatic charge paint ( we didn't want to buy the primer ) that eventially leads to paint failure.
I don't know if its on everything,but when I sanded the paint off my bucket to weld on hooks,there was primer under the paint.

Greg
 
/ Glow plugs or not? #9  
I hate to ask a stupid question, so what is direct injection compared to not direct? Also, right after I got my 2520, the dealship had to come pick it up for some work. When the srvice man picked it up he had me put it into gear and then hold the key on in the start position, he said something about pre heating the fuel?? I normally just turn the key on until the glow plug light goes out and then start it. Does anyone know what he was refering to? Thanks, Ken
 
/ Glow plugs or not? #10  
I hate to ask a stupid question, so what is direct injection compared to not direct?

Direct and Indirect


Also, right after I got my 2520, the dealship had to come pick it up for some work. When the srvice man picked it up he had me put it into gear and then hold the key on in the start position, he said something about pre heating the fuel??

Not the fuel, glow plugs. putting it in gear or pulling up the PTO button lets the glow plugs light before you try to crank the engine-a useful practice when the engine is VERY cold-but only hold the key on for 5 to 10 seconds MAX.
 
/ Glow plugs or not? #11  
Hey Greg,

The red color just indicates it's off-road diesel. No difference between on-road and off-road diesel with the exception of the taxes you pay for the on-road diesel. Red dye is added to off-road diesel just to indicate that it is intended for farm or off-road use. The dye is used to give away to the DOT anyone who tries to run off-road (non-taxed) diesel in their on-road vehicles. Typically off-road diesel is not #1, or winter blend fuel.

I never noticed a difference in smoke when running #1 and #2 in my diesel truck. If you can get by with running #2 you're better off. #2 burns better and gives slightly better performance. #1 has low-temp additives and doesn't have as many btu's as #2. Usually I'll see a 1-2mpg drop in my truck's mileage when using winterblend or #1 fuel.

If you can get by running #2 without waxing your fuel filter or gelling issues, then I'd stick with #2. If you can only get #2, usually any retailer that carries diesel will sell anti-gel/waxing additive you can mix with your fuel to help in low temps.

John

If I may add just a bit here. #1 diesel is in fact, Kerosene. Here on the west coast we actually begin blending #1 fuel into #2 diesel in early November to winterize it. You can get #1 and #2 diesel dyed in case you want to burn either straight in your fuel tank. You do loose horsepower with straight #1 fuel, but it does, in most cases burn with less smoke. City buses quite often burn taxed #1 year round for less pollution. Also Dyed #2 can, depending on which refinery it comes from, be higher sulfur content which is still legal in off-road application. Some people say they can smell the difference, but I can't.
 
 
Top