Cannot Find Part Number For JD3520 Grease Fitting

   / Cannot Find Part Number For JD3520 Grease Fitting #11  
i bet jd doesn't make zerks but uses off the shelf fittings
 
   / Cannot Find Part Number For JD3520 Grease Fitting #13  
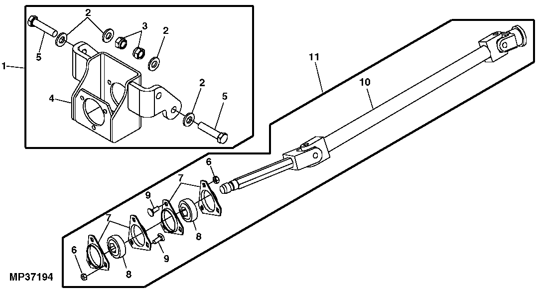
You still need to look in the snow blower catalog. Only they do not show a breakdown of the drive shaft. Key #10 is the drive shaft, LVA14109 $405. Not keyed is AN278257 cross and bearing assembly $72. I am not sure what you get with that.
 

Attachments

  • 3520midpto.gif
    3520midpto.gif
    14.6 KB · Views: 130
   / Cannot Find Part Number For JD3520 Grease Fitting
  • Thread Starter
#14  
You still need to look in the snow blower catalog. Only they do not show a breakdown of the drive shaft. Key #10 is the drive shaft, LVA14109 $405. Not keyed is AN278257 cross and bearing assembly $72. I am not sure what you get with that.

Understood. We're speaking the same language now. All the diagrams I see for AN278257 do not show a lube fitting. I'll figure something out. Thanks for all your time.
 
   / Cannot Find Part Number For JD3520 Grease Fitting #15  
Go to the 3520 parts catalog, then Implements, then 2108 59" two stage snow blower

Thanks for the heads up. I was unaware to access some equipment one had to first access the tractor parts catalog. Thanks again,Jim
 

Tractor & Equipment Auctions

2012 TAKEUCHI TL12 SKID STEER (A60429)
2012 TAKEUCHI TL12...
Deere 410L (A53317)
Deere 410L (A53317)
2007 CHEVROLET 3500 DUALLY 4X4 DIESEL TRUCK (A59575)
2007 CHEVROLET...
2006 JAYCO JAYFLIGHT 30' TYPE CAMPER (A58375)
2006 JAYCO...
Unused SDJ-4000 9,000lb Two-Post Electric Auto Lift (A55851)
Unused SDJ-4000...
2005 Chevrolet Impala Sedan (A56859)
2005 Chevrolet...
 
Top