John deere 4600 fixer upper

/ John deere 4600 fixer upper
  • Thread Starter
#21  
Actually I do, but getting fittings and hose up here ain't real easy. I'll just work around it, it won't be too bad, just can't stand behind the tractor. Good idea though, if I have problems I may have to do that. Even if I get it off I can't really move it or the tractor away from each other. We'll see what happens tomorrow
 
/ John deere 4600 fixer upper
  • Thread Starter
#22  
Anybody have some tips for cleaning up the rods on all the hydraulic cylinders. They are all looking pretty dirty, figured I should clean them up before I move any of them, of course that is probably a week or more away (hopefully).
 
/ John deere 4600 fixer upper #23  
Sounds funny but crinkled up tinfoil and water seems to clean rusty chrome really well.
 
/ John deere 4600 fixer upper
  • Thread Starter
#24  
I thought that may damage it, thats like using sand paper. I was thinking like a scotch brite pad. I've got a mothers polishing power ball too, but thats probably a little more than needed.

Also is there a gasket between the trans and rockshaft housing? I can't find one on jdparts
 
/ John deere 4600 fixer upper
  • Thread Starter
#25  
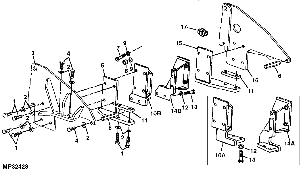
Nm on the gasket, manual says to use sealant. I've got it torn down and ready to remove the rockshaft assembly. Right now I can get a little wiggle out of it but its no going far. I'm hoping the position of the arms doesn't matter for removal, because I can't move them far. I've also got the side plates removed, so the bh and tractor are no longer connected. My side plates look like these, but I don't have as many brackets.
side plate.gif
Looks like I have brackets 10b and 14b and the side plates themselves, but that's it. Could be a possible reason to why it failed. But then on the other hand, the other types of side plates don't have any brackets whatsoever. The draw bar hitch is pretty bent as well. The brackets for the side plates mount there, and all of those bolts were sheared as well. Does anyone have a manual on the 48 bh? I'd be interested to see the side plate installation procedure. Also not sure of what bolts to use where the brackets mount to the hitch, would it just be the hitch bolts? I would think I would need longer ones, but I don't seem them in the parts catalog.
 
/ John deere 4600 fixer upper
  • Thread Starter
#26  
Got a buddy to help and pulled it right off
IMG_20150728_171311396[1].jpgIMG_20150728_171322127[1].jpg
Thats my shift shaft in the center of the pic. Looks like I just tap out the pin that holds the little arm, and then just tap the shaft out?
Here's what my plates look like. Gonna call JD tomorrow and ask then if I should have more brackets
IMG_20150728_173634938[1].jpg
 
/ John deere 4600 fixer upper
  • Thread Starter
#27  
Well not much help from JD yet. Called the dealer and they said I don't know. Didn't find a number on the JDparts site, so I sent em an email asking for a number. Think if I can't get an answer, I'll start a new thread this evening asking 48bh owners what brackets they have.
 
/ John deere 4600 fixer upper
  • Thread Starter
#28  
Had my mechanic buddy come by and have a look. We're thinking pull the single broken bolts at the front of the plate and put new ones there, with a few tack welds for strength. Then from there leaving the rest of the broken bolts alone. Then weld the plates at all the other connections. I'm not sure if the plates interfere with using any other attachments on the rear, but I don't think they will. The owner said that would be fine with him. The only other attachment he has for the back is the scrape blade, and he never really used it anyway. Thinking its gonna be a quicker, easier, cheaper fix, and be stronger as well. Wanted to see what you guys think. Need to get my parts ordered this week, so I can get this thing moving again. Also, there is a hole on top of the rockshaft assembly, where the arms are, do they normally have a zert, or is it lust a hole for attaching something?
 
/ John deere 4600 fixer upper
  • Thread Starter
#29  
No input? Anybody think ^^^^ its a good idea or a bad one?
 
/ John deere 4600 fixer upper
  • Thread Starter
#30  
Talked to another guy last night. He knows the landscaper who used it before. He said they really just used it for the fel. He blames the owner for the BH breaking because of his inexperience and trying to pull stumps. I'm not sure. Its hard to believe that all of those bolts snapped at once without some sort of neglect leading to it. He thinks my welding idea should work. I got the range shaft ordered and got a battery and 10 gallons of hydraulic fluid. The owner is gonna pay for a new hood. He put his hand through it over the weekend when he was trying to clean it up a little.
 
/ John deere 4600 fixer upper
  • Thread Starter
#31  
Alright guys, I could use some of your experience now. Got the shift shaft in, rockshaft assembly back on, and she is turning over. I changed the diesel, and tried to flush all the crud out of the tank, also cleaned the fuel filter and bowl. I know I need a new filter, but trying not to spend money until I know its gonna run. So now my diesel inexperience comes into play. There is probably someway to flush or clean the whole system, but I don't know how. I ran it for a few seconds on a squirt of either, just to see if fuel was my issue. I have fuel through the filter, but if I take loose a metal line off of the injector pump, there is barely any fuel there. There is fuel at the fitting feeding the injector pump. My guess is it's probably gummed up in there, but I'm not sure what to do at this point. My buddy helped me a little, and told me what the injector pump was, but he's used to working on diesel trucks, not tractors. On another note, I decided against the welding idea I talked about above, another buddy of mine who was raised on a farm said that most bolts are made to shear, so it doesn't damage anything else. I tried drilling and extracting a couple, and got nowhere, so I'm hoping my buddy can get them out with the welder.
 
/ John deere 4600 fixer upper
  • Thread Starter
#32  
Also, the light for the glo plugs doesn't come on, but when you turn the key you can hear a loud click, like they are kicking on. Thats why I tried the shot of ether, to see if it would work.
 

Marketplace Items

2023 Kubota Z412KW Zero-Turn Mower with 3-Bag Bagger System (A63689)
2023 Kubota Z412KW...
INGERSOLL RAND  G25 GENERATOR (A58216)
INGERSOLL RAND...
2019 HYDREMA MX14 TIER 4 MOBILE EXCAVATOR (A63276)
2019 HYDREMA MX14...
2025 Swict 78in. Bucket Skid Steer Attachment (A61572)
2025 Swict 78in...
2013 DODGE RAM 2500 CREW CAB TRUCK (A62130)
2013 DODGE RAM...
2004 Winnebago Adventurer 38G 38ft. Class A Motorhome (A59231)
2004 Winnebago...
 
Top