300CX broken hydraulic fitting

   / 300CX broken hydraulic fitting #11  
Is that just a broken fitting ?

If so, why are we talking welding ?, easyout that sucker and lets move on. :cool:
 
   / 300CX broken hydraulic fitting
  • Thread Starter
#12  
Guys, I picked it up from the shop and it is working again. $50 for the weld and $11.50 for the fitting, so much cheaper than a new cylinder. However, the main fabricator guy was concerned about the design of these cylinders as he said they are pretty darn difficult to work on and wasn't even sure this was going to work until we tested it. This guy does cylinder repairs a lot and knows way more about them than I do, so I can't say I completely followed him when he explained the problem with the design. It had something to do with an internal lip just inside the cylinder end. He said basically I am screwed if I ever need new seals as there is no way to really rebuild it.

Anyway, they did a nice job and it works great. However, this new fitting just barely rubs the level indicator bar, but it doesn't look like it is going to be a problem.
 
   / 300CX broken hydraulic fitting #13  
The cylinders are 100% rebuildable. The seals kits are about $30 from JD.
 
   / 300CX broken hydraulic fitting #14  
If you have a Motion Industries nearby you can most likely get the parts for about $10 to15 bucks.


Steve
 
   / 300CX broken hydraulic fitting
  • Thread Starter
#15  
Like I said, I am not a cylinder guy so just repeating what he said. Being that he is making no money off of me by having to buy another cylinder at some point, I didn't see any reason not to believe him. Has anyone on here actually rebuilt one? Just curious now how difficult it was or if there were any gotchas.

In any case, thanks again for the advice. This place is the best.

Regards,
-Jeff
 
   / 300CX broken hydraulic fitting #16  
Like I said, I am not a cylinder guy so just repeating what he said. Being that he is making no money off of me by having to buy another cylinder at some point, I didn't see any reason not to believe him. Has anyone on here actually rebuilt one? Just curious now how difficult it was or if there were any gotchas.

In any case, thanks again for the advice. This place is the best.

Regards,
-Jeff


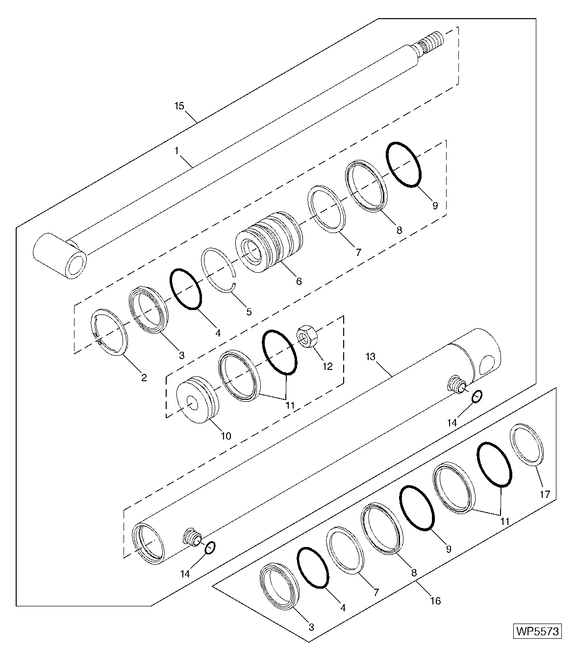
I have rebuilt mine which are similar, and talked many others here on TBN through it. It is not rocket science.

The seal kit is part number AH176274, and list's for $29.69 on jdparts.com. Below is a breakdown of the cylinder:
 

Attachments

  • 300cx.gif
    300cx.gif
    30.1 KB · Views: 249
   / 300CX broken hydraulic fitting
  • Thread Starter
#19  
I have rebuilt mine which are similar, and talked many others here on TBN through it. It is not rocket science.

The seal kit is part number AH176274, and list's for $29.69 on jdparts.com. Below is a breakdown of the cylinder:

KennyD, thank you, that is fantastic.

Cheers,
-Jeff
 
   / 300CX broken hydraulic fitting #20  
I was always curious if those fittings were threaded, pressed or welded on my 300 loader, which are the same style. TBN is a wealth of knowledge:D
 

Tractor & Equipment Auctions

2021 NEW HOLLAND TS6.130 TRACTOR (A51406)
2021 NEW HOLLAND...
2019 Freightliner M2 106 8.5 CuYd Street Sweeper Truck (A55788)
2019 Freightliner...
2017 Yale GLC050VX 3,500 lb LPG Forklift - Powershift, Aux Hydraulics (A55218)
2017 Yale GLC050VX...
2010 Hyundai Elantra Touring Sedan (A55853)
2010 Hyundai...
UNUSED IRANCH 16" EXCAVATOR WOOD GRAPPLE (A54757)
UNUSED IRANCH 16"...
2018 Chevrolet Colorado 4x4 Ext. Cab Pickup Truck (A55788)
2018 Chevrolet...
 
Top