3-Point Hitch 3-point hitch not working

   / 3-point hitch not working #21  
Check to see if the rockshaft rate of drop knob is screwed all the way in. That will stop it from raising
 
   / 3-point hitch not working #22  
OK, thank you for all for the suggestions. I have now :

1. added the proper JD hydraulic oil to get the correct level (it was a little low) . Thanks JD4300 ,I found the sight glass

2. Checked and opertated the rate of rise/drop valve knob under the seat in all positions.

3. Rechecked all my hose connections. It is connected now identically to the way that "rully" in the thread shows in the picture for the hoe disconnected and the 3 point hitch to be operative. (loop out from the top connection back in to the bottom. This is actually the only way it can be connected since there is only one QD female on the tractor) Thanks, kennyd

4. I can tell that the arms are movable by hand (there is about 1/2 free play upward with the hoe attached)

Still it doesn't work. Not a sound, not anything.

If it is the suction screen, why would the FEL work really well? I'm baffled.
 
   / 3-point hitch not working #23  
Did you check the rockshaft control linkage? I would thnk you would hear something if fluid was applied and no movement was detected. If your hitch has position control it may be out of adjustment, just a guess.



Steve
 
   / 3-point hitch not working #24  
The newer machines, 4610 and 4300 should have backhoe presence switches located on the rear of the machines on the right hand side (looking from rear) on the backhoe mounting frame. If these are not functioning correctly - the 3pt will not work.

Check the fuse, check the switch, check the wiring.

The 1050 may have a more "organic" problem.. I'm guessing that sambo has the older, model 8 hoe and the model 80 loader. I had the 8A hoe and the 80 loader on my 970. The power beyond circuit is as staightforward and the sun comin' up (always in the east). And the PB can only go - male connector to female.

I don't have a good guess regarding how a problem with the draft control might enter into the equation - but JerryG may have hit the nail..

Best of luck.

AKfish
 
   / 3-point hitch not working #25  
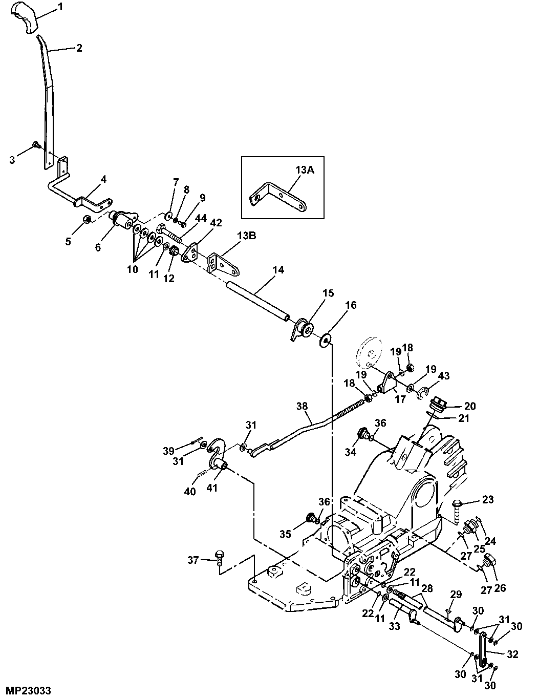
Can someone point me exactly to where the 1) rockshaft position control and 2) the backhoe presence switch is on my 4300? These are the two ideas I have not checked yet on my dead rockshafts.
 
   / 3-point hitch not working #26  
I am 99.9% sure there is no switch's on the 4x00 series machines...

Diagram below of the rockshaft linkages:
 

Attachments

  • lever.gif
    lever.gif
    23.9 KB · Views: 1,497
   / 3-point hitch not working #27  
I am 99.9% sure there is no switch's on the 4x00 series machines...

Diagram below of the rockshaft linkages:

The 4x00 series machines used the model 47 and 48 hoes? With the early rockshaft attachment system? 3pt disabled with hoe - what type mechanism?

Ok, so the x10 series and the x20 series came out with the sensor switch... learn something new all the time.

Thanks.

AKfish
 
   / 3-point hitch not working #28  
I am 99.9% sure there is no switch's on the 4x00 series machines...

Diagram below of the rockshaft linkages:

I have never seen that switch on mine.

Kennyd,

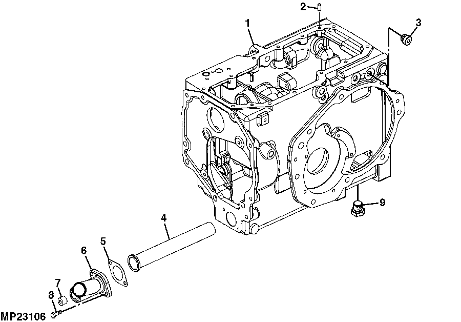
Do you know anything about that "oil suction screen"

It says in the manual, that if it gets clogged the 3-point hitch won't work.
 
   / 3-point hitch not working #29  
I have never seen that switch on mine.

Kennyd,

Do you know anything about that "oil suction screen"

It says in the manual, that if it gets clogged the 3-point hitch won't work.

That's the main screen in the bottom of the sump (#4 in the diagram)...if it's clogged then the loader would not work either-and the tranny would be having issues as well.


This is a simple problem...I just know it is!
 

Attachments

  • MP23106________UN13JUN00.gif
    MP23106________UN13JUN00.gif
    15.4 KB · Views: 287
   / 3-point hitch not working #30  
The 4x00 series machines used the model 47 and 48 hoes? With the early rockshaft attachment system? 3pt disabled with hoe - what type mechanism?

Ok, so the x10 series and the x20 series came out with the sensor switch... learn something new all the time.

Thanks.

AKfish

The 3PH is disabled by plugged the return line from the BH into a different coupler that bypasses the 3PH-I explained this in the above posts and included pictures.

There is very little electronics on a 4x00 machine, hence the need to bypass the 3PH by other means.
 

Tractor & Equipment Auctions

2019 John Deere 410E 40 Ton Articulated Off-Road T/A Dump Truck (A55787)
2019 John Deere...
2016 Peterbilt 320 T/A EZ-Pack Front Loader Garbage Truck (A51692)
2016 Peterbilt 320...
Blue Concrete Test Shed (A52377)
Blue Concrete Test...
2013 International TerraStar Enclosed Service Truck with Liftgate (A55788)
2013 International...
Miller Spectrum 500 DC Plasma Cutting System (A54811)
Miller Spectrum...
2013 Cadillac SRX SUV (A53424)
2013 Cadillac SRX...
 
Top