3-Point Hitch 3-point hitch not working

/ 3-point hitch not working #21  
Check to see if the rockshaft rate of drop knob is screwed all the way in. That will stop it from raising
 
/ 3-point hitch not working #22  
OK, thank you for all for the suggestions. I have now :

1. added the proper JD hydraulic oil to get the correct level (it was a little low) . Thanks JD4300 ,I found the sight glass

2. Checked and opertated the rate of rise/drop valve knob under the seat in all positions.

3. Rechecked all my hose connections. It is connected now identically to the way that "rully" in the thread shows in the picture for the hoe disconnected and the 3 point hitch to be operative. (loop out from the top connection back in to the bottom. This is actually the only way it can be connected since there is only one QD female on the tractor) Thanks, kennyd

4. I can tell that the arms are movable by hand (there is about 1/2 free play upward with the hoe attached)

Still it doesn't work. Not a sound, not anything.

If it is the suction screen, why would the FEL work really well? I'm baffled.
 
/ 3-point hitch not working #23  
Did you check the rockshaft control linkage? I would thnk you would hear something if fluid was applied and no movement was detected. If your hitch has position control it may be out of adjustment, just a guess.



Steve
 
/ 3-point hitch not working #24  
The newer machines, 4610 and 4300 should have backhoe presence switches located on the rear of the machines on the right hand side (looking from rear) on the backhoe mounting frame. If these are not functioning correctly - the 3pt will not work.

Check the fuse, check the switch, check the wiring.

The 1050 may have a more "organic" problem.. I'm guessing that sambo has the older, model 8 hoe and the model 80 loader. I had the 8A hoe and the 80 loader on my 970. The power beyond circuit is as staightforward and the sun comin' up (always in the east). And the PB can only go - male connector to female.

I don't have a good guess regarding how a problem with the draft control might enter into the equation - but JerryG may have hit the nail..

Best of luck.

AKfish
 
/ 3-point hitch not working #25  
Can someone point me exactly to where the 1) rockshaft position control and 2) the backhoe presence switch is on my 4300? These are the two ideas I have not checked yet on my dead rockshafts.
 
/ 3-point hitch not working #26  
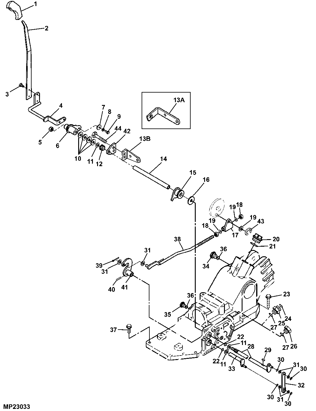
I am 99.9% sure there is no switch's on the 4x00 series machines...

Diagram below of the rockshaft linkages:
 

Attachments

  • lever.gif
    lever.gif
    23.9 KB · Views: 1,564
/ 3-point hitch not working #27  
I am 99.9% sure there is no switch's on the 4x00 series machines...

Diagram below of the rockshaft linkages:

The 4x00 series machines used the model 47 and 48 hoes? With the early rockshaft attachment system? 3pt disabled with hoe - what type mechanism?

Ok, so the x10 series and the x20 series came out with the sensor switch... learn something new all the time.

Thanks.

AKfish
 
/ 3-point hitch not working #28  
I am 99.9% sure there is no switch's on the 4x00 series machines...

Diagram below of the rockshaft linkages:

I have never seen that switch on mine.

Kennyd,

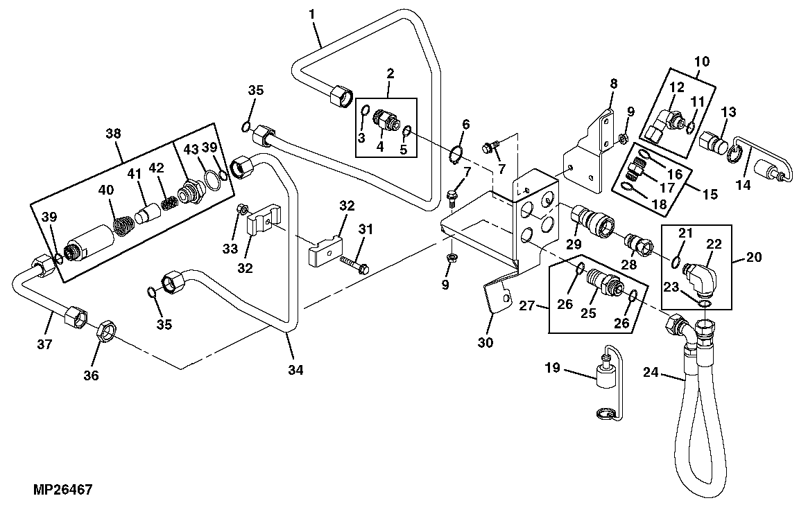
Do you know anything about that "oil suction screen"

It says in the manual, that if it gets clogged the 3-point hitch won't work.
 
/ 3-point hitch not working #29  
I have never seen that switch on mine.

Kennyd,

Do you know anything about that "oil suction screen"

It says in the manual, that if it gets clogged the 3-point hitch won't work.

That's the main screen in the bottom of the sump (#4 in the diagram)...if it's clogged then the loader would not work either-and the tranny would be having issues as well.


This is a simple problem...I just know it is!
 

Attachments

  • MP23106________UN13JUN00.gif
    MP23106________UN13JUN00.gif
    15.4 KB · Views: 313
/ 3-point hitch not working #30  
The 4x00 series machines used the model 47 and 48 hoes? With the early rockshaft attachment system? 3pt disabled with hoe - what type mechanism?

Ok, so the x10 series and the x20 series came out with the sensor switch... learn something new all the time.

Thanks.

AKfish

The 3PH is disabled by plugged the return line from the BH into a different coupler that bypasses the 3PH-I explained this in the above posts and included pictures.

There is very little electronics on a 4x00 machine, hence the need to bypass the 3PH by other means.
 
/ 3-point hitch not working #31  
That's the main screen in the bottom of the sump (#4 in the diagram)...if it's clogged then the loader would not work either-and the tranny would be having issues as well.


This is a simple problem...I just know it is!

The manual is showing a "rockshaft control valve filter"

Note: If changes in the operation of the 3-point hitch lift capacity are detected or the rockshaft control valve should begin to react slowly, erratic or fail to cycle properly, performance of this service procedure may be required.

Its showing in a picture to take the seat and the whole platform out, to get to the "Rockshaft Control Valve Filter"

:confused:
 
/ 3-point hitch not working #32  
I am now confident that all the hoses are connected properly. Kennyd is correct that the 3PH is bypassed hydraulically when the BH is attached, because the backhoe fluid goes to a return directly to the sump. When the BH is removed, the the return is connected to a line that goes somewhere under the seat and presumably to the 3PH valve. Mine is now and has been connected correctly since I started reporting here. I rechecked all connections

Last night I removed the return connection at the Power Beyond to check flow. I had great flow of the fluid, so no clog in the flexible lines to that point. Tonight I will try JD4300's idea that there is a filter at the point that the solid return line enters under the seat assembly.

BTY yesterday I called the service department at the local dealer to see if I could get some free technical advice. Let's just say that you guys are miles ahead in terms of specifics and helpfulness! I'm not giving up yet.
 
/ 3-point hitch not working #33  
The manual is showing a "rockshaft control valve filter"

Note: If changes in the operation of the 3-point hitch lift capacity are detected or the rockshaft control valve should begin to react slowly, erratic or fail to cycle properly, performance of this service procedure may be required.

Its showing in a picture to take the seat and the whole platform out, to get to the "Rockshaft Control Valve Filter"

:confused:

Are you looking at the Parts Manual , or Service Manual? I only have the simpler Operator's Manual. Also, since you and I have the same machine, what year did you buy it? I have a late 4300, purchased in March 2001. Some of my minor features do not exactly match those pitures in the Operators Manual, like the SCV lockout mechanism, etc.
 
/ 3-point hitch not working #34  
I only have the simpler Operator's Manual. Also, since you and I have the same machine, what year did you buy it? I have a late 4300, purchased in March 2001.

That is what I'm looking in_"Operator's Manual"__On page 66 & 67 "Checking the rockshaft control valve filter."

Mine is a 01 model...(these manuals are a joke,) and they are not all the same...Mine didn't tell about changing the wheels around for Width, But i found out on here that i could.

Like Kennyd said, it has to be a simple thing.

If your manual is the same look on that page 66 & 67__Or look in the index and look for" Rockshaft Control Valve Filter"___checking and cleaning.
 
/ 3-point hitch not working #35  
Having been around tractors for 45 years I would be very surprized if the rockshaft filter will be the problem. Normally you would get some movement even if it is slow and jerking with a filter problem. As I understand, you are not getting any change in movement or sounds. Also that is a fairly new tractor have you had any metal filings or other problems that would have caused this? If not I would keep looking.



Steve
 
/ 3-point hitch not working #37  
OK, I have finally diagnosed the problem, but I have not fixed it yet. The problem was the limit control. (position control?) I removed the entire seat assembly. I could then see the two shafts coming out of the rockshaft area of the transmission , the higher shaft is the lever linkage and below it, the limit control shaft. I assume that this limit shaft is some sort of overflow valve that tells the rockshaft valve not to operate when it hits the limit point. So when the dealer installed my 447 BH two years ago, he failed to readjust the limit control. So the 3PH position with the BH mechanically mounted on the tractor was beyond the limit point, so no movement at all. I had to disconnect the limit linkage and move it by hand PRESTO!!! the rockshaft came to life! Now I am really annoyed because the nuts that require adjusting on the limit control linkage will require some fancy side load wrenches becasue it is really tight working in there. It got dark and I could not work on it any more tonight, but thanks you all for all of the ideas. I would not have had the patience without the daily help and ideas.

Kennyd, do you have the diagram of the limit control linkage? It is really hard to tell whether some of the threaded areas are seperate links or one piece, I'll need to figure it out to make the adjustment.
 
/ 3-point hitch not working #38  
Glad that worked out for you with no major expenses. I mentioned the linkage and position control because the old 20 series used to have similar issues years ago. Generally speaking when you have a flow restriction in a hydraulic line it is readily apparent, and will be noisy.



Steve
 
/ 3-point hitch not working #39  
Kennyd, do you have the diagram of the limit control linkage? It is really hard to tell whether some of the threaded areas are seperate links or one piece, I'll need to figure it out to make the adjustment.

The one I posted in post #26 should be the one you need...if not I will dig deeper later when I get home.

PS. I get them from www.jdparts.com, you can get them also for free...you just need to think like a parts guy;)
 
/ 3-point hitch not working #40  
Hope you finally got it fixed.
 

Marketplace Items

2014 MAC FLAMELESS HEATER (A68842)
2014 MAC FLAMELESS...
2004 (INOPERABLE) INTERNATIONAL TRANSTAR 8600 (A67714)
2004 (INOPERABLE)...
2017 Autocar Xpeditor T/A New Way 31ASL 31yd. Side Loader Garbage Truck (A66736)
2017 Autocar...
2015 Ford F-150 Ext. Cab Pickup Truck (A66736)
2015 Ford F-150...
2025 Kivel 48in Forks and Frame Skid Steer Attachment (A66734)
2025 Kivel 48in...
New Quick Attach Hay Spear (A65563)
New Quick Attach...
 
Top