Tight rockshaft on 4400

/ Tight rockshaft on 4400 #1  

cerescobra

Member
Joined
Mar 19, 2008
Messages
25
My friend is experiencing difficulty in moving the rockshaft to raise/lower the 3 point hitch. He also feels it is not moving it's full travel. Any experience with this problem? We have removed the housing around the hydraulic valve, but haven't pinpointed a problem yet. It is just takes alot of force to operate the rockshaft.

Thanks,

Chuck
 
/ Tight rockshaft on 4400 #2  
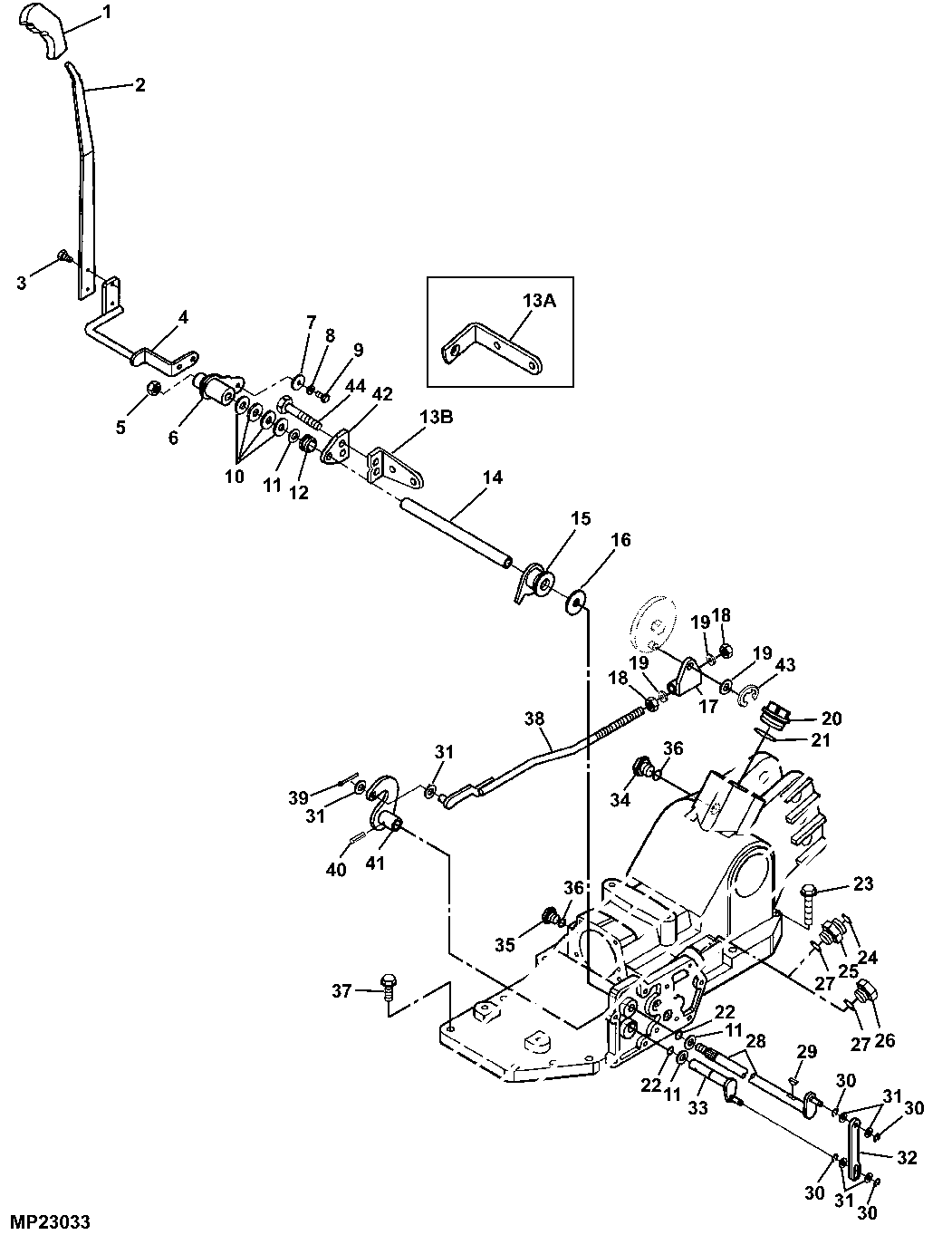
There are several pivot points that need lubrication, as well as friction washers (#10) that can be adjusted.
 

Attachments

  • 4400.gif
    4400.gif
    23.9 KB · Views: 2,441
/ Tight rockshaft on 4400
  • Thread Starter
#3  
Thanks Kenny. We've taken all the washers and levers off the shaft and it is still tight, suggesting it's something in the linkage or the hydraulic valve we're guessing.

Chuck
 
/ Tight rockshaft on 4400
  • Thread Starter
#4  
Problem solved. After removing the control valve cover, we found the rockshaft was very tight in it's bushing. So applied several hits of WD40, rotated it repeatedly, and it now works like new. Not sure why it bound up, but it was an easy fix.

Thanks for your support!

Chuck
 
 
Top