I am sending a snail letter to Chang Gue (C.G.) Kim, president of Kioti/Daedong. I can't accept this.
By the way, after doing all this I decided to replace the filters in my CK30. Can anyone with a CK30 confirm that there is indeed a spring under the fuel filter as shown in the service manual (See enclosed picture. Can't see there would be space for it.
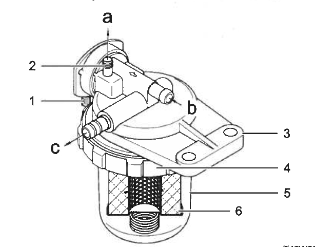
By the way, after doing all this I decided to replace the filters in my CK30. Can anyone with a CK30 confirm that there is indeed a spring under the fuel filter as shown in the service manual (See enclosed picture. Can't see there would be space for it.
