Help Interpreting Wiring Diagram & Using Multimeter

/ Help Interpreting Wiring Diagram & Using Multimeter
  • Thread Starter
#81  
Question comes to mind......Can there be a short within the Solenoid ? Output from X5 Harness side has 12V on both 658 Grn/Wht & 651 Wht/Blu (3 seconds). HOWEVER as soon I connect Solenoid to Jumpers that action negates the Pull in Coil (651 Wht/Blu), no voltage.
 
/ Help Interpreting Wiring Diagram & Using Multimeter
  • Thread Starter
#82  
dieselcrawler, Questions if the Y2 Fuel Shutoff Solenoid has been proven GOOD. The 12V input is coming in over the harness for both the "Pull In Coil" (12V, 3 seconds) and "Hold In Coil" (constant 12V) simultaneously when ignition in RUN Position. If ground was an issue I would think (??) the Solenoid should Retract/Hold after I connect Solenoid to both 658 Grn/Wht & 651 Wht/Blu then use a separate jumper directly to battery negative terminal for BLK termination. Still didn't work in that lash-up, as explained above the "Pull in Coil" voltage coming in on the Harness is not found once connected to the solenoid.
 
Last edited:
/ Help Interpreting Wiring Diagram & Using Multimeter #83  
Is there one of these yellow things behind the panel on your tractor. If there is change it. Five dollar item.

[video]https://www.google.ca/search?q=thermistor+jd&client=safari&hl=en-ca&prmd=ivsn&source=lnms&tbm=isch&sa=X&ved=0ahUKEwjZmqy-8OfPAhUZ3YMKHWpKBGgQ_AUIBygB&biw=1024&bih=681#imgdii=fqlPEE2DlwnqMM%3A%3BnpGvRhOHwaPi8M% 3A%3BnpGvRhOHwaPi8M%3A&imgrc=npGvRhOHwaPi8M%3A[/video]

[video]http://www.greenpartstore.com/John-Deere-Thermistor--LVU10323_p_23272.html[/video]
 
/ Help Interpreting Wiring Diagram & Using Multimeter
  • Thread Starter
#84  
Is there one of these yellow things behind the panel on your tractor. If there is change it.

Egon, Thanks for the post..... Read about the John Deere Thermistor - PN: LVU10323 last month when initially investigating non-starting symptoms. Performing a "Where Used" Search for that Part Number within the John Deere Parts Catalog identifies usage in Tractor Models: 4200, 4300, 4400, 4500, 4600, 4700 and not in my Model 790 CUT.
 
/ Help Interpreting Wiring Diagram & Using Multimeter #85  
Question comes to mind......Can there be a short within the Solenoid ? Output from X5 Harness side has 12V on both 658 Grn/Wht & 651 Wht/Blu (3 seconds). HOWEVER as soon I connect Solenoid to Jumpers that action negates the Pull in Coil (651 Wht/Blu), no voltage.

If there was a short you would blow a fuse, or melt a wire if no fuse in the circuit. I doubt there is a short.
 
/ Help Interpreting Wiring Diagram & Using Multimeter #86  
I think you have narrowed it down to either the K2 FR (Fuel Relay), or the TDM (Time Delay Module).

It sounds like the K2 Fuel Relay is not maintaining voltage to the white/blue wire. This could be a bad K2 FR or TDM
The Green/White wire comes from the Time Delay module and goes to BOTH the K2 Fuel relay's coil AND to the Fuel Shut Off Solenoid. The TDM also provides the ground to the K2 FR coil.

You could swap in a new relay for K2 FR, or swap K1 Start Relay from the tractor.
You could check the wiring to/from K2 relay.
K2 relay will have 4 wires:
1) Lt Green 658
2)White/Black 451
3)Green/White 655
4)White/Blue 650

1) Lt Green 658, is the relay coil ground. The TDM grounds this wire to activate the relay.
2) White/Black 451, is 12volts from the ignition switch (KEY Switch) it will have 12 volts, Key in RUN. Use your meter and check for 12 volts
3) Green/White 655 is same as Green/White 658 to Shut Off Solenoid. (Number changes because of a splice) Use your meter to check for Continuity (Meter on OHMS) White/Green at X5 connector to terminal 3 White/Green wire at K2 FR
4) White/Blue 650 is same wire as White/Blue 651 to Shut Off Solenoid. Check it for continuity too.

The way to check the above two continuity checks is with the relay out and meter leads to the relay connector at the wire color indicated.

If the relay is OK, you have voltage to 2, continuity of 3 & 4 is OK, that only leaves the Lt Green wire. Either it is broken between the TDM and K2 FR or the TDM is NOT grounding it. You can check continuity from the 1 Lt Green wire at K2 FR and the Lt Green wire at X4 which is the connector to the TDM. If it has continuity, then the wire is not broken.

One last thing you could try (after trying all of above) is bypassing the TDM ground for K2 FR (1 Lt Green wire). To do this you need to attach a wire to the Lt green wire either at the K2 FR or X4 connector (try inserting a stripped wire into the back side of the connector) and ground the other end of this wire. If bypassing the ground function of the TDM fixes the problem replace it.
 
/ Help Interpreting Wiring Diagram & Using Multimeter
  • Thread Starter
#87  
Zebrafive,

I was getting a bit worried :worried: so I went ahead and ordered the 790 CUT Shop Technical Manual from JD this morning on CD, was surprised so cheap, only $52.00 to include shipping.

I really want to thank you :thumbsup: for your input to this thread, your initial step-by-step (spoon feeding me) voltage checks that has gotten me to the point of testing the Solenoid using dieselcrawler's jumpers. While performing those initial checks you recommended I want to mention an anomaly, my multimeter read approx 10 volts coming off the battery terminals after fully trickle charged and same 10 volt outputs in each step, my multimeter scale is pretty small so I was off a couple of volts.

Per dieselcrawler, when I simultaneously applied the direct voltage from the battery to both the solenoids RED, WHT and BLK grounded directly to the battery it appears the 10 volts was enough to retracted the plunger. I know I'm repeating myself but it appears you were able to wade thru my feedback and now the NEXT SET of very detailed checks you are providing :thumbsup: that I will perform tomorrow morning. THANK YOU AGAIN, will report back the results..............
 
Last edited:
/ Help Interpreting Wiring Diagram & Using Multimeter #88  
The tech manual on CD should be helpful. I bought one for x485 and had a print shop print it all and "drill" the pages for 3 ring binder. They said it had too many pages (almost 600) to spiral bind, which they also can do.
 
/ Help Interpreting Wiring Diagram & Using Multimeter
  • Thread Starter
#89  
I think you have narrowed it down to either the K2 FR (Fuel Relay), or the TDM (Time Delay Module). You could swap in a new relay for K2 FR, or swap K1 Start Relay from the tractor.

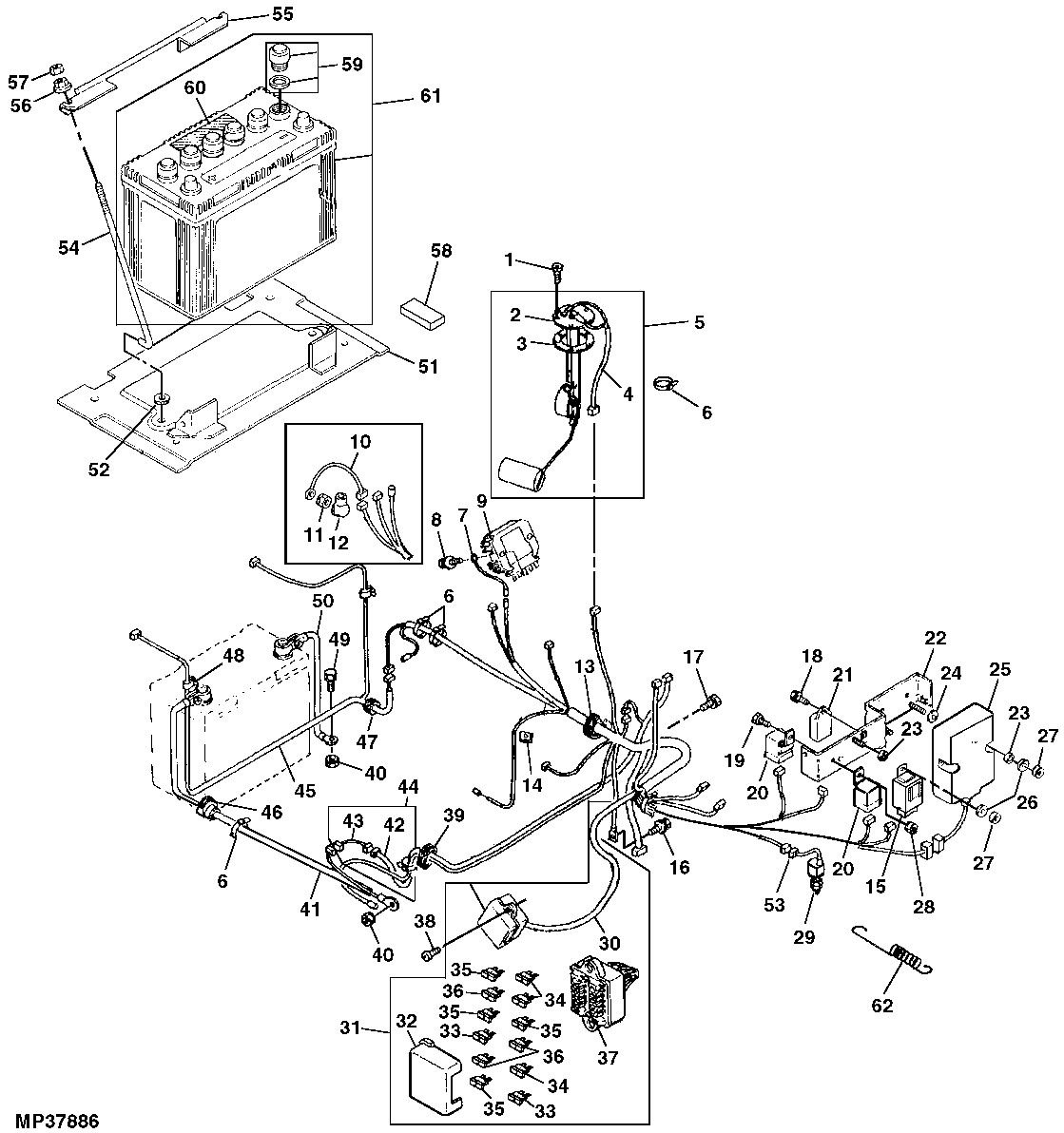
Good Morning Z5, Reviewing what you've written before heading out to the garage. Also, at the same time have my posted wiring diagram in-hand and now looking at the John Deer Parts Catalog to identify/locate the K2 Fuel Relay, K1 Start Relay and A1 Time Delay Control Module. I'm in the Parts Catalog Section 59 - Battery and Wiring Harness (790000-1) since my tractor is Serial Number LV0790G790056. I found the A1 Time Delay Control Module = M803344, the K1 Start Relay = M805280 but having a bit of trouble finding the K2 Fuel Relay, the only other relay I'm seeing is for the Flasher :reading:
 
/ Help Interpreting Wiring Diagram & Using Multimeter
  • Thread Starter
#90  
Progress for today - CRITTER STUFF !!!! Removed plastic shroud below Instrument Panel (PIC 7105) and found that cavity filled with Typical Rat Poison Green Granules, Straw, Bunches of chewed material looking like that ground insulation...... Anyway, vacuumed it out (PIC 7113) and that Oklahoma Clay where I purchased the 790 still abound but I can plainly see the A1 Time Delay Control Module to the UPPER right. No chew marks on wire or connectors at first glance (hope that thought remains after tomorrow), looks like the critter had a smorgasbord of things to munch-on instead. Tomorrow I'll have to sort out (tracing wire colors) to locate the K2 Fuel Relay, K1 Start Relay. I suspect they're above the opening, but then again maybe not..........:reading:
 

Attachments

  • IMG_7105.JPG
    IMG_7105.JPG
    1.8 MB · Views: 2,900
  • IMG_7113.JPG
    IMG_7113.JPG
    1.9 MB · Views: 488
/ Help Interpreting Wiring Diagram & Using Multimeter #91  
Sorry I havent been much help lately, I've barely kept up with reading the new progress posts, let alone think about and understand the details...

Glad you are keeping at it...
 
/ Help Interpreting Wiring Diagram & Using Multimeter
  • Thread Starter
#92  
Sorry I havent been much help lately...

dieselcrawler,

Don't think that at all, you and Zebrafive have given me the support :thumbsup: to go beyond my skill mix in trying to solve this issue which hopefully will be beneficial down the line for others with this same issue. :reading: Your combined technical assistance also helps me counter the local JD Shop's initial estimate (without even looking at the Tractor) = $ 250.00 pick-up/delivery + $70.00 shop hour (Meter Running). :greedy: As show in the attached PIC, my 790 died :censored: in the back of my garage facing forward with the FEL installed and down. When I got the initial estimate I asked: "Say, how ya gun-na get the tractor out of the garage with the FEL down & without damaging to my 2 years old slab?.. :scratchchin: a long pause then; "We'll have to adjust the pick-up fees to account for that" (Meter Running) :greedy: .... I figure worse case scenario I could replace everything (K1 Start Relay, K2 Fuel Relay. Y2 Fuel Shutoff Solenoid & A1 Time Delay Control Module for around $500.00. The only trick, to get in a contorted position and further investigate what's what while waiting for the shop Manual on CD + ID the mystery K2 Fuel Relay's PN from JD.....as I mentioned I didn't see it on the JD Catalog..........
 

Attachments

  • IMG_7115.JPG
    IMG_7115.JPG
    1.1 MB · Views: 146
/ Help Interpreting Wiring Diagram & Using Multimeter #93  
My guess is since parts shows TWO key 20 relays, one is starter, the other fuel. You might be able to ID them by their wire colors on their connectors.
 

Attachments

  • 790relays20.gif
    790relays20.gif
    36 KB · Views: 164
/ Help Interpreting Wiring Diagram & Using Multimeter #94  
Simple relays can be tested reasonably easy. Time delay could also be tested, but I'd have to look more closely at exactly how... Simple in theory, where to put power to the coil and where to measure with an ohm meter to determine proper operation is where the questions come into play.

Edit: swapping relays (starter with fuel, for example) would give you an easy test port...
 
/ Help Interpreting Wiring Diagram & Using Multimeter #95  
Want move the tractor pry up the bucket and slip a rope, cable, chain under it and attach to the front of the frame. When you pull the cable tightens and lifts the bucket.
 
/ Help Interpreting Wiring Diagram & Using Multimeter
  • Thread Starter
#96  
My guess is since parts shows TWO key 20 relays, one is starter, the other fuel. You might be able to ID them by their wire colors on their connectors.

Aaaa-Haaa, the old quantity of (2) with a general description in the RMKS routine........Wow, I'd say pretty sloppy for JD Engineers to have done that since they have differing functions (Start & Fuel) although the same PN = M805280. You'd think the REMARKS Column would shed some light, anyway..... Yes, I agree with you assessment, follow the wire colors......I should be able to swap both out rather easily at $32.80 a piece since I'm inside the critter den which looks to be rather tight and the one relay is on the back side of the Key 22 Bracket. I'll investigate tomorrow, will report out. Finally raining here..........
 
/ Help Interpreting Wiring Diagram & Using Multimeter
  • Thread Starter
#97  
Want move the tractor pry up the bucket and slip a rope, cable, chain under it and attach to the front of the frame. When you pull the cable tightens and lifts the bucket.

Egon, THANKS......Understood, rain forecasted for the next (3) Days and now that I'm on my way to resolving (With Z5's help and the Shop Manual coming) no need to move unless all else fails and JD has to pick up (Hope Not).............
 
/ Help Interpreting Wiring Diagram & Using Multimeter
  • Thread Starter
#98  
Simple relays can be tested reasonably easy. Time delay could also be tested, but I'd have to look more closely at exactly how... Simple in theory, where to put power to the coil and where to measure with an ohm meter to determine proper operation is where the questions come into play.

Edit: swapping relays (starter with fuel, for example) would give you an easy test port...

dieselcrawler,

I like the clean Plug & Play Approach by remove/replace (R/R) both the K1 Start and K2 Fuel Relay while I'm cleaning up the Critter Cavity then see what happens. Looking at the Wiring Diagram K1 Start Relay feeds A1 Time Delay Control Module that feeds back to the K2 Fuel Relay, all interconnected. $250.00 is my break even point before JD would even open the hood...........Guess I'll order those today from Green Parts store, probably arrive right around the shop Manual on CD.
 
/ Help Interpreting Wiring Diagram & Using Multimeter
  • Thread Starter
#99  
dieselcrawler, zebrafive,

Still waiting for the K1 Start and K2 Fuel Relays (slow shipping I guess)...........I've attached a PIC of the (2) Relays hanging front/rear & left in the opening. Now that I can see what's going on, looks to be a simple (yea right) remove/replace action. Zooming-in on the PIC appears the K1 Start Relay might be to the rear, I believe I see Wires 605 Blk/Red, 700 Blk/Wht, etc.

Noticed something a bit different after cleaning out the cavity, went back and took voltage measurements to the Solenoid still using Jumpers. The Pull-In measured 10V for 2 seconds then dropped to 6V steady, hadn't noticed that before, in the past read 10V for 2 seconds then dropped to zero. I'll check again today.

Zebrafive, what is the function of the Relay since I'm outside my knowledge space. Also, when I take voltage measurements on the Solenoid Pull-In wires, what's making the click noise associated with the voltage drop, the relay or the A1 Time Delay Module. It will be interesting to see if the new relays correct the issue or I'll be ordering that $213.00 A1 Module, still far better than the JD Dealership Meter Running.
 

Attachments

  • IMG_7121.JPG
    IMG_7121.JPG
    1.4 MB · Views: 187
/ Help Interpreting Wiring Diagram & Using Multimeter #100  
dieselcrawler, zebrafive,

Still waiting for the K1 Start and K2 Fuel Relays (slow shipping I guess)...........I've attached a PIC of the (2) Relays hanging front/rear & left in the opening. Now that I can see what's going on, looks to be a simple (yea right) remove/replace action. Zooming-in on the PIC appears the K1 Start Relay might be to the rear, I believe I see Wires 605 Blk/Red, 700 Blk/Wht, etc.

Noticed something a bit different after cleaning out the cavity, went back and took voltage measurements to the Solenoid still using Jumpers. The Pull-In measured 10V for 2 seconds then dropped to 6V steady, hadn't noticed that before, in the past read 10V for 2 seconds then dropped to zero. I'll check again today.

Zebrafive, what is the function of the Relay since I'm outside my knowledge space. Also, when I take voltage measurements on the Solenoid Pull-In wires, what's making the click noise associated with the voltage drop, the relay or the A1 Time Delay Module. It will be interesting to see if the new relays correct the issue or I'll be ordering that $213.00 A1 Module, still far better than the JD Dealership Meter Running.

The time delay module sends the initial pull in voltage to the FS, then the relay (when activated by TDM) continues to provide the voltage to the pull in coil of the FS. Voltage to the relay comes from the white/black 451 wire (Key in RUN) The TDM activates the relay with green/white 655 12 volts and lt green 658 which the TDM grounds.

I am not sure if the clicking is from the relay or TDM Possibly the voltage from the TDM is not enough to activate the relay? Hence it clicks?

You might try cleaning all the connector's terminals to the relay, FS, and TDM. Loose/corroded/dirty terminals could be causing a voltage drop.
 

Marketplace Items

2014 Ram 2500 4x4 Crew Cab Pickup Truck (A64194)
2014 Ram 2500 4x4...
2008 HEARTLAND RV CYCLONE 40 FOOT TOY HAULER (A59914)
2008 HEARTLAND RV...
2025 Intersate Fabrique 12' x 6' Dump Trailer (A62613)
2025 Intersate...
2007 INTERNATIONAL PAYSTAR 5600 Bucket Truck (A62679)
2007 INTERNATIONAL...
2007 FREIGHTLINER BUSINESS CLASS M2 SPREADER TRK (A64277)
2007 FREIGHTLINER...
New Carbon Steel 4.75-12T Shackles, 38 Total (A62679)
New Carbon Steel...
 
Top