Ym 1401d hard to steer

/ Ym 1401d hard to steer #1  

1971bmw2002

New member
Joined
Nov 12, 2025
Messages
22
Tractor
ym146
Any reason why my ym1401 d keeps binding up even when in 2wd I have already greased everything and it still sticks I have to put almost my whole body into the wheel just to turn sometimes
 
/ Ym 1401d hard to steer #2  
Could be in the steering gear box, or one of the four-wheel drive units. Might consider jacking up the front end and do some trouble shooting by turning with steering wheel and by hand just to see if you can pinpoint just where the problem is coming from. Is there much slack in the steering unit?
 
/ Ym 1401d hard to steer
  • Thread Starter
#3  
Could be in the steering gear box, or one of the four-wheel drive units. Might consider jacking up the front end and do some trouble shooting by turning with steering wheel and by hand just to see if you can pinpoint just where the problem is coming from. Is there much slack in the steering unit?
No, when the steering works it’s feather light and works perfectly I’ll barley move the steering wheel and they move.no play in the steering wheel
 
/ Ym 1401d hard to steer #4  
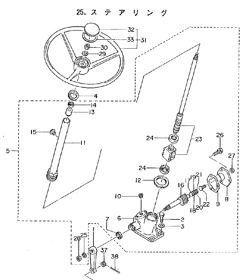
I suspect something in the steering box. Might be a crusty or something getting wedged in the ballnut or maybe the ballnut itself is just getting wore out and the balls are getting wedged. Once it starts turning does it steer easily after that (like it just works through a tough spot) or does it just stay hard to turn? Is it hard to steer in both directions?

Usually, if it is something binding in the 4wd knuckle, it will jerk the steering one way or the other. But, if it steers easily with the front end jacked up then it could possibly be something up there causing the problem too.

Have you serviced your steering box recently/ever?

Just be careful cranking too hard on the steering wheel or you can damage the steering box.


Aaron
 

Attachments

  • 1401.jpg
    1401.jpg
    374.7 KB · Views: 43
  • 1401-2.jpg
    1401-2.jpg
    210.4 KB · Views: 53
 
Top