3-Point Hitch twisting drawbar on 3 point hitch

/ twisting drawbar on 3 point hitch #1  

mregis

New member
Joined
Mar 19, 2010
Messages
2
Location
Tennessee
Tractor
JD 4210
When I try to move my small trailer around the yard,using the ball attached to the drawbar, it has the tendency to twist/roll around. How can this be preventend?

I have not figured how to send a photo!..Thenks
 
/ twisting drawbar on 3 point hitch #2  
That is a common problem - the drawbar just doesn't work for that application.

Fixes:
>There is a kit that attaches to the end of the bar and to the lift arm. The kit holds the bar in place.
>There are methods to attach the drawbar to the top link by a vertical shaft.

Do a search and you'll find lots of information. (First look at "Similar Threads" at the bottom of this page.)
 
/ twisting drawbar on 3 point hitch #3  
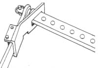
Drawbar lock:

draw_bar_lock.jpg

Top Links, Draw Bars, Draw Bar Locks, Lift Arms, Draw Bar Kits, Stabilizer Kits, Swinging Draw Bar Kits, Stabilizer Bars - SSB Tractor

Bruce
 
/ twisting drawbar on 3 point hitch #5  
I tried one of the store bought locks as pictured in post #3, but took it back because I couldn't get it to work right. YMMV!
Here is a picture of what I made for my Ford 8N. Cost to make was about $5. I no longer use it because I bought a KK trailer mover to use instead.

View attachment 336643
 
/ twisting drawbar on 3 point hitch #6  
You are also going to need stay strap or the chain the draw bar to keep it from going up.

I tried one of the store bought locks as pictured in post #3, but took it back because I couldn't get it to work right. YMMV!
Here is a picture of what I made for my Ford 8N. Cost to make was about $5. I no longer use it because I bought a KK trailer mover to use instead.

View attachment 336643

That is similar to how mine was made except mine bolted to the lift arm.
 
/ twisting drawbar on 3 point hitch #7  
You are also going to need stay strap or the chain the draw bar to keep it from going up.

What Roger said! ↑↑

I only use a chain or stay strap on my small trailer if I take it off level surfaces. I always use one or the other devices on my larger trailer. Using a safety device (all of the time) is probably a better practice to get into.

Oh, I almost forgot.... :welcome: to the forum mregis!
 
/ twisting drawbar on 3 point hitch #8  
I bought something very similar to this from a company that used to advertise on TBN:

Ballard Fabrication

Works great and build very well.
 
/ twisting drawbar on 3 point hitch #9  
Here is what I made to use on my Kuboa B7100 & Ford 8N. Works great as a trailer hitch, log skidder, & I have made gardening implements that use the same hook-up.004.JPG
 
/ twisting drawbar on 3 point hitch #11  
If you don't have a way to keep it from turning and pull hard with it this can happen.

20130708_213808_zps51165bf8.jpg


20130708_213844_zps4abd66a3.jpg
 
/ twisting drawbar on 3 point hitch #12  
Forget those systems that just stop the drawbar from spinning and get/make something that incorporates the whole 3pth. This way you can use a 2' receiver and insert whatever you need, a trailer ball, pulling hook, etc. And when you raise the 3pth the drawbar will stay level.
For trailer towing just make sure you follow the normal guidlines about keeping ample tonque weight so the 3pth doesn't try to jump up....
 
/ twisting drawbar on 3 point hitch #13  
Just keep in mind that the 3pt (most of them) have no down force, so a load shifting to the rear of the trailer can really complicate your day.
Think about tying the drawbar to the top link, as pat32rf suggests and also tying the toplink to the drawbar on the tractor's frame:

P2180003.JPG
 
 
Top