3-Point Hitch Operating 3PH with Power Beyond

/ Operating 3PH with Power Beyond #1  

LouieJunior

Platinum Member
Joined
Mar 17, 2012
Messages
500
Location
Moline, Illinois
Tractor
JD4052R Open Station
I just had my dealer add Power Beyond kit to my JD4105 CUT. It will be used to operate my 3-Point Log Splitter. (Previously, I hooked up hoses to my loader QDs and Bungee tied my joystick.)*

I hooked up the splitter and soon learned the 3-point hitch will not operate with the hoses connected. If I disconnect the hoses, the 3PH becomes functional again. Is this correct?
 
/ Operating 3PH with Power Beyond #2  
Yes it's correct, but: The PB kit is mainly designed for operating a backhoe and with that you don't want the 3PH active. There are two returns, one feeds the 3PH and is in the "loop" when nothing is attached, the other goes directly to the tank bypassing the 3PH and that is where you your splitter is connected now, so you need to change the QD's so it is plumbed inline with the 3PH.

I probably didnt explain that well?
 
/ Operating 3PH with Power Beyond #3  
Probably just need to re-plumb so that the PB circuit goes to the 3-pt. Normally the 3-pt would be the last item in the PB circuit.
 
/ Operating 3PH with Power Beyond #4  
Are there multiple ways to connect the Power Beyond? I have one on my 2320 I use for my 3 point splitter and it doesn't affect the 3 point operation. Mine is dealer installed also.
 
/ Operating 3PH with Power Beyond #5  
Head back to your dealer and ask that it be corrected.
 
/ Operating 3PH with Power Beyond #7  
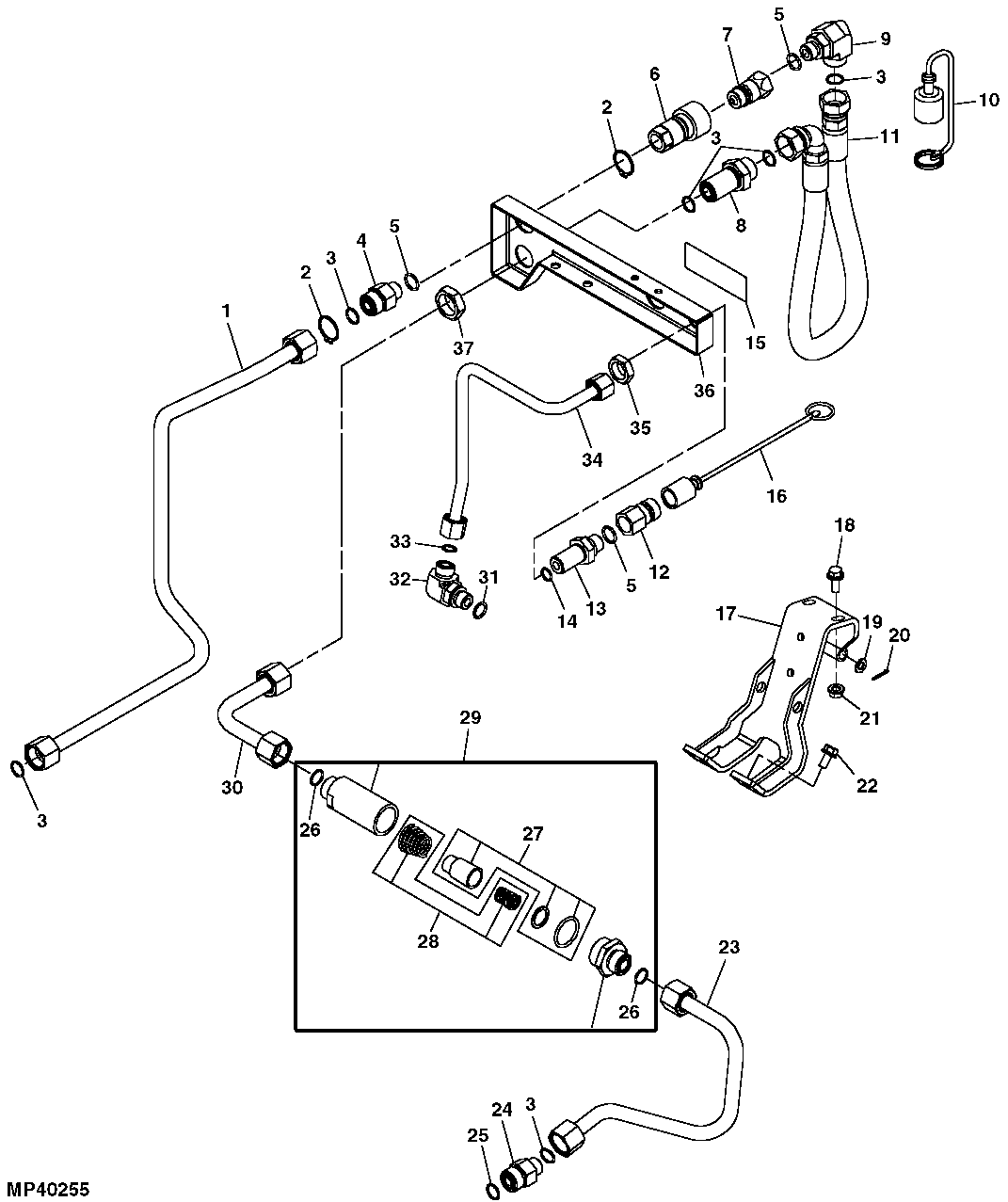
Now that I am at my PC, let me elaborate a little, take a look at this drawing from JDP:
4105.gif

For the 3PH to work, the splitter must be plumed into the "loop" that is connected when the backhoe is not plumbed. If the fluid is returned directly to the tank via fitting #12 than the 3PH will NOT work.


Key for above diagram:

Rear Auxiliary Hydraulic Kit ( - 410000)
Cart key PART NO. PART NAME QTY SERIAL NO. REMARKS
1 LVA13244 Oil Line 1 (SCV TO PBY)
2 M42702 Snap Ring 2
3 T77932 O-Ring 6
4 38H1317 Fitting 1
5 R26375 O-Ring 3
6 LVA13231 Hyd. Quick-Connect Coupler 1
7 AR94522 Hydr. Quick Coupler Plug 1
8 38H1286 Adapter Fitting 1
9 38H1405 Elbow Fitting 1
10 W42411 Cap 1 DUST (BLACK)
Cart key PART NO. PART NAME QTY SERIAL NO. REMARKS
11 LVA11075 Hydraulic Hose - Fabricate 1
12 AM105467 Hydr. Quick Coupler Plug 1
13 M135646 Union Fitting 1
14 T77857 O-Ring 1
15 LVU13905 Label 1 POWER BEYOND
16 W42990 Cap 1 DUST (BLACK)
17 LVA14008 Bracket 1 TOP LINK SUPPORT
18 19M7866 Bolt 2
19 24M7055 Washer 1 8.400 X 16 X 1.600 mm
20 11M7080 Cotter Pin 1 2.500 X 16 mm
Cart key PART NO. PART NAME QTY SERIAL NO. REMARKS
21 14M7298 Flange Nut 2 M8
22 19M7865 Bolt 2
23 LVA13201 Oil Line 1 (FILTER TO ROCKSHAFT)
24 38H5004 Adapter Fitting 1
25 51M7045 O-Ring 1 19.300 X 2.200 mm
26 T77932 O-Ring 2
27 LVA12344 Kit 1 FILTER ELEMENT
28 LVA12346 Kit 1 SPRING
29 LVA12302 Filter 1
30 LVA10758 Oil Line 1 (PBY TO RCV)
Cart key PART NO. PART NAME QTY SERIAL NO. REMARKS
31 51M7043 O-Ring 1 15.300 X 2.200 mm
32 38H5017 Elbow Fitting 1
33 T77857 O-Ring 1
34 LVA10778 Oil Line 1 (TO HYDRAULIC TANK)
35 T78716 Nut 1
36 LVU13293 Bracket 1
37 T80306 Nut 1
 
Last edited:
/ Operating 3PH with Power Beyond
  • Thread Starter
#10  
Now that I am at my PC, let me elaborate a little, take a look at this drawing from JDP:
<img src="http://www.tractorbynet.com/forums/files/john-deere-owning-operating/411107-operating-3ph-power-beyond-4105-gif"/>

For the 3PH to work, the splitter must be plumed into the "loop" that is connected when the backhoe is not plumbed. If the fluid is returned directly to the tank via fitting #12 than the 3PH will NOT work.

So, my splitter return flow needs to go into fitting 8 rather than 12 - making the same loop as the small hose used when the implement is not connected?
 
/ Operating 3PH with Power Beyond #11  
So, my splitter return flow needs to go into fitting 8 rather than 12 - making the same loop as the small hose used when the implement is not connected?

:thumbsup: Correct.
 
/ Operating 3PH with Power Beyond
  • Thread Starter
#12  
Thanks Kenny -- I will give this a try on Saturday and report back. Loosing my 3-Point with the Power Beyond seemed like an unnecessary trade-off. Also pleased I won't have to haul back to dealer for fix!
 
/ Operating 3PH with Power Beyond #13  
The standard log splitter valve should not be in the series loop that includes the 3pt, as the OUT port is not designed for high pressure. The OUT port is rated for about 500 or less psi.

Some people have done it and perhaps got away with it, however it is your choice.

This log splitter valve have PB and can be used in the series loop. Then everything in the loop will work.

You could also add a selector valve and use either the log splitter or the 3pt.

1/2" NPT 20 GPM PRINCE SELECTOR VALVE

1 SPOOL PRINCE AUTO CYCLE LOG SPLITTER VALVE W/PB

Max tank port pressure-150 PSI Prince LS-3000 log splitter valve.

So how does one get high back pressure ? Just raise the 3pt until the relief activates and the 2500 psi is in the OUT port of the log slitter valve.
 
Last edited:
/ Operating 3PH with Power Beyond
  • Thread Starter
#14  
Thanks J_J,

I will heed your warning. Curious, though, would hooking-up as described above likely damage the tractor -- or the existing splitter valve? If the splitter valve is all that is at risk, I might proceed and replace the valve with your recommended one, if necessary.
 

Marketplace Items

PORTA POTTY (A67714)
PORTA POTTY (A67714)
Has compression. Unknown operating condition. (A64553)
Has compression...
2019 VOLVO DUMP TRUCK (A67714)
2019 VOLVO DUMP...
2018 GENERAC MOBILE PRODUCTS MLT6S (A68842)
2018 GENERAC...
Unused 2021 NM 2HD-18 18in. Bucket w/ Teeth Excavator Attachment (A66734)
Unused 2021 NM...
2000 FREIGHTLINER CENTURY CLASS 6X4 T/A SLEEPER TRUCK TRACTOR (A59914)
2000 FREIGHTLINER...
 
Top