My snow plow FLOAT doesn't float!

/ My snow plow FLOAT doesn't float! #1  

jymbee

Platinum Member
Joined
Sep 20, 2011
Messages
642
Location
Upstate, NY
Tractor
Massey 1652, 1949 Farmall H
I have a JD 748 with snow plow. Given I have some areas of uneven, gravel ground the float setting for the plow works well. Helps prevent digging in on those uneven spots. However around the end of last snow season the float wasn't working. Push the level all the way in to activate the float, and the plow would just dip a bit but not work as it should.

I expect to try and deal with this when I install the plow this season and am wondering if there's some kind of adjustment or mechanism I should be looking at to get the float back?
 
/ My snow plow FLOAT doesn't float! #2  
the float mechanism can act up, mine on my X585 is not working now either.
First thing, are you confident all hoses are in the right places?
Are you saying the lift lever does not stay in the detent? and it just
clicks back to the normal position? That's what mine is doing now also.
it's not a hard fix if that's what is happening.
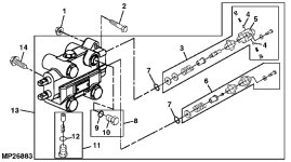
down on the valve, (adjacent to where your hoses plug in) you can see the spool valves and
with a little investigation you can determine which one is the lift lever spool, as it has a different
cap on the valve, extends out to hold the spring/ball mechanism. What happens, is for some reason
that spring/ball mechanism doesn't hold as it should. You can try a few things to fix, or buy a new cap
that includes that spring/ball parts. I am going to attempt to stretch my spring first, to see if it helps hold
the float. I think i have also used a small washer as a spacer to accomplish a similar result. Here's a picture
of that kit, pay attention to the balls and spring in item #3:
 

Attachments

  • float.jpg
    float.jpg
    122.4 KB · Views: 1,315
/ My snow plow FLOAT doesn't float! #3  
A little lube on your balls (the detent ones in the cap) will work wonders. I like to use Fluid Film for most thing like this since it last much longer than ant other solvent based spray. You can also fill the cap with a lightweight grease.
 
/ My snow plow FLOAT doesn't float! #4  
A little lube on your balls (the detent ones in the cap) will work wonders. I like to use Fluid Film for most thing like this since it last much longer than ant other solvent based spray. You can also fill the cap with a lightweight grease.

k-y jelly is solvent free
never mind
 
/ My snow plow FLOAT doesn't float! #5  
My JD 2320 takes a very firm snap forward to engauge the float.
maybe mine is not broke in yet or it could use a bit of lubrication also.
 
/ My snow plow FLOAT doesn't float!
  • Thread Starter
#6  
Great into Dutch-- thanks much. As I haven't had the plow on yet this season (which IMO is a GOOD thing!) I'm trying to remember exactly what the symptoms were when it started acting up last winter. I do know the hoses are in the right place as I've used this plow for many years (formerly on my 425) but I do think the issue was not staying in the detent position as you describe.

I'll take a closer look this weekend and the illustration you provided will help a lot.

Thanks again...


the float mechanism can act up, mine on my X585 is not working now either.
First thing, are you confident all hoses are in the right places?
Are you saying the lift lever does not stay in the detent? and it just
clicks back to the normal position? That's what mine is doing now also.
it's not a hard fix if that's what is happening.
down on the valve, (adjacent to where your hoses plug in) you can see the spool valves and
with a little investigation you can determine which one is the lift lever spool, as it has a different
cap on the valve, extends out to hold the spring/ball mechanism. What happens, is for some reason
that spring/ball mechanism doesn't hold as it should. You can try a few things to fix, or buy a new cap
that includes that spring/ball parts. I am going to attempt to stretch my spring first, to see if it helps hold
the float. I think i have also used a small washer as a spacer to accomplish a similar result. Here's a picture
of that kit, pay attention to the balls and spring in item #3:
 
/ My snow plow FLOAT doesn't float! #7  
A little lube on your balls (the detent ones in the cap) will work wonders. I like to use Fluid Film for most thing like this since it last much longer than ant other solvent based spray. You can also fill the cap with a lightweight grease.

I tried that.... how do you deal with the burning and itching? A few years ago,I had to replace the cap/small parts on my X748 as Dutch suggested. In my case, the cap had a casting defect and allowed water in and corroded my balls, and hardened the grease. I tried cleaning it all up, but my balls were never the same. The parts were pretty cheap and easy to replace.
 
/ My snow plow FLOAT doesn't float! #8  
mine was doing the same thing.i went out this morning and took the caps off holding the ball in and neither ball came out so off with cap cleaned the cap up and balls put the cap back on put some fluid film on the balls and put them in tightened the caps down and checked it and it work perfect.did it from start to finish in abound 15min.
 
/ My snow plow FLOAT doesn't float! #9  
great job smithrngr, it isn't all that hard of a repair, and even just a good cleaning/lube is all it could need.
 
 
Top