Pretty proud of myself today. I fixed the problem with the rockshaft going into relief AND the problem with the rockshaft not holding position which lets the rear implement drop after a while.
Anyway, if anyone cares or if this can help somebody else, here's what I did.
Basically I said the heck with it and just started taking things apart. I've been wanting to clean off some of the south Alabama red dirt that was caked on my tractor for a while now. I bought it used, well used, like they found it in a river used, last year. It migrated up to Indiana somehow.
I took off the seat and seat suspension when I got it, the suspension was broke so i got a new one to put on. I went to take the plastic seat panel off and couldn't figure out to get it over the range shifter knob. It looks like the orange cap just pops off but I was having trouble with it and didn't want to screw it up so I just left the seat panel on.
Today I checked JD parts and found out that the orange cap only costs about 3 bucks so I went for it. I took a screwdriver and lifted up the back of it and it popped right off. I don't know why it didn't do that last year. My next question was how to get the seat panel over the 3 PH knob. I looked at JD parts online and it looked like it just pulled off so I gave it a go. It was a little stubborn but it too slid off.
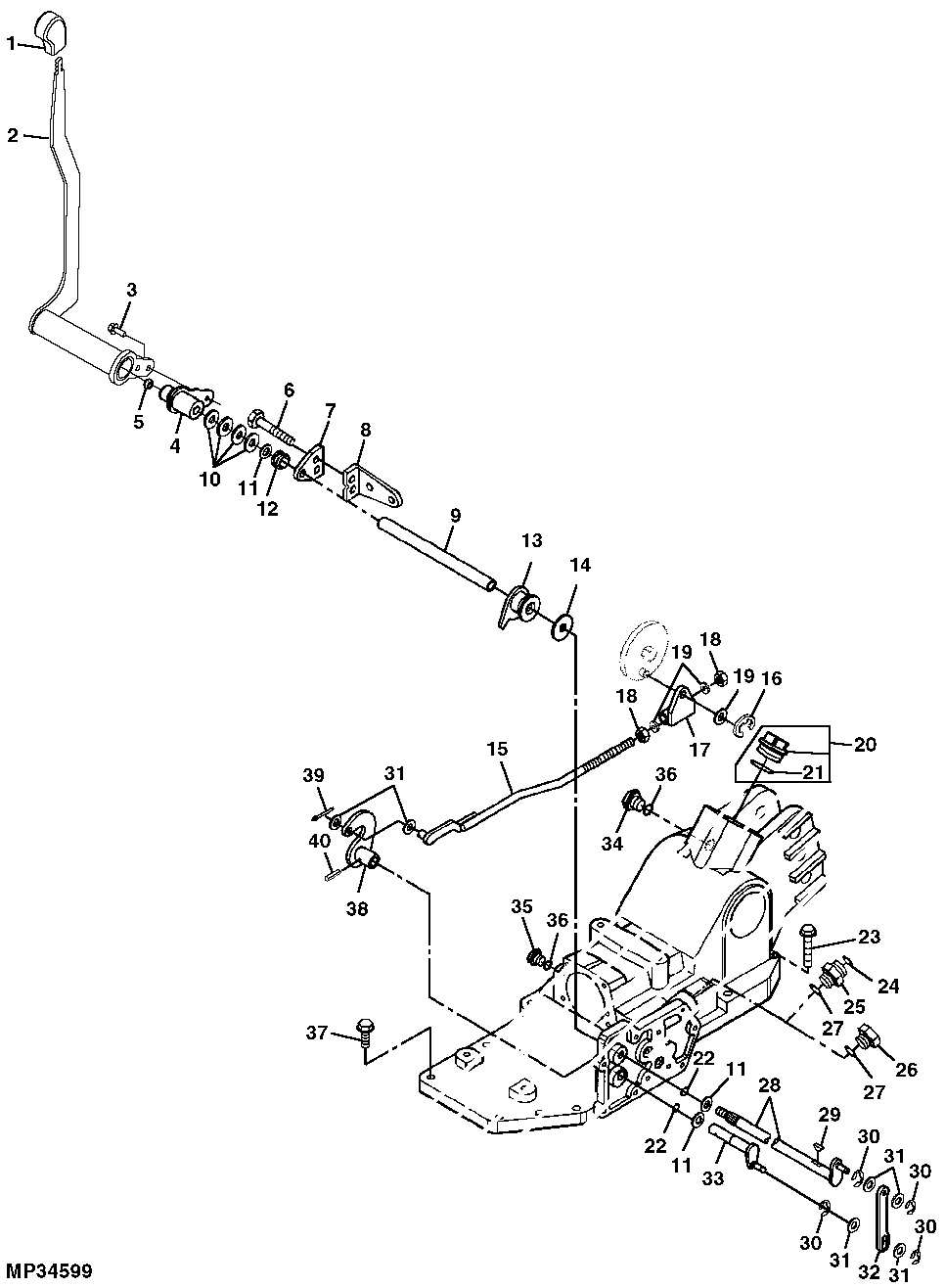
Once the seat panel came off I could get a good look at the 3 PH linkage. I saw that a roll pin (Part #40 in the pic) had almost completely came out of the hole in a lever that it was supposed to go into. It was just barely hanging on and thankfully it was still there or I may not have known that it was ever supposed to be there.
I tapped it back into place and that took care of the 3 PH going into relief.
I also wanted to see if I could tighten up the 3PH lever. My lever wasnt sloppy loose but I had a theory that it was slipping just a tad when I was driving which would let the lift arms go down. On my 850 there was a little nut that you could see plain as day that you tightened it up with, on the 4310 it's not so obvious. You have to take off the lever that you pull on (part #2) to get to the nut (part #5) that tightens it up. I did that and no more dropping down.
Here's the parts diagram from JD parts and a few other pics from the whole process.

