H2 or H3 hydrauliics

/ H2 or H3 hydrauliics #1  

larryd314

New member
Joined
Jan 25, 2014
Messages
22
Location
bella vista ar
Tractor
81 jd314 garden tractor
Has any one had any experience changing out a h1 system on a jd 314 from a jd316,317? My 314 has a h1 system and I need at least an h2 for my 314 to operate the angle part of my blade I recently bought

Any imfo would be appreciated.

Thanks

larryd314
 

Attachments

  • 059.JPG
    059.JPG
    78.1 KB · Views: 141
/ H2 or H3 hydrauliics #3  
The valves for 317 don't show to fit a 314 but I think they could be made to fit. I saw no H2 for any models you mentioned. I know the 140 had H1 & H2
 
/ H2 or H3 hydrauliics
  • Thread Starter
#5  
Tx Jim thanks for your imfo. I have seen a couple 314s with h2 but wasn't able to ask about them though. I did notice the control handles were a different style.

larrryd314
 
/ H2 or H3 hydrauliics #7  
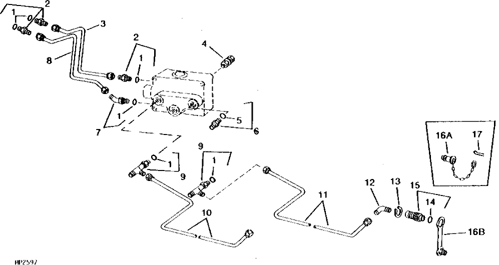
This parts photo for the hyd lines on a 314 is the only one listed in PC #1618 and as you can see the lines for frt/rear couplers are merely teed in to deck lift valve. I owned a 314 from '87 -'13 when I bought a zero-turn.
HTH's,Jim
 

Attachments

  • MP2597_________UN01JAN94.gif
    MP2597_________UN01JAN94.gif
    11.9 KB · Views: 120
 
Top