BX25 Harbor Freight Quick Hitch

/ BX25 Harbor Freight Quick Hitch #22  
I have looked all over for a set of shorter pins for mine and I can't find any shorter that 4 1/4 like you got. I think they will be some hard drilling. I have a spare set of 4 1/4 x7/8 pins I may use until I can find something else.
 
/ BX25 Harbor Freight Quick Hitch
  • Thread Starter
#23  
Here is a 4"
RED HANDLE HITCH PIN 7/8 X 4

Here is a 3.5" but a swivel mechanism, not a pin...
McMaster-Carr


Here is a plain Clevis pin, no handle, 7/8" Diameter w/ 2-5/8" Usable $5.04 EA
Mcmaster.com #98306A593

I wonder if the Land Pride QH-15 QH Comes w/ nice lower pins?
I guess I need to dig up a parts list, anyone have a parts list for
a Land Pride QH-15 QH?
 
/ BX25 Harbor Freight Quick Hitch
  • Thread Starter
#25  
Mitch I guess I wasn't clear. The KK Blade where I made those metal
bushings? Well those "Extend" the lower implement draw pins by about
2" each, w/o them the QH bottom hooks do not reach the Implement.
So they extend and bring up to size. I am not done w/ them and
I have not elaborated on them on purpose. I should get the
.5" x 1.5" roll pins I want for them today I would think. After
I do there will be a better explaination, but to answer your question
yes I have seen those and I am not thrilled about them, I have
seen them in all flavors/sizes I should say.

I ran into an interesting QH Top QC that has promise HERE.
Here is a pic of it;
g9c.jpg


That would stop the top from wanting to jump "almost" out.
I am not done thinking about that yet.

I also found a 7/8" x 3.5" plain pin but below it on the same
page there are some stop collars...HERE. (I am not sold on
that issue yet either. )
 
/ BX25 Harbor Freight Quick Hitch #26  
Here is a 4"
RED HANDLE HITCH PIN 7/8 X 4

Here is a 3.5" but a swivel mechanism, not a pin...
McMaster-Carr


Here is a plain Clevis pin, no handle, 7/8" Diameter w/ 2-5/8" Usable $5.04 EA
Mcmaster.com #98306A593

I wonder if the Land Pride QH-15 QH Comes w/ nice lower pins?
I guess I need to dig up a parts list, anyone have a parts list for
a Land Pride QH-15 QH?

I'll bet the John Deere QH has some nice lower pins. Not sure how you would find it on JDparts.com
 
/ BX25 Harbor Freight Quick Hitch #27  
Mitch I guess I wasn't clear. The KK Blade where I made those metal
bushings? Well those "Extend" the lower implement draw pins by about
2" each, w/o them the QH bottom hooks do not reach the Implement.
So they extend and bring up to size. I am not done w/ them and
I have not elaborated on them on purpose. I should get the
.5" x 1.5" roll pins I want for them today I would think. After
I do there will be a better explaination, but to answer your question
yes I have seen those and I am not thrilled about them, I have
seen them in all flavors/sizes I should say.

I ran into an interesting QH Top QC that has promise HERE.
Here is a pic of it;
g9c.jpg


That would stop the top from wanting to jump "almost" out.
I am not done thinking about that yet.

I also found a 7/8" x 3.5" plain pin but below it on the same
page there are some stop collars...HERE. (I am not sold on
that issue yet either. )

The pictured part is for a top link, implement end. It requires a ball on the implement top pin. Were you thinking of mounting it to the top of your QH and hinging it to drop down and hook up the top implement pin? Seems that would turn your QH into a SH (slow hitch)
 
/ BX25 Harbor Freight Quick Hitch #29  
/ BX25 Harbor Freight Quick Hitch #30  
Looking nice Artisan. I used the pins that are second from the top right in the link when I built my grapple. They were easy to cut to length and drill. I do not think these pins are hardened. My guess is they prefer them to bend instead of snap off, but that is just my not knowing guess. Keep up the great work.

Agri Supply - Search
 
/ BX25 Harbor Freight Quick Hitch #31  
Have you though of making the top link extension to bolted directly on top bolt of the HF QH hook and make sides long enough to flip over top to stay out of way to being in use? You will need to switch top bolt to a pin in bolt instead also.
 
/ BX25 Harbor Freight Quick Hitch
  • Thread Starter
#32  
Have you though of making the top link extension to bolted directly on top bolt of the HF QH hook and make sides long enough to flip over top to stay out of way to being in use? You will need to switch top bolt to a pin in bolt instead also.

I have read this 4 times bro...I just can't seem to get a grip of what
your trying to convey. A "keeper" ? As in a device to keep my
extension from coming out of the HF QH's hook? Is that what you mean?
 
/ BX25 Harbor Freight Quick Hitch #33  
Artisan, for you top link adapter could you, weld like a top on the adapter so it doesn't pivot up or down, here is a photo I took off a YouTube video "it's how to make a toplink adapter"
 

Attachments

  • image-601713365.jpg
    image-601713365.jpg
    301.8 KB · Views: 574
  • image-4044519462.jpg
    image-4044519462.jpg
    303.3 KB · Views: 498
/ BX25 Harbor Freight Quick Hitch
  • Thread Starter
#34  
Thanx for the input.., I am chewin' on ll of it.
I want to try to make it remain easy on and off.
I await some roll pins still, after I get them I will
test this and see what I see...
 
/ BX25 Harbor Freight Quick Hitch #35  
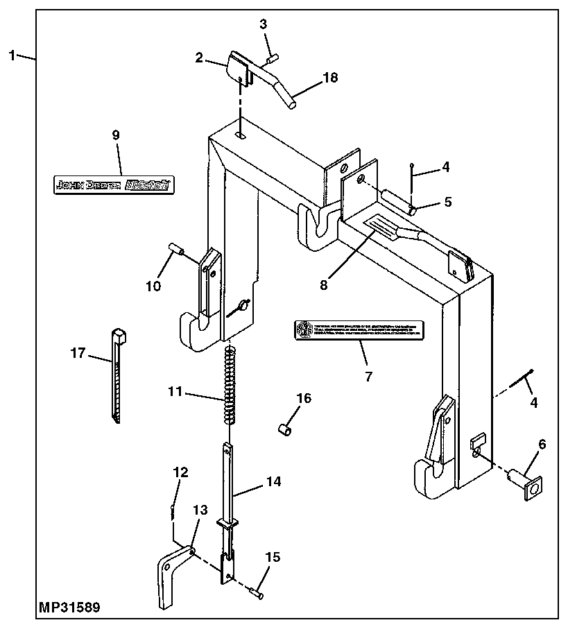
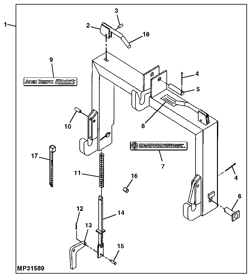
Here's the picture of a JD QH

View attachment 276496


Item 6 in the picture is what I think you're talking about.
Part #: PM9206
Description: Lower Link Pin

View attachment 276497

You can get the part numbers here https://jdparts.deere.com/partsmkt/document/english/pmac/5998_fb_Hitches_Quick.htm
and do a search on https://jdparts.deere.com

Price comes up as $6.83
Actually I was expecting the pin to be like the ones on my JD CAT 2 QH. The "flags" on the ends are drilled for a retaining bolt.
 

Attachments

  • JDCAT2QH.gif
    JDCAT2QH.gif
    19.7 KB · Views: 416
/ BX25 Harbor Freight Quick Hitch
  • Thread Starter
#36  
OK so the Lower Draw pins I got from TSC that are too long
indeed ARE easily drillable...

So to summarize the HF QH to KK 60" blade lower connections;

I made the extended bushings out of DOM Tube, then drilled them w/ .5" holes
for .5" SS Roll Pins, so the roll pins afix the extended bushings
to the KK lower pins NICELY! THEN, I cut two pieces of 1.5" Galvanized
Pipe and slide them over my extended bushings, then over the roll pins
as well. The pipe is so the blade is solid between the HF QH lower hooks,
they prevent side ot side movement, it is SOLID.



So here are the extended and drilled for roll pin bushing
I made from DOM Tube pre-paint ;

QH-Bushing.jpg


This pic shows the TSC pins drilled so as to hold the hairpins better.
They could be shortened as well, plus, you see my extended pin assembly.
All in all, the 2 lower pin mods, which are movable to other implements,
is VERY SOLID, and I think I am calling the lowers done;

QH-16.jpg
 
/ BX25 Harbor Freight Quick Hitch #37  
Nice problem solving. I knew where you were going with the DOM and roll pins, but not the pipe. Good idea. (that's code for I will use it too):D
 
/ BX25 Harbor Freight Quick Hitch
  • Thread Starter
#38  
I will come back to the top link situation on the KK blade.
I wanted to get to the gettin' on my new (used) tiller.

I picked up a Gearmore AS Series tiller. I bartered for it.
I installed a Shower Pan (like a tub actually)a Lowes plastic POS
and a three wall surround, along w/ supplied a valve and
misc parts, cored a conctrete wall for the waste and plumbed
it into the ladys drain field. I spend a lil over $400.00 on fuel
and parts and she supplied the shower and I gave her a first
class, clean, plumb and square to the world install. She got
a GREAT Barter, I did "ok", I say only OK because some yoyo
had "drywalled" the walls w/ HARDEE BACKER, AND did it BEFORE
the Shower unit! So I had to strip it out and and and...

The tiller is no where even close to a QH dimensions. I figured
out that if I bought a second set of lower draw pin holders for
the tiller and if I made some brackets to strap them to the
1.5" square cross bar that I could pull this off. It ended up being
simple actually. I got it all good to go then I realized I had the
tines centered on the wheelbase of the tractor and it was going
to leave maybe a 1.5" wheel mark so I loosened everything
all up and offset the tiller a tad to the right.

Additionally I took the slip clutch apart and inspected it, sure
enough it had grease and oil in it, got it all cherried out. This
tiller was one o fthe reasons I got a QH, reason being the Slip
Clutch PTO Shaft that came w/ the tiller was too long and I
calc'd that w/a a QH it would be perfect, and it was.

I did the same DOM Tube trick for bushings less roll pins.

I also smartened up and reamed all the holes on the HF QH's
upper hook and all it's mounting holes and installed Quick
Remove pins instead of bolts. It makes things WAY Easier...

QH-17.jpg


QH-18.jpg


QH-19.jpg
 
/ BX25 Harbor Freight Quick Hitch #39  
Artisan,

Any updates on this? Bought one of the QH, been patiently watching your progress! My own will be substantially less engineered, but I really enjoy seeing what you are able to do with the fabrication.
 
/ BX25 Harbor Freight Quick Hitch
  • Thread Starter
#40  
Steve I have no plans at this moment to do anything
else to it. If I had a dedicated tractor for a 3PH w/ this on it I am sure
I would make some vertical tubes, left and right for storage
of chains and tools etc. Another thought is a make a mounted
valve on the 3PH itself so a guy could just reach around
and use it for what he pleased, and just connect to the BH
hoses, maybe making a top and tilt kinda
deal. Maybe a cylinder or two on an implement etc.

I appreciate the kind words. If you are not aware of it, there
are a few other posts BX25 related that make good reading
that I started and many others interjected fine content to
as well.

These thre threads are approaching sixty thousand views;
(as I tip my hat in a gesture of thank you) :cowboy:





BX25 GrappleOmatic
BX25 Full Cage Roll Bar
BX25 Goodies
 

Marketplace Items

Club Car (A59231)
Club Car (A59231)
SRECO Flexible Sewer Cleaning System (A65579)
SRECO Flexible...
1995 Landoll 55 Ton Trailer (A60352)
1995 Landoll 55...
2007 PETERBILT 386 (A65643)
2007 PETERBILT 386...
2007 International 8600 Parts Truck (A63689)
2007 International...
2011 Nissan Murano SUV (A61574)
2011 Nissan Murano...
 
Top