Adding 62D mower to a 2320 advice needed please.

   / Adding 62D mower to a 2320 advice needed please. #11  
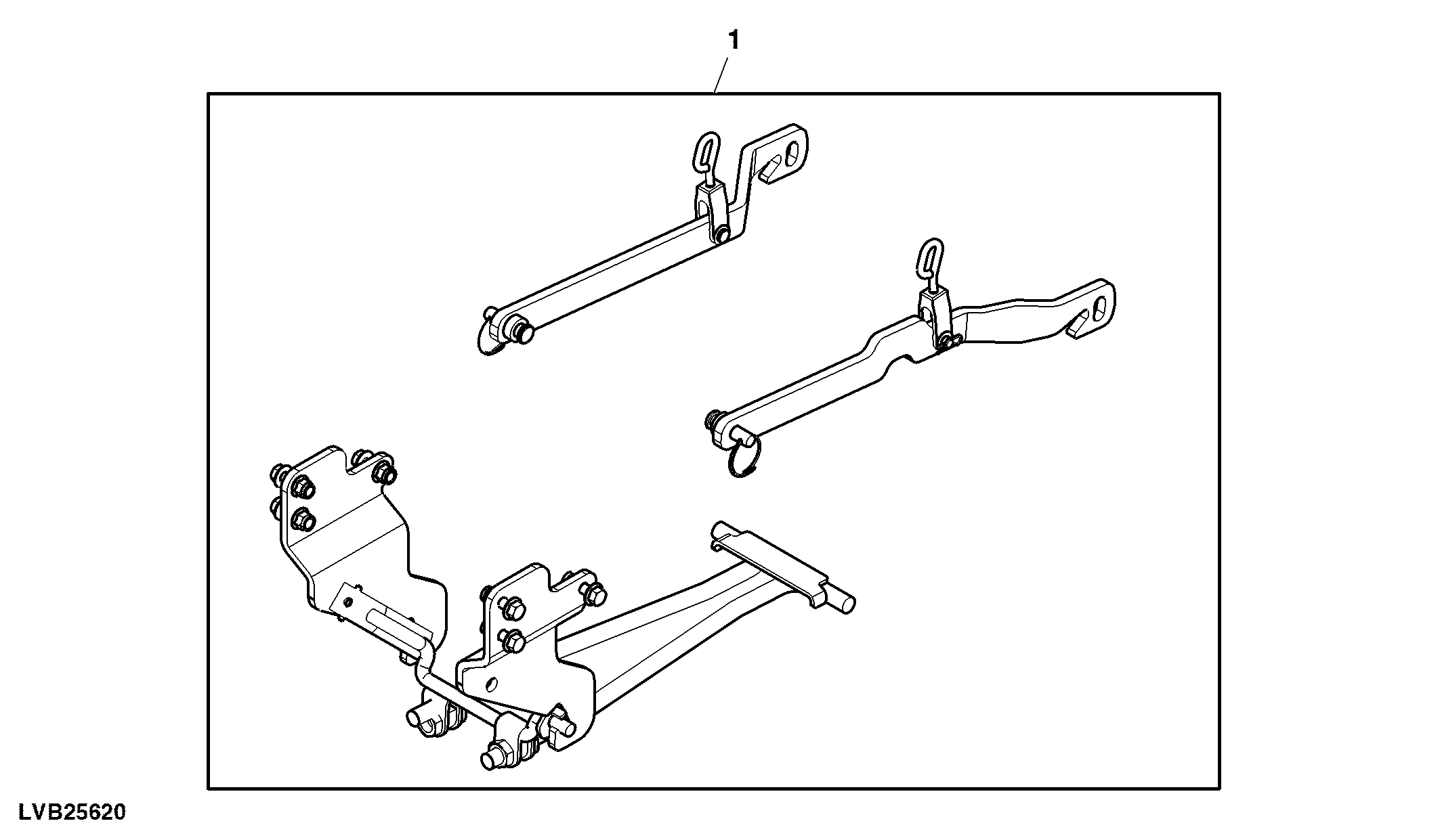
You'll also need this for attaching the front of the mower deck to the 2320. Front draft arms.

I may be mistaken but I believe that the front draft link which is also listed separately is included with the LVB25620 kit. This photo shows the entire kit:

62D1 attaching parts.gif
 
   / Adding 62D mower to a 2320 advice needed please.
  • Thread Starter
#12  
I may be mistaken but I believe that the front draft link which is also listed separately is included with the LVB25620 kit. This photo shows the entire kit:

View attachment 385154

This picture with the LVB25620 part number is very helpful, Thank You, I was wondering where that part number came into play.
 
   / Adding 62D mower to a 2320 advice needed please. #13  
I have a 2320 with a 62D mower with the mechanical setup. If you need any pics let me know and I can supply them. It is a really simple setup.
 
   / Adding 62D mower to a 2320 advice needed please. #14  
I just bought a used 62D2 for my 2520 and it came with the mechanical lift parts. I installed the lift, the deck, and was done in 3 hours. I took my time, and looked thru google images to find pics of the mechanical lift that I could zoom in on to see how and where the brackets went. It was super simple, but I know the 2320 mount is different. I was nervous installing it, so I went super slow and cautious. If you had a book or install guide, you could be done in a hour or so if you wanted to hurry. I just wanted to make sure I had everything right! I spent a lot of the time looking at pics online, so it took extra time, but in the end it works perfect and I'm soooo glad I bought it!

I bought a 2013 62D2 with about 5-10 hours on it for $1,300 including ALL the mechanical lift! :) My 2520 mows like crazy with it, but the JD blades are not the best. They have little lift, so they let stuff behind and the discharge plugs in really tall damp grass. I have Gator blades to try next!
 
   / Adding 62D mower to a 2320 advice needed please.
  • Thread Starter
#15  
I just bought a used 62D2 for my 2520 and it came with the mechanical lift parts. I installed the lift, the deck, and was done in 3 hours. I took my time, and looked thru google images to find pics of the mechanical lift that I could zoom in on to see how and where the brackets went. It was super simple, but I know the 2320 mount is different. I was nervous installing it, so I went super slow and cautious. If you had a book or install guide, you could be done in a hour or so if you wanted to hurry. I just wanted to make sure I had everything right! I spent a lot of the time looking at pics online, so it took extra time, but in the end it works perfect and I'm soooo glad I bought it!

I bought a 2013 62D2 with about 5-10 hours on it for $1,300 including ALL the mechanical lift! :) My 2520 mows like crazy with it, but the JD blades are not the best. They have little lift, so they let stuff behind and the discharge plugs in really tall damp grass. I have Gator blades to try next!

Awesome to hear Deadman, that exactly what I was looking for!
 
   / Adding 62D mower to a 2320 advice needed please. #16  
I did spend a half day cleaning the deck, and doing maintenance on it. I used a wire wheel on the bottom of the deck and then Painted it with POR-15. The factory didn't paint the bottom of the 62D for whatever reason.....
 
   / Adding 62D mower to a 2320 advice needed please. #17  
I wouldn't paint mine... shiny steel is what I like.. :)

Will be interested in your results.
 
   / Adding 62D mower to a 2320 advice needed please. #18  
There's a member on GTT that has a LVB25620 2320 Mower attaching parts kit for sale. It's new and unused and you'll need it if you pick up a 62D1 for your new 2320. He also has the LVB25630 Independent Lift Kit which would nice a nice option as well.

Do you know if its still available? I searched and couldn't find it.
 
   / Adding 62D mower to a 2320 advice needed please. #19  
Do you know if its still available? I searched and couldn't find it.

Yes. It's still posted in the Swap Meet Forums under "For Sale" on GTT / Green Tractor Talk. I believe you need to be a member to see it though.

Frank
 
   / Adding 62D mower to a 2320 advice needed please. #20  
Yes. It's still posted in the Swap Meet Forums under "For Sale" on GTT / Green Tractor Talk. I believe you need to be a member to see it though.

Frank

Thanks, I pm the guy this morning. I mistakenly bought a 62d2 version with all the attaching hardware. I hoping if I buy this kit I can see what I need to convert the deck over to a 62d1 version
 

Tractor & Equipment Auctions

Toro Sand Pro (A56859)
Toro Sand Pro (A56859)
DOOSAN 8000# PNEUMATIC FORKLIFT (A58216)
DOOSAN 8000#...
2002 TOYOTA 7FDKU40 FORKLIFT (A57880)
2002 TOYOTA...
2017 INTERNATIONAL PROSTAR+ (A58214)
2017 INTERNATIONAL...
KBH Tank Trailer (A56436)
KBH Tank Trailer...
Giyi Mini 39" 4-N-1 Bucket (A57149)
Giyi Mini 39"...
 
Top