62D for 2520 tractor

/ 62D for 2520 tractor #1  

yak651

Silver Member
Joined
Aug 3, 2005
Messages
100
Location
North East Wisconsin
Tractor
Case 530 (old!!)
Alright, i found a 62D deck that came off a 2520, with it he gave me the brackets but no manual. I looked online and was able to get some info off the JD site, it looks like I may be missing a bracket on the front that is bolted to the tractor. For those with this set up, can you confirm that there is a bracket that stays with the tractor when installing/removing the mower deck? If so, I'll have to see if he's willing to take that off for me.
Thanks.
 
/ 62D for 2520 tractor #2  
I have a 2520, with the 62D mower. There is a bracket attached to the front, that the front support arm from the mower hangs on. This bracket is not permanently fixed to the tractor, and is held on with hooks at the rear, and a long pin at the front. Once you take the pin out, the bracket will also come off.

I think this bracket is part of the mower support system, and really I don't think it is used for anything else. The reason I say this is, I also have the quick tatch front hitch, for the JD 54" blade, and you have to remove the bracket which supports the mower, and put in a different bracket which will support the hitch.

Both brackets are totally different. I don't know if there would be any other attachment other than the belly mount mowers that would use the mower support bracket or not. I would think if the guy selling you the deck wasn't planning on putting another belly mount on, he would have no use for the bracket anyway.

REV
 
/ 62D for 2520 tractor
  • Thread Starter
#3  
I'll try to get some pictures tomorrow of what i have. I have a set of black brackets about 2' long with a bend at the end, look like they would go by the 3 point, connected to these by a long pin are a set of "turn buckles". Another set of brackets i have is the piece that goes in the front part of the deck with a black bracket that has a extension on one side with a "J-pin" that needs to go into something. This is the bracket that I think needs something mounted on the front of the tractor. I also have two bushings about 2" long by about 1" OD. Does this sound about like everything i should have?
 
/ 62D for 2520 tractor
  • Thread Starter
#4  
Just re-read your post, so there is a bracket attached to the tractor that stays on when the mower is removed. I believe this is what I'm missing, I'll give the guy a call tomorrow to see if he'll remove it for me. I don't think he'll want to keep it, but he didn't look like the handiest person and not sure if he would want to remove it or not.
 
/ 62D for 2520 tractor #5  
You need the front quick hitch to hook the front mount for the mower on as well as the support bracket mounts that bolt to the sides of the engine block where the loader mounts attach. See pics.
 

Attachments

  • 4-27-08 001.jpg
    4-27-08 001.jpg
    734.3 KB · Views: 412
  • IMG_2360.jpg
    IMG_2360.jpg
    440.3 KB · Views: 388
/ 62D for 2520 tractor
  • Thread Starter
#6  
Thanks, I figured I needed something like that. This is what I have, so far...
 

Attachments

  • 62D 001.jpg
    62D 001.jpg
    497.6 KB · Views: 304
  • 62D 003.jpg
    62D 003.jpg
    569.9 KB · Views: 322
  • 62D 006.jpg
    62D 006.jpg
    777.1 KB · Views: 308
/ 62D for 2520 tractor #7  
There are different front support parts depending on whether or not you
run a front blower/blade with the quick hitch. They make a combo
system if you are going to change between blower/mower.
from JD:

Front hitch/mid-mount mower combo bracket

This bundle allows tool-free change between the OnRampTM mid-mount mower and the Quik-Tatch front hitch (2320, 2520, 2720, and 4115 only).

You cannot leave a 54D or 62D OnRamp Mower on the tractor and put a Quik-Tatch front hitch on at the same time.

This kit will allow for the change between the two to be done with no tools. This bracket is pinned into the front attaching support kit that is required for use with the Quik-Tatch front hitch and will supply the hooks for the OnRamp mower to hook into.
 

Attachments

  • combo.jpg
    combo.jpg
    15.6 KB · Views: 228
  • fs.JPG
    fs.JPG
    47.8 KB · Views: 200
/ 62D for 2520 tractor
  • Thread Starter
#8  
Well I got a hold of the guy and went back to his house and helped take the bracket off, dang those bolts were tight...Have the bracket on mine now, ran out of time to finish the install but hopefully if all goes well I will be mowing on Saturday! The guy never used the deck, got it with the tractor and took it off when delivered and never re-installed.
 
/ 62D for 2520 tractor #9  
Actually you can mount both mower bracket and front quick hitch. When I had a 2520 with 62D my dealer made a bracket to do both.




There are different front support parts depending on whether or not you
run a front blower/blade with the quick hitch. They make a combo
system if you are going to change between blower/mower.
from JD:

Front hitch/mid-mount mower combo bracket

This bundle allows tool-free change between the OnRampTM mid-mount mower and the Quik-Tatch front hitch (2320, 2520, 2720, and 4115 only).

You cannot leave a 54D or 62D OnRamp Mower on the tractor and put a Quik-Tatch front hitch on at the same time.

This kit will allow for the change between the two to be done with no tools. This bracket is pinned into the front attaching support kit that is required for use with the Quik-Tatch front hitch and will supply the hooks for the OnRamp mower to hook into.
 
/ 62D for 2520 tractor
  • Thread Starter
#10  
Alright, guess I'm not as mechanically inclined as I thought I was. For those with the mechanical lift, how is this attached to the 3 point lift? Hopefully I'm not missing any other brackets not shown in the pictures I attached (I have the front figured out) If you have any pictures it would be appreciated.
Thanks.
 
/ 62D for 2520 tractor #11  
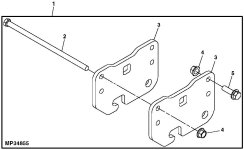
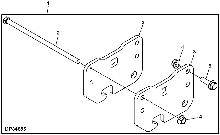
You are correct, there are two intermediate brackets that go between the rear of the long mounting arms and the three-point arms to allow raising/lowering of the deck. I believe these would be items 16 and 19 on the attached diagram.
 

Attachments

  • MP37981________UN03MAY06.gif
    MP37981________UN03MAY06.gif
    19.1 KB · Views: 225
/ 62D for 2520 tractor #12  
Here is one more pic, showing the left hand bracket described above.
 

Attachments

  • 100_0134.jpg
    100_0134.jpg
    415.2 KB · Views: 247
/ 62D for 2520 tractor
  • Thread Starter
#13  
Thanks, that's what I'm missing, I'll call today and see if he still has that on his tractor. Boy that sure looks like its close to rubbing on the tire!
 
/ 62D for 2520 tractor #14  
They are very close to the tires, maybe 3/4 inch, but I haven't noticed an interference problem. The good thing is, you don't have to worry about them swinging back anf forth because they are mounted solidly on the pins that hold the three point arms.
 
/ 62D for 2520 tractor #15  
If I may, a word of caution. When you get all the hardware installed and go to raise the mower the first time....be careful. Do not pull the three point lever all the way back. Pull the position control lever about 3/4's and then check the mower deck and insure no damage will occur if you continue raising. You could damage something on the bottom of the tractor or bend the mower deck. The bottom of the tractor has stops built in. Normally, on MMM you adjust the rods going to the three point lift arms to allow for the mower deck to be approximately 1/4" from each of the stops when at the highest raised point.
 
/ 62D for 2520 tractor #16  
Wow, those brackets sure hang low.
 
/ 62D for 2520 tractor
  • Thread Starter
#17  
thanks for the advice, i'll make sure to check that. the guy is working till 3 then said he would try to get the brackets off. For those with this set up, any idea what the bushings are for in my picture on the first page? Not sure if i see where these go? thanks again for all the help.
 
/ 62D for 2520 tractor
  • Thread Starter
#18  
Well I guess the third time is the charm. Finally have all the brackets, have it installed and cut a section of grass. I just need to level the deck, it's higer in the front than the back right now, just didn't feel like messing with it anymore. thanks for all the help!
 
/ 62D for 2520 tractor #19  
Did you figure out the deal with the bushings? It looks to me like he should have kept those because they are needed to act as a spacer for the three-point arms when the mower brackets are NOT installed. You should already have a pair on your machine. If you look at the attached pic, you can see that those bushings are removed when the mower bracket is installed.

"Wow, those brackets sure hang low."

Yeah, that's one of the reasons I use my rear finish mower more than my belly mower, all that stuff needs to come off to do much dirt work or mowing in the pasture....
 

Attachments

  • 100_0126.jpg
    100_0126.jpg
    605.4 KB · Views: 194
/ 62D for 2520 tractor
  • Thread Starter
#20  
Yes, I figured out the bushings and i gave the original owner of the 62D deck back the bushings he gave me. Thankfully he only lives about 5 miles from me, so it wasn't too bad all the trips I had to make. The dealer did the original install and he never used the deck so he wasn't very familar with what went with the deck and what didn't. Thankfully he didn't say too bad you bought it after I left the first time, I was very appreciative that he worked thru the install with me, if I would've had to buy the brackets from deere it probably would have cut into my cost savings of buying a "2nd hand deck".
 
 
Top