Backhoe 4310 subframe for backhoe

/ 4310 subframe for backhoe #1  

johnierotten

New member
Joined
Aug 7, 2009
Messages
16
Does anyone have any pics of their subframe and where and how it is attatched? I need to fabricate one and it would be a huge help. Thanks to any and all who respond! J
 
/ 4310 subframe for backhoe #2  
I have a subframe for a 4400 sitting in my barn (not mounted). I'll try to snap a picture this weekend.

I bought a new old stock 48 BH from a JD dealer and, by mistake, he ordered the subframe instead of the mounting brackets. I bought it thinking I would use it. After using the backhoe for a while, I'm not sure I'm going to mount the subframe.

It's a heavy piece of steel and it will be tough to fabricate.
 
/ 4310 subframe for backhoe
  • Thread Starter
#3  
Thank You, I had purchased a subframe from a JD dealer that was going out of buisness for a 4100 thinking I would be able to adapt it to my 4310 but after really checking it out I find it to be not even close to what I can use. Your pics should help me though ,Thanks
 
/ 4310 subframe for backhoe #4  
I'd recommend the Kubota, two reasons the first, warrantee, I know manufacturers like Woods and Bush-hog say they will cover the tractor's warrantee if it does have damage from their attachment but why leave the possibility! Second, Kubota designed the tractor and who do you think knows the most about it? Someone who is trying to make a machine cover as many models and makes as possible to get the best return on their investment or your investment?
 
/ 4310 subframe for backhoe #5  
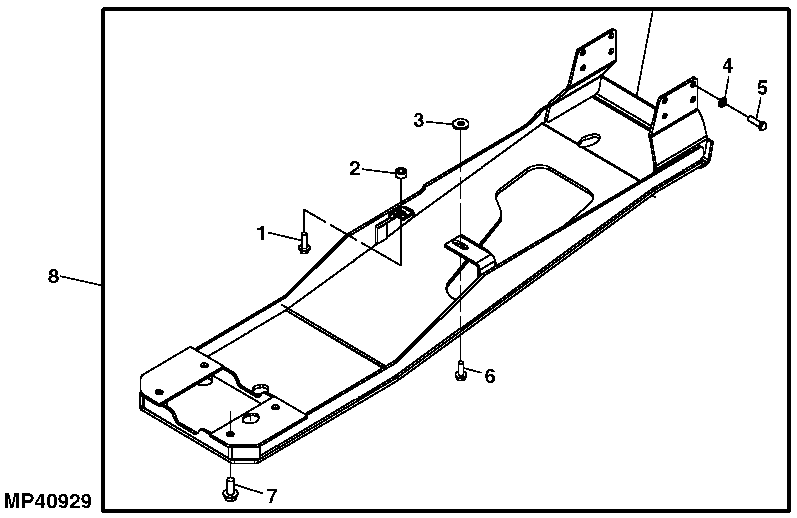
Here is the factory subframe for the 4400/4300/4200. It should be
the same as what is sold for the 4x10s. It is not very substantial and
has resulted in some broken tractors. Do a search.

If you buy one or want to copy one, Bradco and Woods make much
better subframes than this.
 

Attachments

  • JD47_JD4400_subframe.JPG
    JD47_JD4400_subframe.JPG
    64.6 KB · Views: 591
/ 4310 subframe for backhoe #6  
I'd recommend the Kubota, two reasons the first, warrantee, I know manufacturers like Woods and Bush-hog say they will cover the tractor's warrantee if it does have damage from their attachment but why leave the possibility! Second, Kubota designed the tractor and who do you think knows the most about it? Someone who is trying to make a machine cover as many models and makes as possible to get the best return on their investment or your investment?

Welcome to TBN:D

:confused::confused::confused:Excuse my bluntness, but what are you talking about? He already has a JD 4310, and a backhoe to put on it-He just wants pictures of the subframe...

Not sure why you brought up Kubota:confused::confused::confused:
 
/ 4310 subframe for backhoe #7  
I'd recommend the Kubota, two reasons the first, warrantee, I know manufacturers like Woods and Bush-hog say they will cover the tractor's warrantee if it does have damage from their attachment but why leave the possibility! Second, Kubota designed the tractor and who do you think knows the most about it? Someone who is trying to make a machine cover as many models and makes as possible to get the best return on their investment or your investment?


The Kubota forum has no members and need to spread the propaganda somewhere;)
 
/ 4310 subframe for backhoe #8  
I think this subrame is what you are referring to. It is an optional part to strengthen the tractor frame.
 

Attachments

  • backhoe subframe.gif
    backhoe subframe.gif
    9.2 KB · Views: 538
  • subframe instructions.pdf
    425 KB · Views: 644
/ 4310 subframe for backhoe #9  
I think this subrame is what you are referring to. It is an optional part to strengthen the tractor frame.

That's the subframe, no direct connection to the backhoe, just to stiffen the frame. The pictures above are the brackets. You need them to mount the bh with or without a subframe.
 
/ 4310 subframe for backhoe
  • Thread Starter
#10  
Hi Guys, Thanks for the help!!! those two brackets were the part of the subframe I was looking for, I really thought the two brackets would be tied together with steel but I guess not . I think I would build the undercarriage subframe as well or figure a way to mate it to the rear axel brackets so the whole unit would be tied together. Do you guys see any adverse effects of doing that?
 
/ 4310 subframe for backhoe
  • Thread Starter
#11  
Gewpe, thanks for the pic .thats exactly what im looking for,do you have a part number for that setup ? I would guess the bolts come with it as the stock ones would probably be too short after the brackets were installed. My local JD dealer seemed unsure of himself ( at least it seemed that way to me ) as to what i would be getting and gave me a crazy price of like 1700 bucks!! So im not to sure what he was looking up. If you havent installed the bracket setup would you like to sell it or maybe make up a template that I could buy from you? Thanks,J.
 
/ 4310 subframe for backhoe #12  
I think this subrame is what you are referring to. It is an optional part to strengthen the tractor frame.

Very interesting, 110! This is the first I have heard of such a product. My
JD dealer had no idea about it and the part # LVU17203 comes up as invalid
on JDPARTS.com.

Where did you find out about it? It clearly does not even touch the hoe
brackets. I think it is necessary, give the broken tractors out there.
 
/ 4310 subframe for backhoe
  • Thread Starter
#13  
dfkrug, my last post was meant for you, if you were interested in selling or making a template. thanks,J
 
/ 4310 subframe for backhoe #14  
dfkrug, my last post was meant for you, if you were interested in selling or making a template.

I do not own those brackets to mount the JD hoe. Pix are from a pair sitting
outside at the dealer, as well as other posts on the web. I think the
small subframe brackets that mount to four axle housing bolts on each side
are a bad design, which requires some additional anti-bending reinforcement
to the tractor. When I get ready to make my hoe subframe, it will be a
4-point mount that uses beams that go under the tractor all the way up
to where the FEL mounts. This subframe will be welded to the bottom
brackets of the ROPS, and to additional braces above the rear axle.
 
/ 4310 subframe for backhoe
  • Thread Starter
#15  
Thanks anyway DF, I appreciate the pic!!
 
 
Top