4300 - remote hydraulics

/ 4300 - remote hydraulics #1  

defed

Gold Member
Joined
Feb 5, 2010
Messages
389
Location
WNY, USA
ok, i've done alot of searching and reading thru this section of the forum, and the more i read, the more questions i have.

i want to add a pair of remotes to the rear of my 2001 4300, and one set in the front.

from reading, it looks like i need 'power beyond', which on some models appears to be a block you install to get additional ports, and some you tap into existing ports. the power beyond kit for the 4300 doesn't have a 'block', just lines. so, does this mean that there are already additional ports available that are capped? i seem to recall reading a thread about the 4300 where you had to install an allen head plug to gets flow to other ports, but i can't find that one now.

i plan to install a 3 spool valve (2 for rear, 1 for front), just need to figure out where (and how if i need a kit to install the additional ports) to draw from. i also need to investigate if i have a spare 3rd spool on my loader joystick valve, which i could maybe tap for the front remote. i read that there is (which the 3rd SCV kit utilizes) but i need to check it out to be sure.

thanks for any info!
Dave
 
/ 4300 - remote hydraulics #2  
You do have a spare 3rd spool on the loader joystick valve. Then the 3rd SCV kit just has lines that run from that valve with a control cable running to it.

When you refer to a pair of remotes, is that two sets?

I'll be interested in how your other questions are answered. :)
Thanks for asking.
 
/ 4300 - remote hydraulics
  • Thread Starter
#3  
yes, 2 sets to the rear, 1 for top link, 1 for lift link. also, 1 would be used for a dump trailer, but if a trailer is on, the top link would not be being used, so i don't need 3 sets on the rear. 1 set to the front for a grapple.
 
/ 4300 - remote hydraulics #4  
Here is how I would proceed if you want a TnT setup: I would add a new joystick valve and plumb it to the PB lines-joystick control is very slick for TnT use.

I then would add the 3rd SCV kit for front use.

The PB kit is just lines...it is for powering thing like backhoes and log splitters that have their own valves. The flow through the PB lines is constant whenever the machine is running.

Clear as mud?
 
/ 4300 - remote hydraulics
  • Thread Starter
#5  
The PB kit is just lines...it is for powering thing like backhoes and log splitters that have their own valves. The flow through the PB lines is constant whenever the machine is running.

so PB is plumbed into existing ports, nothing new is needed to create ports...in which case, i just need to figure out where the ports are, add my own lines from the output to my new spool, and looped back to the input (in and out that PB would use)?

i know i saw a thread on a guy who did this on a 4300, just need to find it again.
 
/ 4300 - remote hydraulics #6  
so PB is plumbed into existing ports, nothing new is needed to create ports...in which case, i just need to figure out where the ports are, add my own lines from the output to my new spool, and looped back to the input (in and out that PB would use)?

i know i saw a thread on a guy who did this on a 4300, just need to find it again.

Yes. The technical manual on CD is under $100 and may help locate the ports...as well as the diagram from jdparts.
 
/ 4300 - remote hydraulics
  • Thread Starter
#7  
thanks Kenny...i have the tech cd, but for some reason i never even thought to look in there. i will check it out, and look for that thread.

thanks again.
 
/ 4300 - remote hydraulics #8  
I've been looking at the tech cd, and see where the hyd pressure line comes from the pump into the 3 SCV valve block, and then a line to feed the 3 ph assembly. Suspect there is a plug to remove to plumb in a pressure line (power beyond) and another to return to the sump. But don't see where such plugs are pointed out as such in the diagrams or pics.
Will keep looking. :)
 
/ 4300 - remote hydraulics
  • Thread Starter
#9  
/ 4300 - remote hydraulics #10  
There is no "block" on your machine like the 2x20 series.

The tube that crosses the rear of your machine over the PTO (see first picture below) is replaced with the PB tubes (see second picture below).
 

Attachments

  • 4300-1.gif
    4300-1.gif
    10.3 KB · Views: 651
  • 4300.gif
    4300.gif
    28.6 KB · Views: 1,420
/ 4300 - remote hydraulics
  • Thread Starter
#11  
ah ok, i will have to look at that tomorrow. for some reason i can't picture where it is from memory, but that seems relatively easy then to access then.

thanks again.
 
/ 4300 - remote hydraulics #12  
Here is a drawing showing the layout and location of the pressure tubes. Shows the rockshaft pressure tube (2) coming from the 3 SCV valve feeding the 3 ph assembly, crossing over the top (right under the seat and just in front of the hyd oil filler plug).
Original 4300's had a screen in one of the fittings at one end, which was replaced by Deere with a tube that had a better screen about halfway in the tube (seen in kennyd's first pic two posts ago). The original screen was blowing out sometimes, and finding its way through the system which led to some debris problems.
 

Attachments

  • Hyd_pressure_tubing.JPG
    Hyd_pressure_tubing.JPG
    82 KB · Views: 1,838
/ 4300 - remote hydraulics
  • Thread Starter
#13  
i have a line that comes out from under the seat that goes over the top link area from one side of the tractor to the other, but there isn't a filter in-line, like the one in the parts diagram. it appears to be a pointless loop (besides when being used w/ a filter) so it might be the spot to tap into.
 
/ 4300 - remote hydraulics
  • Thread Starter
#14  
Here is a drawing showing the layout and location of the pressure tubes. Shows the rockshaft pressure tube (2) coming from the 3 SCV valve feeding the 3 ph assembly, crossing over the top.
Original 4300's had a screen in one of the fittings at one end, which was replaced by Deere with a tube that had a better screen about halfway in the tube (seen in kennyd's first pic two posts ago). The original screen was blowing out sometimes, and finding its way through the system which led to some debris problems.

i think that's the same one i am talking about. i didn't look too closely to see where each end goes into (will do so when i get it out in the daylight), but it seemed more like the tranny housing on both ends rather than the SCV on one. neither connection went in too deep under seat.
 
/ 4300 - remote hydraulics #15  
i have a line that comes out from under the seat that goes over the top link area from one side of the tractor to the other, but there isn't a filter in-line, like the one in the parts diagram. it appears to be a pointless loop (besides when being used w/ a filter) so it might be the spot to tap into.

The end of that crossover pressure tube on the left side of tractor goes into the rockshaft housing, and it is on this end that there is a 100 mesh screen in the fitting. That tube is the pressure line feeding the rockshaft assembly. And from kennyd's pic of the PB kit, is that tube is replaced by the tubing in the kit.
If changes in the operation of the 3 ph lift capacity are detected, or the lift is erratic, or slow reacting, this screen should be inspected. If it fills with debris, it can be blown out into the rockshaft and cause more (expensive) problems.
 
/ 4300 - remote hydraulics #16  
i have a line that comes out from under the seat that goes over the top link area from one side of the tractor to the other, but there isn't a filter in-line, like the one in the parts diagram. it appears to be a pointless loop (besides when being used w/ a filter) so it might be the spot to tap into.

If you have no filter, then you have an early 4300. Some where "updated" by dealers, some where not.
 
/ 4300 - remote hydraulics #17  
this is the thread i was thinking of....not a 4300 which is probably why i had trouble finding it again.

but, he shows some stuff that might help us...like the 'block' with the extra ports. i'm guessing this was already on his tractor as it may be on our 4300's?

Some tractors use a hydraulic block to add AUX valves; the 4300 does
not. What you may be remembering is the 4300 has several threaded plugs
that allow you to readily dump hyd fluid from the OUT of your last valve
into the sump.

I replaced the "rockshaft pressure tube" with two short hoses, which you
can use for the IN and PB of your new valve. Since a backhoe valve has
no PB, I used a port next to the toplink connection for OUT. Since you
need to use the 3-pt cyl with TNT, you will need a valve with PB and you
will need to have a low pressure OUT to the sump.
 

Attachments

  • PB_loop1a.jpg
    PB_loop1a.jpg
    66.3 KB · Views: 550
/ 4300 - remote hydraulics #18  
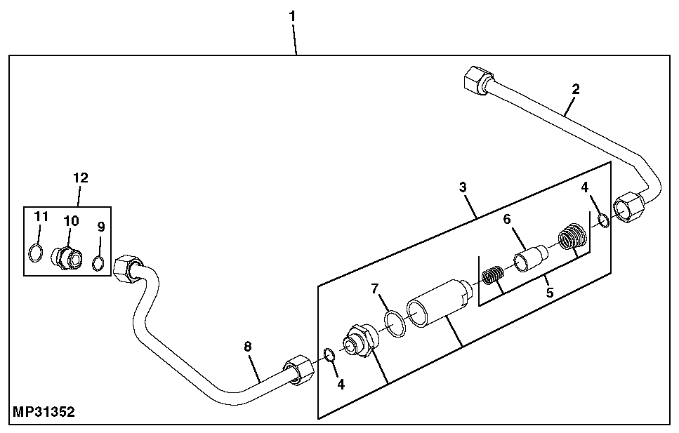
I think I attached the PDF of the Power Beyond install instructions. You should be able to find this kit. I've seen dozens of them on eBay and MachineFinder over the last couple years. They're laying around NOS apparently. I paid $125 for mine.

I've also seen the 3rd SCV kit a number of times and even the 4th & 5th SCV kit once.
 
/ 4300 - remote hydraulics #19  
Defed:

Check out my hydraulics gallery for rear remotes and Power Beyond installation on my 2001 4200.

Picasa Web Albums - Matt - Hydraulics Up...#

Picasa Web Albums - Matt - Top-n-Tilt#

Here is what I can tell you; if you want Deere kits, you have to go through the sales department as kits/whole goods are handled that way per Deere corporate policies.

The Power Beyond (LVB25221) and 3rd SCV (LVBM19694) kit may still be available; but I'm not sure. The 4th & 5th SCV (LVBM19535) is no longer available, unless the Deere dealer in Westminster, Maryland still has one lying around. That's where I got mine. I paid $307 for the PB kit, $265 for the 3rd SCV, and $675 for the 4th/5th SCV kits. If you price the parts out individually, you can expect to pay 3 to 4 times the kit price. I don't know if the loader remote kit is still available or not. I'd like to get one.

If you add a Top-Link hydraulic cylinder and use one from CCM or Surplus Center (they're identical), then you will run into the same problem I have with the cylinder rubbing the PB and 5th SCV quick connects, which has caused the PB to come just loose enough to disconnect the QD and cause the 3PH and 4th/5th SCV to stop functioning as the PB feeds the 4th/5th SCV and 3PH when not used to power a backhoe, log splitter, etc. Hop off and reconnect the QD until the cylinder rubs again.

I have the instruction manuals in PDF format that I can email to you if you want to see if you feel confident enough to tackle the job. PM me if you want the manuals. If you do it yourself, expect to be buying lots of inch/metric crowfoot wrenches.

If you can't get or don't want to use the Deere kits, you will have to follow KennyD's advice and fabricate something yourself.
 
/ 4300 - remote hydraulics
  • Thread Starter
#20  
thanks for all the info and pics. that will help alot.
 
 
Top