410C transmission wont pull

/ 410C transmission wont pull #1  

KyleB83

Bronze Member
Joined
May 26, 2019
Messages
57
Location
Anahuac, TX
Tractor
John Deere 410C Gehl 303 Mini, Bobcat T650, Kioti CK 35, Komatsu D53-16
Hey everyone, I just got my father in laws 410C back alive after 2 years and it won稚 pull in any gear in either direction.

Im scared its the clutches or the pump..

All the other hydraulics work smoothly..

Any suggestions?
 
/ 410C transmission wont pull #2  
Kyle
:welcome: to TBN

How much history can you cough up about the 410C.. ??

What does "back alive" mean?

Some of your history in mechanical repair would help too. ;)
 
/ 410C transmission wont pull
  • Thread Starter
#3  
He hadn稚 touched it in 2 years... I changed the fluids and batteries and got it to fire back up
 
/ 410C transmission wont pull
  • Thread Starter
#4  
Kyle
:welcome: to TBN

Some of your history in mechanical repair would help too. ;)

I know my way around some stuff after 8 years working for Ford and Chevy..

I don't have a 10mm socket though ��
 
Last edited:
/ 410C transmission wont pull #5  
Did it have a history of transmission issues when he quit running it or did it work ok? How does transmission oil look? DId you change that oil and filters?
 
/ 410C transmission wont pull
  • Thread Starter
#6  
it was a "victim" to an extent of Hurricane Harvey. Water got to the oil pan. He drained the engine oil, and pulled the plate that holds the hydraulic fluid in 2 years ago and then had to have a back surgery. I have ordered a service manual for it, but I was under the impression the trans hydraulic filter, and the accessory hydraulics shared a filter. Is that not the case? If so, point me in the direction of that filter and it will be pulled and changed tomorrow! The one filter I took off was inside the canister that needed a 1 9/16 socket to get off. Located on the "driver" side right behind where the battery box is.

Thanks JD for a possible lead!
 
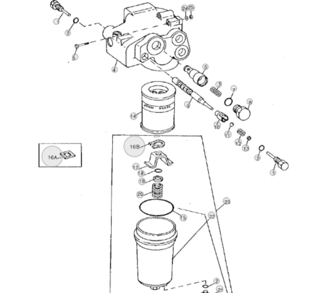
/ 410C transmission wont pull #7  
Viewing 410C parts catalog reveals a reverser or powershift filter(AT67957). Did you locate/clean trans oil sump screen(key 3)?
 

Attachments

  • Capture.PNG
    Capture.PNG
    16.3 KB · Views: 317
  • Capture.PNG
    Capture.PNG
    22.8 KB · Views: 337
/ 410C transmission wont pull
  • Thread Starter
#8  
ok so now i am even more confused... I never even saw the reverser oil filter in the manual, so no, it hasnt been changed.. however, it was drained from that drain prior to changing the hydraulic filter.

now that I am sitting here thinking about it, i can say that the transaxle-hydraulic oil was NOT drained.. which also explains to me now why when we went back to add fluid, the transaxle fluid level overflowed after adding only a couple gallons.

not sure that it will matter, but may as well change that reverser filter, and go ahead and drain the transaxle fluid to get out any old oil

its amazing how easy it is to miss something in a book, and then have that OOPS moment when someone mentions it to you haha

Thanks Jim!
 
/ 410C transmission wont pull #9  
Checking for condition of sump screen when oil is drained is very important.
 
/ 410C transmission wont pull
  • Thread Starter
#10  
I drained the transaxle today and ordered the reverser filter..

The fluid was dark but didn稚 look or smell burnt.

Either way it will have all new fluid and filters.

Still can稚 imagine that will get it to pull itself again though.

I知 going to sit down with beer and the manual when the Phillies game starts tonight and read the whole operators manual and see if something jumps out at me
 
/ 410C transmission wont pull
  • Thread Starter
#11  
P.S. why the **** does it look crazy anytime I post something that has an apostrophe?!
 
/ 410C transmission wont pull
  • Thread Starter
#14  
Ok so the screen on the priority valve had 2 little chunks of metal in them.. they look like some kind of pin that has come out of something

But the reverser filter is new and fluid is changed

Transaxle/Hydraulic filter changed and fluid is new

Still wont pull itself at any speed

My father in law doesn稚 want to spend what the thing is worth trying to fix it. Any other suggestions I can try in the field besides splitting it and going hunting?
 
/ 410C transmission wont pull #15  
I'll suggest to check trans pump pressure. Also check to be sure hyd filter relief valve isn't stuck open. Another thing to check is determine if torsional damper clutch is holding & center hub isn't stripped out.
 
/ 410C transmission wont pull
  • Thread Starter
#16  
none of that is english to me at all..

i really need to hunt down his service manual, and not just try to go off the operators manual.

i did find out, and dont recall if i mentioned it.. but the last time he had used it, he drove up where he wanted, used the front bucket to lift a load of dirt, and it wouldnt move after that. I have trouble thinking something broke at that exact time.. there has to be something simple being overlooked.
 
/ 410C transmission wont pull #17  
Since you found a possible pin, I would follow the linkage from reverser lever down to the control valve. Unhook linkage at the valve and try shifting the valve by hand to see if that lever feels normal. There should be three distinct positions. Forward, reverse and neutral. It is possible a pin fell out of the valve linkage internally while in neutral position and now won't move. Also another thought, if you have access to a borescope camera, try removing the starter and then look around inside the clutch housing to see if you can see any broken springs that could indicate a failed torsional damper. Lever 17 in first diagram will be reverser valve.
 

Attachments

  • 410c damper.PNG
    410c damper.PNG
    40.6 KB · Views: 223
  • 410c reverser valve.PNG
    410c reverser valve.PNG
    44.5 KB · Views: 220
/ 410C transmission wont pull
  • Thread Starter
#18  
Since you found a possible pin, I would follow the linkage from reverser lever down to the control valve. Unhook linkage at the valve and try shifting the valve by hand to see if that lever feels normal. There should be three distinct positions. Forward, reverse and neutral. It is possible a pin fell out of the valve linkage internally while in neutral position and now won't move. Also another thought, if you have access to a borescope camera, try removing the starter and then look around inside the clutch housing to see if you can see any broken springs that could indicate a failed torsional damper. Lever 17 in first diagram will be reverser valve.

dont have a borescope anymore.. mine floated away in Hurricane Harvey. I will go see if i can follow it down from the handle in the cab tomorrow and see what happens if i can do it by hand. Is that something I should be able to do with it turned off?
 
/ 410C transmission wont pull
  • Thread Starter
#19  
I'll suggest to check trans pump pressure. Also check to be sure hyd filter relief valve isn't stuck open. Another thing to check is determine if torsional damper clutch is holding & center hub isn't stripped out.

ordered a hyd pressure gauge yesterday.. the operators manual isnt showing me anything about a filter rv.. any ideas where to look for it? and how would i check the torsional damper?
 
/ 410C transmission wont pull #20  
Without the aid of a tech manual will guess relief valve is key 5 or maybe 9.
 

Attachments

  • Capture.PNG
    Capture.PNG
    90.2 KB · Views: 236
 
Top