Mowing Replacing water pump on LX178?

/ Replacing water pump on LX178? #1  

PIMCO

New member
Joined
Jul 7, 2016
Messages
10
Location
Norway
Tractor
JD LX178
Hello, good folks.

Got a hand-me-down 1991 JD LX178 with the water-cooled Kawasaki FD440V engine.

Upon finding oil with milkshake texture and searching the web, I have come to learn that the water pump is of a somewhat flawed design allowing water to access the crankcase when pump gaskets fail (?). I hope head gasket is not culprit, compression seems decent and engine runs okay (apart from whiteish smoke).

Found water pump with two associated gaskets (part # AM134588) on eBay for $80. Question is, is that all that is needed? I seem to recall having read that there are some seals or O-rings associated with the pump assembly?

Thanks in advance for any pointers.

Admin: Excuse the double post, did not find the right sub-forum.
 
Last edited:
/ Replacing water pump on LX178? #2  
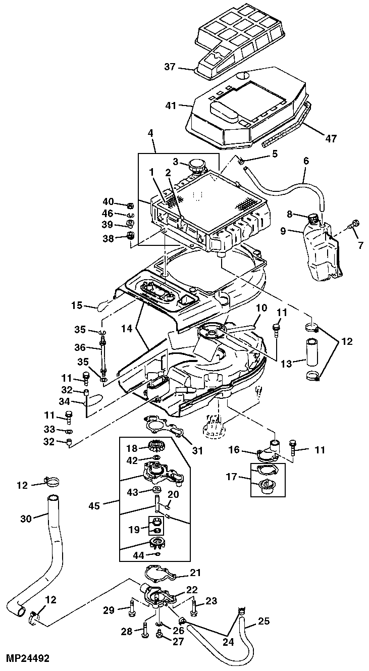
It's usually the seal on the pump shaft, not gaskets that fail. I assume the ebay pump will be assembled, with gaskets 21 and 31 included. There several different length bolts used to hold it on and one is a size bigger. They thread into aluminum so very LOW torque. Tighten too much and you will strip the crankcase threads. Small are 70 LB - INCH, one large is 186 LB - INCH torque.
 

Attachments

  • LX178wp.gif
    LX178wp.gif
    27.9 KB · Views: 3,396
/ Replacing water pump on LX178?
  • Thread Starter
#3  
Zebrafive,

Thanks for the valuable input.

Why does shaft seals (I assume #19 and #42 on the drawings?) failing cause coolant to enter the crankcase? Is the overhead drive gear submerged in oil? I assume they are delivered as complete units from the dealership?

Here is a link to the item on eBay in question: (did not allow, will post separately)

I think I will opt for sourcing the parts locally from the JD dealer instead, that way I can order some more stuff in one swoop. Will get new thermostat and spark plugs as well. Is there anything else you would recommend me to prioritize (maintenance items, redundancy spares, etc?) for the order?
 
/ Replacing water pump on LX178? #4  
Zebrafive,

Thanks for the valuable input.

Why does shaft seals (I assume #19 and #42 on the drawings?) failing cause coolant to enter the crankcase? Is the overhead drive gear submerged in oil? I assume they are delivered as complete units from the dealership?

Here is a link to the item on eBay in question: (did not allow, will post separately)

I think I will opt for sourcing the parts locally from the JD dealer instead, that way I can order some more stuff in one swoop. Will get new thermostat and spark plugs as well. Is there anything else you would recommend me to prioritize (maintenance items, redundancy spares, etc?) for the order?

You are correct the drive gear is in the crankcase within the oil. IIRCC the cam gear drives the water pump gear. When you have it off you should be able to see the gear (part of) that drives it.
 
/ Replacing water pump on LX178? #5  
Zebrafive,

Thanks for the valuable input.

Why does shaft seals (I assume #19 and #42 on the drawings?) failing cause coolant to enter the crankcase? Is the overhead drive gear submerged in oil? I assume they are delivered as complete units from the dealership?

Here is a link to the item on eBay in question: (did not allow, will post separately)

I think I will opt for sourcing the parts locally from the JD dealer instead, that way I can order some more stuff in one swoop. Will get new thermostat and spark plugs as well. Is there anything else you would recommend me to prioritize (maintenance items, redundancy spares, etc?) for the order?
I forgot to answer the second part. Home maintainence kits that includes: engine oil, air filter, oil filter, fuel filter and spark plugs. These are trouble free engines with oil changes. The only extra of these I would want is fuel filters. I have trouble with them plugging, but my gas cans are many years old and must contain dirt from years of use.
 

Marketplace Items

GODWIN 6 HEAD PUMP (A65643)
GODWIN 6 HEAD PUMP...
2012 JOHN DEERE 304J Wheel Loader (A67714)
2012 JOHN DEERE...
2005 MACK CV713 MIXER TRUCK (A67714)
2005 MACK CV713...
2 Person Metal Horse Dolly (A64912)
2 Person Metal...
BOAT MOTOR (A66738)
BOAT MOTOR (A66738)
SKIDED FUEL TANK (A67714)
SKIDED FUEL TANK...
 
Top