jd 6400 starting problem

   / jd 6400 starting problem #11  
My truck actually did something similar to me for a little while. I thought for sure that it had to be the starter getting heat soaked, turned out (after 3 different starters), it was my solenoid, not sure how as it is by the battery, but that fixed it for me. Most of the time mine acted like the battery was dying or dead. Sometimes a jump would help, sometimes it wouldn't. There are lots of possibilities though, mine drove me crazy for about a month, but it is normally my daily driver, which made it a real pain.
 
   / jd 6400 starting problem
  • Thread Starter
#12  
My truck actually did something similar to me for a little while. I thought for sure that it had to be the starter getting heat soaked, turned out (after 3 different starters), it was my solenoid, not sure how as it is by the battery, but that fixed it for me. Most of the time mine acted like the battery was dying or dead. Sometimes a jump would help, sometimes it wouldn't. There are lots of possibilities though, mine drove me crazy for about a month, but it is normally my daily driver, which made it a real pain.

To get a mechanic out there would expensive, so trisl and error seems the chrapest option ATM. Thsnks again tbrooks 😊
 
   / jd 6400 starting problem #13  
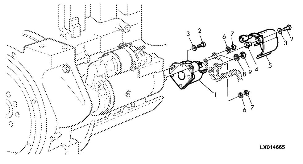
I've thought of something else that could give starting problem. The starter relay(parts key 1) as in sometimes they loose their ground(earth) connection.
 

Attachments

  • LX014665_______UN01JUL96.gif
    LX014665_______UN01JUL96.gif
    18.4 KB · Views: 170
   / jd 6400 starting problem
  • Thread Starter
#14  
I've thought of something else that could give starting problem. The starter relay(parts key 1) as in sometimes they loose their ground(earth) connection.

Its worth looking at tx jim. Thanks for the input, it all helps 👍
 

Tractor & Equipment Auctions

(2) HOMELITE BLOWERS (A58374)
(2) HOMELITE...
WOOD GRABBER FOR MINI EXCAVATOR (A58216)
WOOD GRABBER FOR...
PORTABLE HAY FEEDER TRAILER (A52708)
PORTABLE HAY...
2021 Ver-Mac PCMS-3812 Solar S/A Towable Trailer Message Board (A55973)
2021 Ver-Mac...
2008 TEXAS BRAGG 20 UTILITY TRAILER (A55745)
2008 TEXAS BRAGG...
JOHN DEERE LOADER LINKAGE (A52708)
JOHN DEERE LOADER...
 
Top