JD 320 stalls when engine gets hot/warm

   / JD 320 stalls when engine gets hot/warm
  • Thread Starter
#21  
I had a 320 that was doing the same thing after it was hot it would start acting like it was running out of fuel. I found the the fuel pump was going bad. Mine had a mechanical fuel pump mounted by the carburetor. When it starts running bad remove the fuel line coming from the fuel pump going to the carburetor and put the hose in a clear container and crank the engine and observe the amount of fuel pumping out. It should squirt good solid amounts of fuel. If it just trickles out check to make sure you have a good fuel supply to the pump. It should run out of the supply hose at a good rate.



I think i found the fuel pump, i dont know why i assumed it was inside the gas tank like my car. But here is a picture http://i.imgur.com/0kQWUPW.jpg

The line i marked red is coming from the tank (passes through the inline filter) and goes into the unit with the goldish top half...then a smaller line comes from that one (marked blue)....i was going to unhook the blue line and turn the key to see if gas shot out but...the muffler was right there and very very hot...i was scared it was going to ignite the gas.

Would it run fine for 30 minutes or so and then cut off if the fuel pump was bad? Then after about 10 minutes of sitting, i'm able to crank it up and drive again.

Edit: I disconnected the line going from the pump to the carb and turned the key....it shot gas out pretty strong.

Edit2: I'd like to take the radiator off so i can see whats underneath.....i'm scared when i disconnect the two larger black hoses from it the coolant is gonna go flying everywhere.. does anyone know how to take this off?
 
Last edited:
   / JD 320 stalls when engine gets hot/warm #22  
In my experience with vapor lock or boiling fuel, is to pack the carb with ice when it stalls and see if that cures the problem. If it does, you have a hot carb problem. Take a small cooler of ice with you to use when it stalls (keep ice in a Ziploc bag inside the cooler). Hold the bag under the carb bowl when the engine stalls. If the ice doesn't get you going, look elsewhere, but it's worth a try and a cheap test.
 
   / JD 320 stalls when engine gets hot/warm
  • Thread Starter
#23  
In my experience with vapor lock or boiling fuel, is to pack the carb with ice when it stalls and see if that cures the problem. If it does, you have a hot carb problem. Take a small cooler of ice with you to use when it stalls (keep ice in a Ziploc bag inside the cooler). Hold the bag under the carb bowl when the engine stalls. If the ice doesn't get you going, look elsewhere, but it's worth a try and a cheap test.

What would the remedy be if it is, in fact, a hot carb problem like you say? Because to get ice on the bowl i have to detach the hood (which is a real pain in the ***, i must be doing it wrong for it to be so hard) and remove the heat sheild
 
   / JD 320 stalls when engine gets hot/warm #24  
I'd like to take the radiator off so i can see whats underneath.....i'm scared when i disconnect the two larger black hoses from it the coolant is gonna go flying everywhere.. does anyone know how to take this off?

I would consider changing the fuel pump soon if you cannot find any other problem.
I think that is the style with the hole that they redesigned and it now has a tube down past the muffler.
You can read this but I am not sure it is the same as your pump..
http://www.tractorbynet.com/forums/john-deere-lawn-garden/282937-345-caught-fire.html
If you do decide to replace the pump I would buy enough gas line to replace it all the way back to the tank.
Ethanol can deteriorate lines on the inside, even if they look good on the outside.

Otherwise to take the radiator off is a messy job but only take maybe 2 hours.
Drain the coolant from the lowest hose and then you can take the radiator and all this off.
You need a place so you can hose it down with some cleaner during all this, and air to dry it all off.

Does the mower die if you get off the seat? I just wonder if you have some safety switch going bad...
Will it restart immediately when it dies, of does it HAVE to cool down for x minutes.

And does the engine seem really hot when you open the top? I wonder about the thermostat..
 
   / JD 320 stalls when engine gets hot/warm
  • Thread Starter
#25  
I would consider changing the fuel pump soon if you cannot find any other problem.
I think that is the style with the hole that they redesigned and it now has a tube down past the muffler.
You can read this but I am not sure it is the same as your pump..
http://www.tractorbynet.com/forums/john-deere-lawn-garden/282937-345-caught-fire.html
If you do decide to replace the pump I would buy enough gas line to replace it all the way back to the tank.
Ethanol can deteriorate lines on the inside, even if they look good on the outside.

Otherwise to take the radiator off is a messy job but only take maybe 2 hours.
Drain the coolant from the lowest hose and then you can take the radiator and all this off.
You need a place so you can hose it down with some cleaner during all this, and air to dry it all off.

Does the mower die if you get off the seat? I just wonder if you have some safety switch going bad...
Will it restart immediately when it dies, of does it HAVE to cool down for x minutes.

And does the engine seem really hot when you open the top? I wonder about the thermostat..


A fuel pump is pretty expensive...i think their $140+...i disconnected the line going from the pump to the carb and turned the key...it shot gas out pretty strong.

The mower cuts off when i get off the seat. It always has to cool down before it will start.

To me, it seems hotter than it should be.
 
   / JD 320 stalls when engine gets hot/warm
  • Thread Starter
#26  
That's a good point I forgot about. Make sure your tractor has the metal heat shield that covers the muffler. The muffler is very close to the carb on that engine.

Would a muffler go 'bad' and create more heat than it should causing the carb to get too hot? is there a screen on this mowers muffler? like a spark arrestor or something of that sort that i need to clean/clear?
 
   / JD 320 stalls when engine gets hot/warm #27  
Would a muffler go 'bad' and create more heat than it should causing the carb to get too hot? is there a screen on this mowers muffler? like a spark arrestor or something of that sort that i need to clean/clear?

The parts list show a spark arrestor kit, but I have never seen one installed. If so it would be inside the outlet of the muffler.
They are hard to get out unless they rust and deteriorate and blow themselves out.
It's just a real cheesy little baffle/catalytic converter that supposedly reduces noise etc.
It seems to me that this would make it hotter. A manual will tell you to take these out and clean them.
The only place I have even seen one is on a 4-wheeler or a motorcycle.
Can you stick you finger easily up into the end?

A HOLE in the muffler could cause excessive heat depending on where it's at, but you normally get abnormal noise with a hole.
They can possibly be welded by a muffler shop.
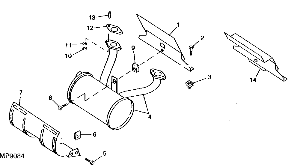
IF you really think this is the problem, order some new gaskets and take it off to inspect it. (Quan 2, Item 12)
The muffler is about $180 new.
320_Muffler.gif

The "vapor lock" deal is interesting to me because I never ran into this...
If this is the problem then I wonder what is causing it.
 
   / JD 320 stalls when engine gets hot/warm #28  
nate81,

I will go out on a limb and suggest that something completely different could be causing your problem.

At the beginning of this thread you said you were getting spark. But was is a strong spark? Newer machines have an electronic ignition and they usually have spark or no spark, but not a weak spark. But this is an old machine, and on old machines there is "weak spark" and "strong blue spark". Unless there's been some modification, your machine has mechanical "points" (basically a switch which is opened/closed by a cam) to interrupt the flow of current to the coil causing the spark. Your machine also has a "condenser" (a small cylindrical metal can which is actually a capacitor) that serves to absorb back emf to prevent the points from arcing (and thus burning).

The points would not fail when the engine got hot, but the condenser might break down. And the symptoms could match your symptoms (choking might help it limp along for a few minutes). If vapor lock isn't your problem, you might try replacing the points and condenser. They are not expensive ($20 to $30 for points, condenser, rotor, and distributor cap too; if the cap and rotor are ok you can probably find the points and condenser alone for less money). The points and condenser should be located under the distributor cap. If these parts haven't been replaced recently, replacing them would probably improve the performance of your engine, and you did mention that it didn't like to idle smoothly. They are very easy to replace. You'll need a feeler gauge to properly set the gap for the points to 0.013" (I just looked it up!). That isn't difficult. Just be sure to keep track of which spark plug wire goes to which terminal on the distributor cap. Pull a wire off the old cap and put it on the new cap in the same position, and then move the other wire.
 
   / JD 320 stalls when engine gets hot/warm
  • Thread Starter
#29  
The lawn mower from from stalling only when hot....to stalling 10 feet driving it our of my garage. When it started doing that someone had me squirt some gas into the carb and that started it up...but would only stay running if i kept squirting gas manually.

So, i pulled the carb and cleaned it thoroughly. It started up first time and ran for a 15 minute session...and took a 10 minute break...theen ran for a solid 45 minutes. I dont know if i've cured my problem or not, but i feel good about it so far!
 
   / JD 320 stalls when engine gets hot/warm #30  
I have the same problem with my JD320 as nate81. this is the second summer of limping along when the temperature gets hot. i have done the same troubleshooting and i have also monitored the fuel level in my filter before and during the stalling period - the fuel filter is always about 1/4 full (i replaced it during troubleshooting). mine will run for awhile at full choke after it begins stalling, but then gives up. my guess is that the temperature that the engine reaches combined with high ambient temperature days is causing something to fail due to heat - just what is it?? one mechanic suggested that it might be one of the coils, so i disconnected them one at a time and the engine ran rough whether both or either coil is connected. with both disconnected engine does not run :) . another mechanic (JD dealer) suggested that it might be the fuel pump - i am going to check that next as suggested in previous posts. i run 87 octane with from my local shell station - is there a fuel that is less prone to 'boiling' problems? might it be a heat related fuel pump issue? my carb/pump setup is just like nate81's. sorry for the long post - any help will be appreciated. FYI - my daughter is the 4th generation to be riding this 1993 machine, pretty cool.
 

Tractor & Equipment Auctions

CATERPILLAR HM315C QUICK ATTACH HYD MULCHING HEAD (A54757)
CATERPILLAR HM315C...
2006 TerraGator 8104 (A55302)
2006 TerraGator...
2013 Freightliner M2 106 Altec AA755 55ft Bucket Truck (A55852)
2013 Freightliner...
2005 Northwood Artic Fox 29V T/A 34ft. 5th Wheel Travel Trailer (A55853)
2005 Northwood...
2 - WEATHER GUARD TOOLBOXES (A55745)
2 - WEATHER GUARD...
2010 Ford Edge SE SUV (A51694)
2010 Ford Edge SE...
 
Top