Oil & Fuel Fuel Filter

   / Fuel Filter #21  
Here's my tool for the tough filters. As long as you have enough space...you have max grip and max leverage.

Reminds me of the first Crocodile Dundee movie when the NYC punk pulls a switchblade on Dundee, who then pulls out his 16" Bowie knife. Then he says to the punk "you call that a knife...THIS is a knife".
 

Attachments

  • filter wrench.jpg
    filter wrench.jpg
    752.7 KB · Views: 473
   / Fuel Filter #22  
It is the spin on fuel filter,not the sediment filter.:)

Greg

Thanks Greg. I missed that in your earlier post. Didn't realize the 2520 had the separator prior to a fuel filter. That sure looks to be an awkward place to reach with a filter wrench.
 
   / Fuel Filter #23  
Thanks Greg. I missed that in your earlier post. Didn't realize the 2520 had the separator prior to a fuel filter. That sure looks to be an awkward place to reach with a filter wrench.

Surprisingly, the operator's manual doesn't show the fuel filter (other then the one at the sediment bowl).
The only thing the (online) manual states about the fuel filter in the hours interval...at least that's all I could find.
 
   / Fuel Filter #24  
I think the pic Roy put up does show the fuel filter as well as the separator (sediment bowl and screen) but the writer of the manual didn't get it straight.
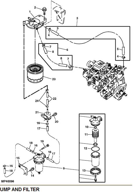
Here is jdparts.
#23 being the fuel filter
# 9 being what they call the 'separator'
#11 referred to as the filter element.
#21 the fuel pump.
 

Attachments

  • 2520_fuel_filter_separator.JPG
    2520_fuel_filter_separator.JPG
    46.8 KB · Views: 409
   / Fuel Filter #25  
Here's my tool for the tough filters. As long as you have enough space...you have max grip and max leverage.

Reminds me of the first Crocodile Dundee movie when the NYC punk pulls a switchblade on Dundee, who then pulls out his 16" Bowie knife. Then he says to the punk "you call that a knife...THIS is a knife".

I think I'm going to invest in one of those. Sometimes the strap wrench wants to slip and in the case of the 2520 spin on,it is very difficult to get the channel locks on the filter without screwing something else (fuel lines) up.

That sure looks to be an awkward place to reach with a filter wrench.

Yeah, they (JD) couldn't have made it more difficult if they had to. As for the manuals,it's too bad they don't revise the darn things. It's not like there aren't enough "mistakes" to correct to warrant the new manual.

Greg
 
   / Fuel Filter #26  
I think I'm going to invest in one of those. Sometimes the strap wrench wants to slip and in the case of the 2520 spin on,it is very difficult to get the channel locks on the filter without screwing something else (fuel lines) up.



Yeah, they (JD) couldn't have made it more difficult if they had to. As for the manuals,it's too bad they don't revise the darn things. It's not like there aren't enough "mistakes" to correct to warrant the new manual.

Greg

I cannot find anything in my 2720 manual that shows that the spin on fuel filter should be changed. The only fuel filter they give an interval on for changing is the filter in the sediment bowl & that is at 400 hours. Using my diesel truck as a guide, a spin on fuel filter will last a long time. The spin on filter is a secondary filter, it should never get dirty fuel in it unless someone forgets to put in the sediment bowl filter. Maybe that is why it is not made easier to get to.
 
Last edited:
   / Fuel Filter #27  
The spin on filter is a secondary filter, it should never get dirty fuel in it unless someone forgets to put in the sediment bowl filter.

I disagree. The sediment filter isn't going to catch evrything.
That's why it's called a filter. It filters. If they didn't want you to change it,I'm thinking it would be a permanent thing. Never read such a thing anywhere, that it was unnessessary to change a replaceable filter.:confused: Wonder what a JD tech would say if you told him that.

As for where it is,looks to me that is the only place for it within reason.:)

Greg
 
   / Fuel Filter #28  
I disagree. The sediment filter isn't going to catch evrything.
That's why it's called a filter. It filters. If they didn't want you to change it,I'm thinking it would be a permanent thing. Never read such a thing anywhere, that it was unnessessary to change a replaceable filter.:confused: Wonder what a JD tech would say if you told him that.

As for where it is,looks to me that is the only place for it within reason.:)

Greg
I did not say it was unnecessary to ever change it. JD would not sell replacement filters if it was not to ever be changed. I am sure there are times when it would need to be changed. Since JD does not list it it in the regular service schedule, I take that to mean it is an as needed part.
 
   / Fuel Filter #29  
Point taken chevy. Can't argue with a person that has a user name chevy.:thumbsup:

I was thinking too,if you strickly used the "off road" diesel, that probably would get your filters dirtier more quickly.

Greg
 
   / Fuel Filter #30  
I thought the high sulphur diesel was no longer available in the USA. ???
 

Tractor & Equipment Auctions

2017 JLG Skytrak 6036 6,000lbs 4x4 Rough Terrain Telehandler (A56857)
2017 JLG Skytrak...
2016 GENIE S-65 TELESCOPIC BOOM LIFT (A52709)
2016 GENIE S-65...
John Deere 5055E (A53317)
John Deere 5055E...
2003 Ford Pressure Digger Truck (A55973)
2003 Ford Pressure...
2023 MADJAX GENESIS 300 ELECTRIC CART (A57192)
2023 MADJAX...
2017 Freightliner Bucket Truck (A55973)
2017 Freightliner...
 
Top