Harbruce
New member
I own a 1986 2WD, HST Ford 1210 with 550 hours on it. It runs great and has been well maintained.
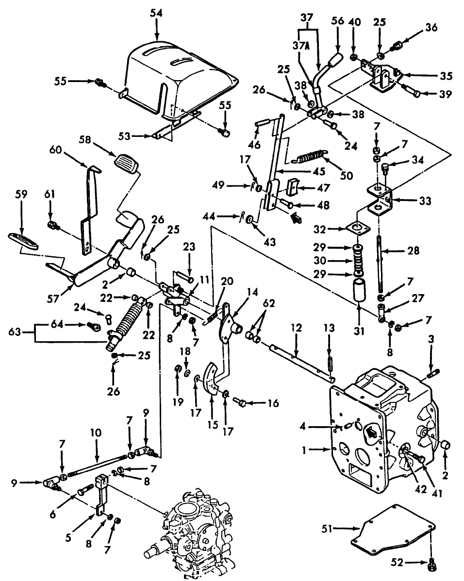
While cutting grass with a mid mower in high gear at 1560 rpm's on flat ground, the trans suddenly became stuck in "forward fast." The Hydro pedal moves freely from forward, neutral and reverse but has no effect at all. The tractor cannot go in reverse. Neutral can only be obtained using the High/Neutral/Low shifter.
To go forward (my only direction), I have to clutch, select high gear or low gear, and release the clutch to move forward. Speed is controlled by RPM engine speed. Both high and low gear settings still work fine.
Does anyone have any ideas as to what it could be? Hopefully, I won't need to split the tractor to make this repair. After reading numerous threads on HST's, maybe preliminary determinations can be made by removing the inspection cover or the plate underneath the flywheel housing.
I really do appreciate you sharing your knowledge, experience, and expertise with me.
Bruce
While cutting grass with a mid mower in high gear at 1560 rpm's on flat ground, the trans suddenly became stuck in "forward fast." The Hydro pedal moves freely from forward, neutral and reverse but has no effect at all. The tractor cannot go in reverse. Neutral can only be obtained using the High/Neutral/Low shifter.
To go forward (my only direction), I have to clutch, select high gear or low gear, and release the clutch to move forward. Speed is controlled by RPM engine speed. Both high and low gear settings still work fine.
Does anyone have any ideas as to what it could be? Hopefully, I won't need to split the tractor to make this repair. After reading numerous threads on HST's, maybe preliminary determinations can be made by removing the inspection cover or the plate underneath the flywheel housing.
I really do appreciate you sharing your knowledge, experience, and expertise with me.
Bruce


