Mowing 62D mower on 2320 wont cut higher than 3"

   / 62D mower on 2320 wont cut higher than 3" #41  
Im late posting this but i finally remembered to measure today

All the way up, so i can lock the mmm up, the upstop limiter is 3/8" from the frame

In the locked position the upstop limiter is 5/8" from the frame - so it drops 1/4"

Brian
 
   / 62D mower on 2320 wont cut higher than 3"
  • Thread Starter
#42  
Im late posting this but i finally remembered to measure today

All the way up, so i can lock the mmm up, the upstop limiter is 3/8" from the frame

In the locked position the upstop limiter is 5/8" from the frame - so it drops 1/4"

Brian

Thanks, you are lucky you have the threaded yoke. I went to get the nonadjustable link today but they wanted $90 for it, I couldnt believe it, I expected to get it for nothing considering the work and effort I am going through to make this Lemon situation work according to the manual. The machine shop after all, wont be free.

VP
 
   / 62D mower on 2320 wont cut higher than 3" #43  
Thanks, you are lucky you have the threaded yoke. I went to get the nonadjustable link today but they wanted $90 for it, I couldnt believe it, I expected to get it for nothing considering the work and effort I am going through to make this Lemon situation work according to the manual. The machine shop after all, wont be free.

VP

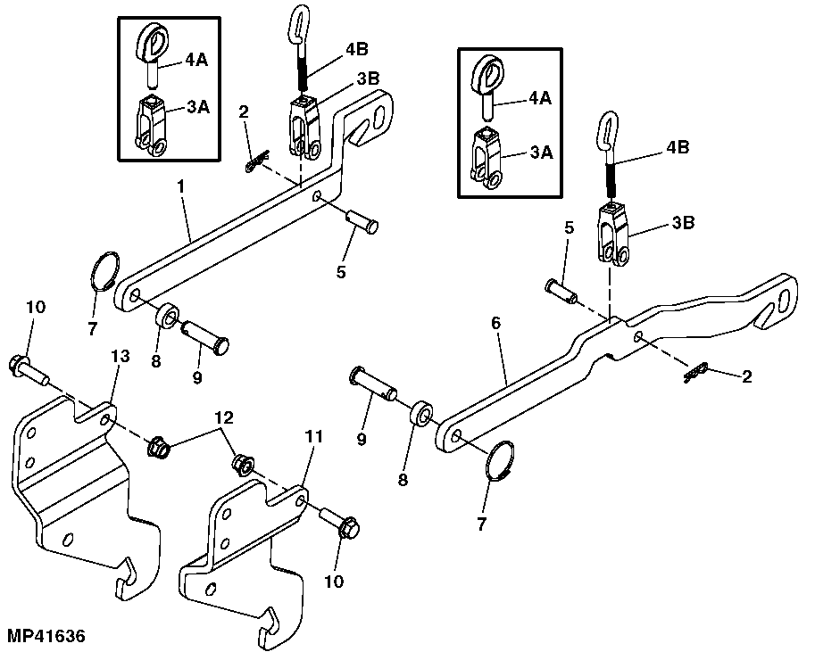
Just incase it got lost in all the posts.. When i adjusted mine, I used the #23/#21 in the middle pic to adjust it so to use the 'lock' position..

Also in another post I warned about using the #3a/#3b (top pic) causing issues - BUT the issues I listed were wrong.. My issue was that when I adjusted them to be higher, i had trouble unhooking the MMM. The arms would not go down far enough to take the pressure off..

Brian
 
   / 62D mower on 2320 wont cut higher than 3"
  • Thread Starter
#44  
Just incase it got lost in all the posts.. When i adjusted mine, I used the #23/#21 in the middle pic to adjust it so to use the 'lock' position..

Also in another post I warned about using the #3a/#3b (top pic) causing issues - BUT the issues I listed were wrong.. My issue was that when I adjusted them to be higher, i had trouble unhooking the MMM. The arms would not go down far enough to take the pressure off..

Brian

After I cut mine and added more threads I installed them and set them the highest. Same thing happened so I had to turn them down untill they just let off the tension. It still help alot to add more threads, just not as much as I would have liked.

VP
 
   / 62D mower on 2320 wont cut higher than 3"
  • Thread Starter
#45  
I have finally added threads to my factory unthreaded mower link. $35 at a local Machine Shop. It is perfect now. I can get the 1/16th" clearance to the frame now and my knob is fully rotatable. In full up locked postion on the knob I get 5" cut height. John Deere Corporate was not at all helpful, they seem to be in "Denial" about this major discrepancy and had no explanation or acknowledgement of any kind.
Time to move on from this major distraction.
VP


PS I did have to be constantly aware of making sure hydraulics lines and such didnt get hit by the linkages. I gently bent any away that might hit. I bet this is why they did away with the adjustable link, some people may have had them over adjusted and caused some damage.
 
   / 62D mower on 2320 wont cut higher than 3" #46  
..............
PS I did have to be constantly aware of making sure hydraulics lines and such didnt get hit by the linkages. I gently bent any away that might hit. I bet this is why they did away with the adjustable link, some people may have had them over adjusted and caused some damage.

So maybe there was a reason after all. :D

But you toughed it out.
 
   / 62D mower on 2320 wont cut higher than 3"
  • Thread Starter
#47  
So maybe there was a reason after all. :D

But you toughed it out.

The reason is the offset in the left lifting arm, it is a blatant mistake, the offset is going in the wrong direction (up instead of down) What was suppose to be an offset to clear a hydraulic line actually will hit the line sooner because IT IS GOING IN THE WRONG DIRECTION.

VP
 

Attachments

  • Offset.gif
    Offset.gif
    15.6 KB · Views: 327
   / 62D mower on 2320 wont cut higher than 3" #48  
I have a 5 year old 2320 with independent lift for the 62D. Had I seen this post sooner I could have helped solve this issue a little quicker. After breaking 5 of the 4A deck hangers by mearly slightly bumping fence posts ( thanks for casting this part and cutting the threads making it very weak in shear, instead of forging the parts and forming the threads JD!), my dealer realized that there was an update to this part. I installed new parts early last year and experienced the same issues with the low deck lift height . After much knashing of teeth when I realized JD did not verify their upgrade to these parts, I reworked the parts the same as Victory Pete by increasing the thread length and cutting the length of the left side hanger. I reported the issue to my dealer who submitted an issue report to JD. Did not get a response. If you have the independent lift, be sure to tie the hose out of the way. I assure you it will get sliced in half.
 
   / 62D mower on 2320 wont cut higher than 3"
  • Thread Starter
#49  
I have a 5 year old 2320 with independent lift for the 62D. Had I seen this post sooner I could have helped solve this issue a little quicker. After breaking 5 of the 4A deck hangers by mearly slightly bumping fence posts ( thanks for casting this part and cutting the threads making it very weak in shear, instead of forging the parts and forming the threads JD!), my dealer realized that there was an update to this part. I installed new parts early last year and experienced the same issues with the low deck lift height . After much knashing of teeth when I realized JD did not verify their upgrade to these parts, I reworked the parts the same as Victory Pete by increasing the thread length and cutting the length of the left side hanger. I reported the issue to my dealer who submitted an issue report to JD. Did not get a response. If you have the independent lift, be sure to tie the hose out of the way. I assure you it will get sliced in half.

Thanks auger, what did you do exactly to the left lifting arm? (the one with the upside-down offset)

VP
 
   / 62D mower on 2320 wont cut higher than 3"
  • Thread Starter
#50  
The deck is now mowing fine, at the appropriate height. I did have to make one last modification. The diagram that shows how high to set the anti scalping wheels was wrong, the way they say to set it leaves the wheels too high and you get some lines in the lawn. According to the manual the wheels should have .25" - .5" of clearance to the ground. At the recommended setting mine were about an inch. So I took a Sharpie and crossed of the highest setting for 4". It is now correct and I have about .25" clearance to my garage floor.

VP
 

Tractor & Equipment Auctions

2017 Ford F150 Single Cab Pickup Truck (A55973)
2017 Ford F150...
pressure washer (A55973)
pressure washer...
2013 Chevrolet Express 3500 Passenger Van (A55973)
2013 Chevrolet...
ALLISON TRANSMISSION (A55745)
ALLISON...
2023 Kubota M4-061 Deluxe MFWD Utility Tractor with LA1154 Front Loader (A55315)
2023 Kubota M4-061...
2017 Ford F550 (A55973)
2017 Ford F550...
 
Top