Loader 1972 JD 300 backhoe and loader-hydraulic problem

   / 1972 JD 300 backhoe and loader-hydraulic problem
  • Thread Starter
#11  
BTW this is a commercial (yellow) backhoe/loader. I may have mislead you by not stateing that earlier.
 
   / 1972 JD 300 backhoe and loader-hydraulic problem #12  
BTW this is a commercial (yellow) backhoe/loader. I may have mislead you by not stateing that earlier.

After being employed at a JD dealer for over 20 yrs('66-'87) I know that JD 300 tractor is painted ind. yellow from the factory and is indeed closed-center hyd's.
I got the stat's I posted from "Tractordata.com"

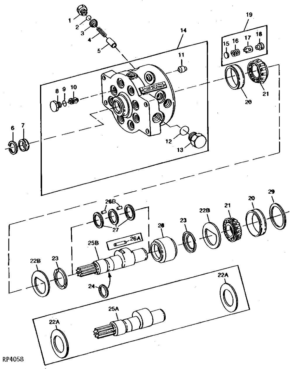
This is what the hyd pump should look like in a 300
 

Attachments

  • RP4058_________UN01JAN94.gif
    RP4058_________UN01JAN94.gif
    38.7 KB · Views: 1,674
Last edited:
   / 1972 JD 300 backhoe and loader-hydraulic problem #13  
If the hyd system is closed center, the 1700 psi is probably the accumulator pressure cut on psi. The unloader circuit would bring the pressure back up to the operating pressure.

Hydraulics:
Type: closed center
Capacity: 10 gal [37.9 L]
Pressure: -unknown-
Valves: 1 or 2 optional
Total flow: 6.5 gpm [24.6 lpm]
13 gpm [49.2 lpm] (optional)
23.5 gpm [88.9 lpm] (optional)

http://www.tractordata.com/industrial-tractors/000/0/1/10-john-deere-300.html
 
   / 1972 JD 300 backhoe and loader-hydraulic problem #14  
Are the 300 series and the 400 series valves the same?

According to JDparts.com(parts cat #1111 - JD300 (7320) Loader - 07Nov01) the relief valve in a 300 with a 7320 loader the relief valve AU40752 is used in these models which includes 400.

932 - 92 Backhoe (use with JD300 and JD400 Loaders and with 1010 Wheel Loader) - 30Aug01
980 - JD400 and JD401A (7400) Loader - 07Nov01
1032 - JD500 Series A (-123113) Backhoe Loader - 06Jul06
1068 - JD544 and JD544A Loaders - 06Jul06
1105 - 9250 Backhoe (for JD300 Tractor and for 350B and 450B Crawlers) - 30Aug01
1110 - JD644A Loaders - 15Jul05
1111 - JD300 (7320) Loader - 07Nov01
1128 - JD500 Series B Backhoe Loader - 02Nov06
1176 - JD500-A (123114-152141) Backhoe Loader - 06Jul06
1226 - JD310 Backhoe Loader - 03Nov06
1227 - 410 Backhoe Loader - 03Nov06
1239 - 500C Backhoe Loader - 07Nov06
1240 - 510 Backhoe Loader - 29Aug06
1297 - JD740 Skidder - 03Nov06
1403 - 544B Loader - 18Jan11
1404 - 644B Loader - 18Jan11
1419 - JD740 Grapple Skidder - 06Nov06
1428 - 300B Loader and Backhoe Loader - 26Mar08
1431 - 401C Loader and Backhoe Loader - 19Jul05
1433 - 302A Loader and Backhoe Loader - 16Jun06
1481 - 646 and 646B Compactors - 06Nov06
1518 - 640 Log Skidder and Grapple Log Skidder - 30Aug06
1524 - 540B Log Skidder and Grapple Log Skidder - 05May06
1571 - 743 Tree Harvester and Feller-Buncher - 21Oct08
1583 - 444 Loader - 06Nov06
1725 - 740A Log Skidder and Grapple Log Skidder - 21Oct08
1792 - 743A Tree Harvester and Feller-Buncher - 21Oct08
1883 - 401D Tractor - 29Sep05
1930 - 310A, 310B Backhoe Loaders - 16Jun06
1977 - 540D Log Skidder and 548D Grapple Log Skidder - 07Dec06
1978 - 640D Log Skidder and 648D Grapple Log Skidder - 07Nov06
 

Attachments

  • U5040__________UN01JAN94.gif
    U5040__________UN01JAN94.gif
    5.2 KB · Views: 852
  • TP6214_________UN01JAN94.gif
    TP6214_________UN01JAN94.gif
    33.3 KB · Views: 2,086
   / 1972 JD 300 backhoe and loader-hydraulic problem #15  
If the hyd system is closed center, the 1700 psi is probably the accumulator pressure cut on psi. The unloader circuit would bring the pressure back up to the operating pressure.

J_J
What are you referring to as the "accumulator pressure cut on psi" & "unloader circuit"? Closed center hyd systems such as the JD 300 have stroke control & pressure control valves. Parts keys # 42,43 & 44 comprise the stroke control valve in the larger pump in a 300 in the photo
 

Attachments

  • RP3510_________UN01JAN94.gif
    RP3510_________UN01JAN94.gif
    28.8 KB · Views: 7,296
   / 1972 JD 300 backhoe and loader-hydraulic problem
  • Thread Starter
#16  
Getting back to my original problem with my yellow iron. The factory assembled this loader (7320) with a valve that has two reliefs. A newly purchased and hydraulic shop recommended a dual spool valve that is rated at 20 gpm operating in closed center manner at less than 3000 psi stresses the engine so much that the tractor wil not motivate down the road and heats up. The rpms will not tach up and the engine sounds labored. What type of valve can be used as a replacement that will let us enjoy our yellow iron to its fullest capacity? Engine was professionally rebuilt recently. With the original, leaky valve the machine operates as it should. Please help, as I really appreciate the help.
 
   / 1972 JD 300 backhoe and loader-hydraulic problem #17  
Getting back to my original problem with my yellow iron. The factory assembled this loader (7320) with a valve that has two reliefs. A newly purchased and hydraulic shop recommended a dual spool valve that is rated at 20 gpm operating in closed center manner at less than 3000 psi Please help, as I really appreciate the help.

First thing does the "new valve" have built in relief valves? If so they could be popping open at a pressure lower that the stand-by pressure is set. 2nd thing I would do is disconnect the the newly installed valve "return hose" at reservoir and aim this hose in the hyd filler hole and start engine. If oil squirts out of hose either the relief valves(if equipped)aren't holding stand-by psi or valve is an "open center not a closed center valve". As far as relief valves go on a closed center system they are only required to help keep from bending parts on things such as backhoe. HTH's,Jim

PS: My purpose for posting photo's of other hyd components was to try and "explain a closed center system"
 
Last edited:
   / 1972 JD 300 backhoe and loader-hydraulic problem
  • Thread Starter
#18  
The new valve has one relief. It is adjustable externally and is located nest the input spool. I don't understan the theory of the old valve having two reliefs. What is making the engine labor so hard? I appreciuate your insight.
 
   / 1972 JD 300 backhoe and loader-hydraulic problem #19  
If the NEW valve is bypassing enough quantity of oil such as a bypassing relief valve or an open center valve it can cause the hyd pump to load engine. Did you do the checks I suggested?? If not then we can discuss this till the HOT place opposite from Heaven freezes over and not arrive at a resolution. If you would like to call me my # is 8one7*five1seven*1five9
zero.Jim
 
   / 1972 JD 300 backhoe and loader-hydraulic problem
  • Thread Starter
#20  
Jim,
I have not done the checks yet. The tractor is in use much of the time and when we can get it freed up I will do the things you mentioned and see what the result is. One of your posts indicated the flows and pressures that included two options. I would guess from what the truck repair garage found out that we have the larger pump option. Also when I went personally to the garage and inquired about the open center/closed center issue they indicated that it is a closed center system. I may have heard them incorrectly when I thought they indicated an open center.
 

Tractor & Equipment Auctions

30pc. 16ft.x 3ft. Grey Metal Roof Panels (A53424)
30pc. 16ft.x 3ft...
2015 Peterbilt 320 T/A EZ-Pack Front Loader Garbage Truck (A54814)
2015 Peterbilt 320...
2023 54' Hooklift Dumpster 20 Cubic Yard (A53422)
2023 54' Hooklift...
2010 Ford Edge SE SUV (A51694)
2010 Ford Edge SE...
2016 R and R Products 331 LP Reel Mower (A55851)
2016 R and R...
1993 CATERPILLAR 416B BACKHOE (A52707)
1993 CATERPILLAR...
 
Top