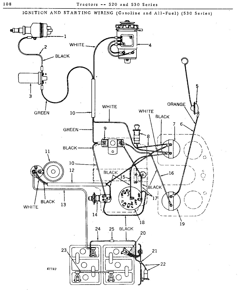
Aug 20, 2009 / vintage john deere electrical question #1 J jpurvis New member Joined Aug 20, 2009 Messages 3 Does anyone have a wiring diagram for a model 520 john deere?
Aug 20, 2009 / vintage john deere electrical question #2 M mfreund Veteran Member Joined May 29, 2008 Messages 1,301 Location Eastern Ia Tractor JD 4310 eHydro, If no one has one here is a good place to buy the technical manual. Antique Tractors - John Deere Tractor Manuals - Farm Tractors
If no one has one here is a good place to buy the technical manual. Antique Tractors - John Deere Tractor Manuals - Farm Tractors
Aug 21, 2009 / vintage john deere electrical question Thread Starter #3 OP J jpurvis New member Joined Aug 20, 2009 Messages 3 thanks for the info
Aug 23, 2009 / vintage john deere electrical question #4 J jd3020u Bronze Member Joined Aug 16, 2009 Messages 99 Location SD Tractor 3020 This is what I've got.... Tim Attachments 520 1.jpg 189.9 KB · Views: 1,732 520 2.jpg 321.4 KB · Views: 949