Fastball
Silver Member
Hello all...
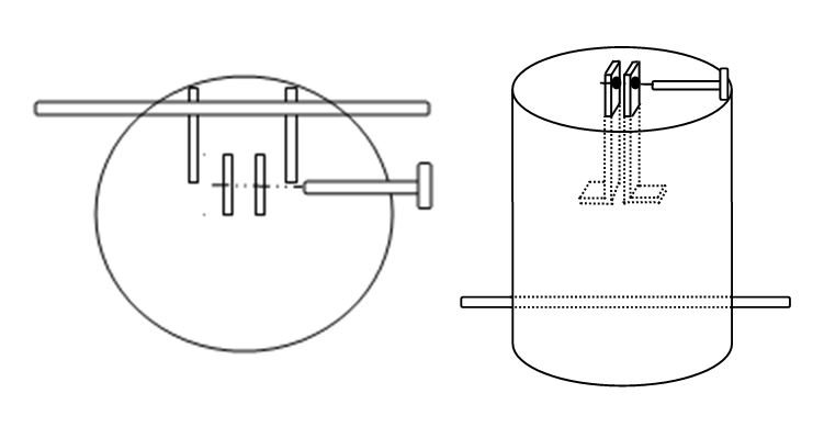
Just trying to get a ballast barrel project going here. I have a 50 gal plastic barrel, a drawbar, scrap iron, cement and rocks.. What I DON探 have is a welder, nor access to one. What I壇 like to get are options for attaching something to the drawbar inside the barrel that can go up and be attached to the top link WITHOUT any welding. I see tons of great and creative ideas here that all include the phrase 殿nd just welded a piece of.. in the description. I can bolt, screw, nail, tie and glue. I can wrap with wire, string, zip ties and baling twine. ****, I even have an office stapler.
Suggestions, please? Pics?
Just trying to get a ballast barrel project going here. I have a 50 gal plastic barrel, a drawbar, scrap iron, cement and rocks.. What I DON探 have is a welder, nor access to one. What I壇 like to get are options for attaching something to the drawbar inside the barrel that can go up and be attached to the top link WITHOUT any welding. I see tons of great and creative ideas here that all include the phrase 殿nd just welded a piece of.. in the description. I can bolt, screw, nail, tie and glue. I can wrap with wire, string, zip ties and baling twine. ****, I even have an office stapler.
Suggestions, please? Pics?

