Powershift and shifter repairs

/ Powershift and shifter repairs #1  

Todd8665

Silver Member
Joined
Mar 10, 2014
Messages
159
Location
AuTrain, MI
Tractor
Kubota L3430
I've been sitting on this project all winter. I'm not sure when I'll actually start working on this as I know there is a good chance of some idle time once I get to tore apart.

YM2210D purchased/new to me in January 2014. Changed all fluids/filters/cleaned hydro screen upon purchase.

Problems discussed today:

1. Cant shift into 3rd gear on the powershift
2. When range shifting it is frequently(not all the time) stiff/difficult to shift into second and third gear.

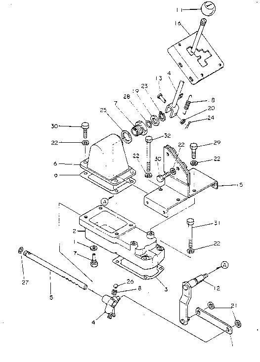
I have examined the external linkage on the powershift for the "slop" that others in this forum have experienced that prevents shifting the powershift(connection at end of #4 on attached schematic). Everything there checks out. There is a bolt that rotates on/with the powershift shaft (#7 on the attached schematic) that i can put a wrench on and easily shift from reverse to first to second. When you try and go to third you encounter stiff resistance.

I plan on tearing it apart to check for the things I have read about causing powershift problems = dirty/sticky valves, broken springs, bad O rings. Any tear down rebuild advice would be greatly appreciated. I don't see any powershift parts listed on the Hoye site, but that doesn't necessarily mean they don't have them. I'd like to have a collection of the most likely suspect parts on hand when I do the tear-down. O rings and the springs are what come to my mind. There is also a small copper bushing powershift (#25 on the schematic i think) that is all but wore away.


As far as the rage shift lever - I have done zero troubleshooting. Any tips advice there would also be greatly appreciated.


My plan is to take lots of pictures of the project and post them as I go along to help out the next guy when their time comes.
 

Attachments

  • PS_Schematic.JPG
    PS_Schematic.JPG
    63.2 KB · Views: 508
/ Powershift and shifter repairs #2  
My plan is to take lots of pictures of the project and post them as I go along to help out the next guy when their time comes.

AWESOME. I love it when someone makes a rebuild log.

Have you contacted Fredricks Importing for power-shift parts or assemblies?
 
/ Powershift and shifter repairs
  • Thread Starter
#3  
I've contacted Hoye, who had few of the parts I was interested in, but did have a complete assembly - although I don't know if was just the linkage or complete valve body and linkage. I'll have to contact Fredricks.
 
/ Powershift and shifter repairs
  • Thread Starter
#4  
Getting closer to starting this. Question. There is a small cover on top of the "manifold" underneath is a linkage. Anyone ever take one of these apart? It appears that order of tear down could be important. See pictures:
 

Attachments

  • Picture1.jpg
    Picture1.jpg
    93.7 KB · Views: 355
  • Picture2.jpg
    Picture2.jpg
    128 KB · Views: 362
/ Powershift and shifter repairs #5  
See Figure 39 in your parts manual and it shows more of what is under "A" in your last picture. Not sure what you are wanting to do so no advice.
 
/ Powershift and shifter repairs #6  
If you remove the entire item 2 shifter assembly from the transmission I would think you could isolate the prob between shifter and gears.
 
/ Powershift and shifter repairs
  • Thread Starter
#7  
Update

Well i finally started this project. In my original post I included a schematic. When I got to the point in the teardown process when I need to remove the "bolt" labeled #7 on the schematic I found that it was somewhat stuck. I really didn't want to exert a lot of pressure on it since it is a linkage. Anyway in the process of me trying to remove I noticed that, unlike before, I could count all the gears (R, N, 1, 2, & 3) as I rotated the nut forward. Hmmm. So I put the gear shift lever back on and of course I couldn't hit third again. I replaced the pin on the yoke (#13 on #4) and gained enough leverage to in fact hit third gear.


Oddly enough the shift lever now seems to be able to travel to far down - to the point where I can go past the reverse position. So now I have regained third gear, but when going into reverse I can actually go past it....
 
/ Powershift and shifter repairs #8  
Update

Oddly enough the shift lever now seems to be able to travel to far down - to the point where I can go past the reverse position. So now I have regained third gear, but when going into reverse I can actually go past it....

So going past REV gives you double speed REV? That would be so cool.

On another note, I'm on the Yahoo Yanmar Group. One person recently had to drill out a bad linkage like the one that was binding on yours. He replaced it with a shoulder bolt and a locking nut.
 
/ Powershift and shifter repairs #9  
Now that you have fixed it, you have to adjust it for proper shift throw.
 
/ Powershift and shifter repairs #10  
Update

Well i finally started this project. In my original post I included a schematic. When I got to the point in the teardown process when I need to remove the "bolt" labeled #7 on the schematic I found that it was somewhat stuck. I really didn't want to exert a lot of pressure on it since it is a linkage. Anyway in the process of me trying to remove I noticed that, unlike before, I could count all the gears (R, N, 1, 2, & 3) as I rotated the nut forward. Hmmm. So I put the gear shift lever back on and of course I couldn't hit third again. I replaced the pin on the yoke (#13 on #4) and gained enough leverage to in fact hit third gear.


Oddly enough the shift lever now seems to be able to travel to far down - to the point where I can go past the reverse position. So now I have regained third gear, but when going into reverse I can actually go past it....


Just revisited this thread. Seems this was an early thread I commented on. Now, I had a recent issue with the shift rod wearing thin due to so many movements up and down. Looking back at this thread, it's saved some repair work and down time.
 
 
Top