John Deere 5210 brakes

/ John Deere 5210 brakes #1  

planeview

New member
Joined
Nov 10, 2010
Messages
1
Tractor
John Deere 5210
I have a John Deere 5210 with approx. 900 hours. The left brake is dragging and locks up the left rear wheel when the brake pedal is slightly depressed. Anyone run into this problem and what is the remedy? Would I be able to make the repair? And what do you believe would be the cost of the repair for parts and then labor if I am unable to do it?

Help, I know John Deere will want a fortune to repair.
 
/ John Deere 5210 brakes #2  
Welcome to TBN:D

The brake system on your machine is hydraulic, and may just need to be flushed with fresh fluid. Or the valve could be sticking from have water contaminated fluid in it. It's not unlike a car system if you are familiar with that.

Possibly you should get a service manual you want to do repairs yourself...
 

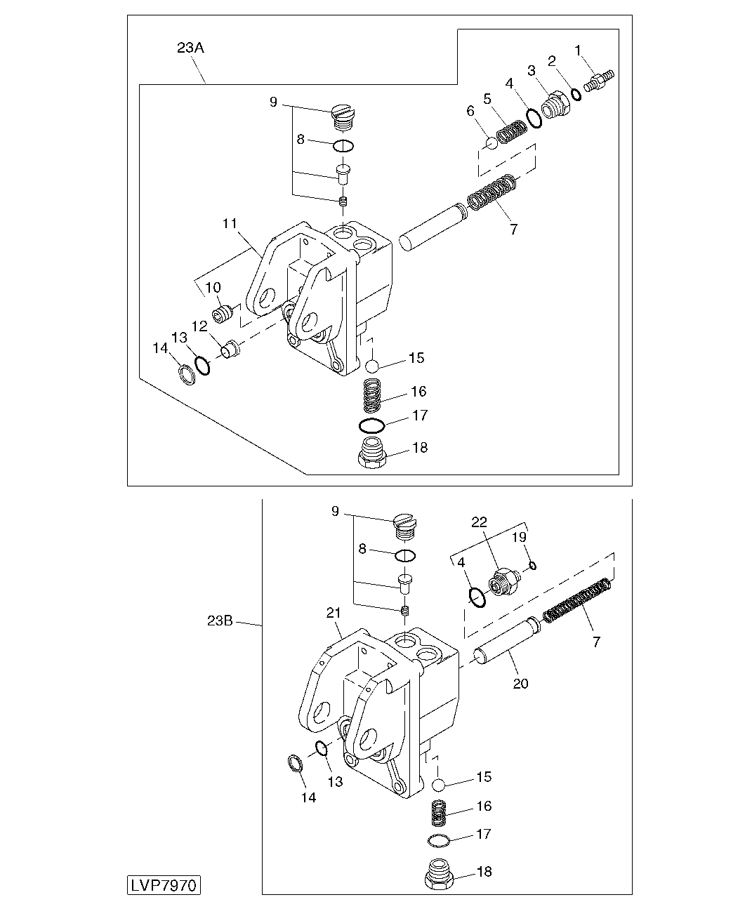
Attachments

  • 5210.gif
    5210.gif
    22.9 KB · Views: 1,385
  • 5210-1.gif
    5210-1.gif
    22.9 KB · Views: 1,905
/ John Deere 5210 brakes #3  
To just add to what Kennyd wrote. Here are a few URL. First is how to get the technical manual. Second is from another site with a person having a brake problem on a 5210. Third the JD parts URL, always nice to take a look inside, before opening it up. At least on my 5210 the tire lugs are metric ie 24 mm and not 15/16. Please do get the technical if you decide to open it up, there are measurements and how to put it back together. While not hard to do, can cause more damage if not done correctly. If you would please post your findings.

John Deere Ag - New Equipment: Technical Publications - Publications Search

Today's Tractors :: View topic - JD 5210

John Deere - Parts Catalog
 
/ John Deere 5210 brakes #4  
My guess is same as kennyd's, water in the hydraulic fluid. I would start with a fluid change and then bleed the brakes.
 
/ John Deere 5210 brakes #5  
I bought all the books for my 5210 on e-bay at greatly reduced prices. They are well worth getting as suggested by others.
 
 
Top