deere 4100 steering cylinder leaking

/ deere 4100 steering cylinder leaking #1  

MARKMONKEY1

New member
Joined
May 5, 2009
Messages
4
My first post...thanks in advance for any assistance.
The technical manual says that the steering cylinders are not servicable and must be replaced in whole (not repaired). However, looking at the JD parts website, they show a blowup of the cylinder and individual parts of it!
The cylinder is $520 from JD.

Any good options other than buying a new cylinder?
Has anyone repaired the steering cylinder?
Or are there aftermarket cylinders available? Where?

Thanks again. Mark
 
/ deere 4100 steering cylinder leaking #2  
Welcome to TBN Mark:D

First, Please do not post the same question in multiple forums...it makes it really hard to help you when answers/suggestions are spread out across different post's.

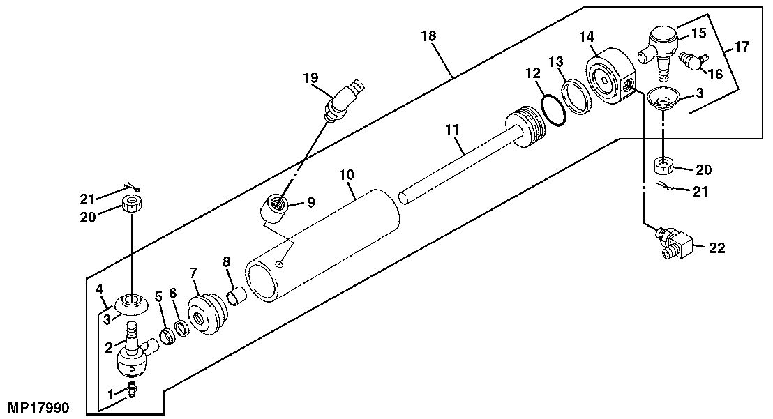
Now, as for your steering cylinder-I see no reason why it can't be rebuilt. I would suggest looking in the phone book under "Hydraulics" and finding a local shop to get it repaired. Removing the cylinder from the tractor will be easy.

I will attach a picture in case anyone else would care to comment.
 

Attachments

  • Steering Cyl.gif
    Steering Cyl.gif
    12.8 KB · Views: 769
/ deere 4100 steering cylinder leaking
  • Thread Starter
#3  
(sorry for the multiple post)
I did find the image you posted on JDparts website, but there was no part # listed for the seal... but why would they post the blowup of this if it's not serviceable? I did contact a local hydraulic shop. Since the cylinder seems to be pressed on or welded, the local shop guy said he can open it, replace the seal, then weld back together. this would be significantly less than a new cylinder, so I will give it a try i think.

thanks for the info. mark
 

Marketplace Items

2023 Deere 333G (A64911)
2023 Deere 333G...
HYDRAULIC FLUID TANK (A67714)
HYDRAULIC FLUID...
2014 MAC FLAMELESS HEATER TRAILER (A67714)
2014 MAC FLAMELESS...
ALLMAND ECOLED-RIG SPEC LIGHT PLANT (A68842)
ALLMAND ECOLED-RIG...
2016 INTERNATIONAL 4300  4X2 24FT BOX TRUCK (A69167)
2016 INTERNATIONAL...
2020 KENWORTH T680 TANDEM AXLE SLEEPER (A59914)
2020 KENWORTH T680...
 
Top