Catastrophic Failure

   / Catastrophic Failure #41  
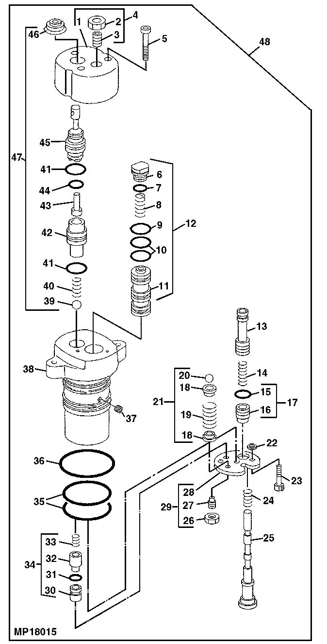
This what the internals my rockshaft control valve look like

#18-20 are the relief valve components
 

Attachments

  • rockshaft control valve.gif
    rockshaft control valve.gif
    23.4 KB · Views: 267
   / Catastrophic Failure #42  
The attached pics are from the WSM for my tractor, an L3400. It shows the cylinder safety valve being set for roughly 3000 psi (2845-3277 psi), which is well above the normal relief setting of 2250psi, and the hydraulic diagram shows where everything is plumbed in relation to each other. The lowering valve (6) is shown in green, the cylinder (7) is in yellow, as is the safety valve (8).

View attachment 301154View attachment 301155

Sean got any other pictures of the location of that valve or the control asy?
 
   / Catastrophic Failure #43  
Item 160 is the safety valve on my L3400 parts view, and in the second pic, it's located in front of and below the seat next to the lowering speed valve. It is possible to move the adjustment externally, not that you would ever want to. You have to have it disassembled to attach to a pressure source to test it. I'm thinking the L2900 is similar in design to the L3400, although it may not be.

Should be possible to get an L2900 parts breakdown online if anyone wants to look.

I suppose it IS possible that someone moved the adjustment in the past thinking they were adjusting something else, maybe trying to increase the hydraulic pressure to the 3pt or the main relief valve? If that's the case, if you screwed it in it would increase the relief pressure all right, but only on the safety valve, not the main hydraulic relief. No increase in performance, but a potential problem waiting to happen.

A question for the OP.. have you had the tractor since new? The previous owner may have tried a few things.

DSC01617.jpgDSC01618.jpg

Sean
 
   / Catastrophic Failure #44  
Thanks that puts a lot in perspective :thumbsup:
 
   / Catastrophic Failure #46  
According to this parts list (can you tell we're housebound with snow?), your tractor does have the safety valve, it should be located just below the lowering speed valve. The picture shown in the parts list looks different from what you have, but that doesn't mean much.

Kubota Tractor Corporation - Parts List

L2900 safety valve.jpg

Sean
 
   / Catastrophic Failure #47  
Curious..where is the main relief valve located?
 
   / Catastrophic Failure #48  
On mine it's located under the right side floorboard, and sets the maximum pressure for the whole system. I think the loader valve has it's own pressure relief, and my remote valve definitely does. So, if the main relief is set at 2250 psi that's the most you can get at any implement, possibly less if the valve for that implement is set to a lower relief pressure. As an example, my remote valve is set at 2000 psi with the output dead-headed. It came that way and I've had no reason to change it.

Sean
 
   / Catastrophic Failure #49  
Yes I followed your link and looked up the relief valve for that L2900GST It picture shows it is located inline between the pump and block
 

Attachments

  • T10600.pdf
    69.3 KB · Views: 201
  • T10500.pdf
    51.2 KB · Views: 136
   / Catastrophic Failure #52  
not sure on how the linkages operate in rear end....

just wondering if someone ran rear of tractor into something (going at a good speed and ran into a brick wall for example), causing pressure of linkage arms to go right through the cylinder....
or tried to toss a chain around a tree, and left enough slack in chain and took off fast for a "snap", that instead of chain or linkage arm damage, it caused casing to fatigue and/or crack.

once above was done to get a micro crack going....

thinking thermal expansion was final lick, that caused the final break down. more so if tractor was worked pretty good a few hours before hand, getting all the metal and hyd oil and entire tractor warm.

*rubs chin* normally after a good work out on tractor (running highest gear possible, highest RPM's possible) and really working the tractor, will just not turn off tractor and walk away, but will get RPM's down low to idle, and maybe even drive at a lower RPM if real worked transmission before hand. to let everything have a chance to cool down, via, radiator, hyd oil coolers. and let that coolant workout out those high temperature spots. then shut unit down after say 5 to 10 minutes after the cool down doings. just like regular exercising and keep your muscles from cramping up, you do a "cool down session" same like thing for tractor. to prevent them pin point hot spots from over heating different areas.

there be a reason why tractors have active coolant, (fans, radiators, hyd oil coolers) but once tractor gets shut down, that all goes away....
 
   / Catastrophic Failure
  • Thread Starter
#53  
Well, we pulled the housing last weekend and now I understand why it's a $700 part, I also have a better understanding of what goes on inside the housing. Since I don't know the proper names of the components, I'll use terms I think we can all understand. When the 3pt is raised oil is pumped into the reservoir behind a piston about 4" in diameter. In the face of the piston is a recess that a ball-end pushrod fits and the other end of the pushrod is connected to a crank attached to the lift arms. As oil is pumped into the reservoir the piston is pushed up the cylinder, pushing the pushrod, acting on the crank raising the 3pt. When the 3pt is lowered pressure is relieved in the reservoir and the piston retracts.

Only a small part if the housing is actually pressurized and naturally this is where it cracked. We didn't pull the piston since we didn't have a ring compresser to reinstall it but it slides smoothly through its entire travel. As has already been suggested, all things point to 1 of 2 possibilities: a. failed safety bypass or b. overlift of the 3pt from either pushing or backing into something.

My boy drives for UPS and when he delivered to the welding shop he told them what had happened and they said they had just welded a cast housing on an ag tractor so they were confident they could fix it but until they see it, who knows. My BIL is supposed to drop it off today.

I forgot the camera but took pics with my cell phone but can't figure out how to get them off the phone into the computer. Tried emailing them to myself but they show up as .mp3 attachments :confused:

Anyway, that's the latest news.
 
   / Catastrophic Failure #54  
That piston has an o-ring and back-up ring I would definitely replace those while I had it apart. You don't need a ring compressor.
 
   / Catastrophic Failure
  • Thread Starter
#55  
... You don't need a ring compressor.

Thanks Brian, good to know.

BTW, I want to publically thank Messicks for providing the interactive .pdfs, what a great resource!
 
   / Catastrophic Failure #56  
It doesn't work that way, all the descent rate valve controls is the rate of fall. It's a check valve of sorts and is spring loaded. It has no effect on the raise part of the cycle, even if it's closed completely

Sean: That's interesting. I need to go out and check, but I'm 99% sure my owner's manual says not to raise the 3-point with the descent control locked because it'll burn out the hydraulic motor. I assumed it was the equivalent of deadheading a valve with nothing attached to it.
 
   / Catastrophic Failure
  • Thread Starter
#57  
I was able to get one pic off of my phone for what it's worth, hoping to hear from the welder today... stay tuned


hydrauliccylinderremoved.jpg
 
   / Catastrophic Failure
  • Thread Starter
#59  
No, not sure what we'd be looking for if we did. The dealership offered to go through the control valve assembly to see if they could determine what might have caused the failure. Maybe I should have them look at the safety valve too.

Yikes! The control valve is $476 (the 2 bolts that hold it on are $8 each ) and the safety valve is another $105
 
   / Catastrophic Failure #60  
Well looking at the attachments it is a spring/check ball set up. It has to freely move to release hyd pressure. It has been suggested it might not have done that correctly
 

Tractor & Equipment Auctions

UNKNOWN  500BBL FRAC TANK (A58214)
UNKNOWN 500BBL...
2016 CATERPILLAR TL1055D TELESCOPIC FORKLIFT (A60429)
2016 CATERPILLAR...
2022 Takeuchi TL12R2 (A60462)
2022 Takeuchi...
Abaco Machines DVL500 Vacuum Lifter (A59230)
Abaco Machines...
Deere 310SK (A57148)
Deere 310SK (A57148)
2010 BOBCAT TOOLCAT 5610 UTILITY WORK MACHINE (A59823)
2010 BOBCAT...
 
Top