Broken HST/ No Reverse= HUGE $ to Fix!

   / Broken HST/ No Reverse= HUGE $ to Fix! #41  
Nice, well sort of. It would have been nicer if it never broke but still it sounds like it didn't work out too badly. Also we'll get to find out what broke and how hard of a fix it will be.
 
   / Broken HST/ No Reverse= HUGE $ to Fix! #42  
What do you mean by no defogger? Kubota upcharges for heater vents?
 
   / Broken HST/ No Reverse= HUGE $ to Fix! #43  
Congrats on the new machine, too bad it happened this way. You are right saying it was a good deal if you were both happy with the price, it's none of our business what you sold it for anyway.

Are you starting a new thread to show off the new machine?
 
   / Broken HST/ No Reverse= HUGE $ to Fix!
  • Thread Starter
#44  
I started a thread on the buying pricing forum. Will post pics when I get the machine home.
 
   / Broken HST/ No Reverse= HUGE $ to Fix! #45  
What do you mean by no defogger? Kubota upcharges for heater vents?

Kubota offers a wire grill style window defogger option the same as you have in the rear window of your car. I would have liked it and bought it if Kioti offered it, but it's not at all necessary.
 
   / Broken HST/ No Reverse= HUGE $ to Fix!
  • Thread Starter
#46  
Kubota offers it, $674 for the rear windows only though it includes the 80amp alternator upgrade which I thought I didn't need either as the cab comes with 60 amps, which is above the 45amp ROPS model. Nice option, but I had to stretch the wallet just to get the machine so I got just the essentials. Someone mentioned a plug in defogger to the cig lighter which is standard with the cab. I figure the heat blasting for the hours I plow will be suffecient, and if not, good old paper towels! Called dealer today, machine not ready so this will be the LAST snow storm I plow in an open station tractor. My route is over 4 hours and with over 12" expected, I will get 2 plows equalling 8+ hours of outside plowing on a L48! no fun at all, but, you use what you have.
 
   / Broken HST/ No Reverse= HUGE $ to Fix! #47  
Kubota offers it, $674 for the rear windows only though it includes the 80amp alternator upgrade which I thought I didn't need either as the cab comes with 60 amps, which is above the 45amp ROPS model. Nice option, but I had to stretch the wallet just to get the machine so I got just the essentials. Someone mentioned a plug in defogger to the cig lighter which is standard with the cab. I figure the heat blasting for the hours I plow will be suffecient, and if not, good old paper towels! Called dealer today, machine not ready so this will be the LAST snow storm I plow in an open station tractor. My route is over 4 hours and with over 12" expected, I will get 2 plows equalling 8+ hours of outside plowing on a L48! no fun at all, but, you use what you have.


Using the heat with the A/C turned on and set to outside air will keep the windows clear. I find I have to keep the blower cranked when the temp is very close to freezing and it's a snow/rain mix. I usually have 1-3 kids in the cab with me and that doesn't help either. It would be nice to have the defogger and be able to turn the blower down a little on the worst of days, but most of the time it's not an issue.
 
   / Broken HST/ No Reverse= HUGE $ to Fix! #48  
Curtis, just like kiotiken said I don't think it's a big issue either. I don't have the rear defogger on my Kubota B3030 HSDC but I flip the little rear windows open and with the heat blowing the rear window stays pretty clear. Would the defogger be nice, sure, but at $674.00 (including upgraded alternator) kinda expensive if you ask me. You will LOVE the cabbed tractor!!!! Waiting on pics!
 
   / Broken HST/ No Reverse= HUGE $ to Fix! #49  
congrates on the new 7040
 
   / Broken HST/ No Reverse= HUGE $ to Fix! #50  
Update on the Broken L48. I sold the machine to a TBN member who plans to fix the machine himself.....The buyer is...on this board often, and has lots of orange machines.....hopefully he will start a thread detailing the process.......Best regards, Curtis Farmer

OK, I'm the culprit - I adopted the ailing L48 mostly for the technical challenge, hope to learn something and have a story to tell sometime.

The L48 shop manual has a good description of the HST's function - but has no diagnostic info for the control assemblies - Kubota just says replace anything that isn't working right. I'm not thrilled about doing things that way - so hold my beer and wish me luck...... (have some experience making automatic transmission parts - different story)

The symptoms are: seemingly normal forward function, but reverse is weak and very slow. It moves a little in low, and but may not move at all in high. Also the HST pedal does not return to the neutral detent by itself - gets lightly stuck on the forward side and needs a nudge to neutral. The damper has a sticky spot too so I took that off so it isn't masking the linkage motion.

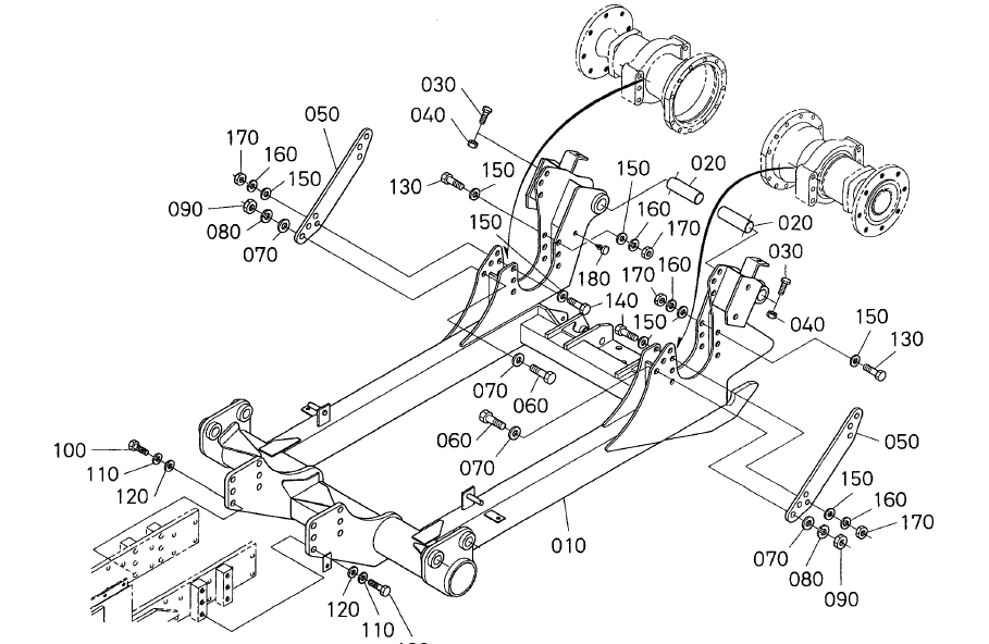
The manual says if there's drive in only one direction, then replace the high-pressure check/relief valve on the other side. The valves for forward and reverse are identical so I tried interchanging their positions (the painted plugs didn't look like they had ever been removed before). The valves look fine - no dirt or filings, mirror finish on lands etc. With locations swapped the symptoms are unchanged. If either one was causing the problem, the symptoms should have switched with the valves. Next step is to properly clean the outside of the HST and remove the regulator & servo cylinder to see if there's something about either one - like a bent, broken or missing pin, lever, cam, spring, o-ring, or maybe a family of mud wasps. If that doesn't show something the tractor may need to be separated. The frame drawing below indicates why the separation job is spendy on the L48 and similar rigs - lots of wrenching.

All ideas are welcome - Dick B
 

Attachments

  • L48 frame.jpeg
    L48 frame.jpeg
    240.3 KB · Views: 522
  • L48 TBN.JPG
    L48 TBN.JPG
    70.9 KB · Views: 406
Last edited:

Tractor & Equipment Auctions

2013 PETERBILT 367 DAYCAB (A58214)
2013 PETERBILT 367...
8'x16' METAL TRUCK BED (A52708)
8'x16' METAL TRUCK...
2011 JACK COUNTY 130BBL VAC TRAILER (A55745)
2011 JACK COUNTY...
LANDHONOR LHR0300 HD CONCRETE FLOOR SAW (A52708)
LANDHONOR LHR0300...
JOHN DEERE 900 - 9 SHANK V-RIPPER (A52708)
JOHN DEERE 900 - 9...
Club Car Carryall 2 Electric Utility Cart (A55853)
Club Car Carryall...
 
Top