Baling corn stalks

   / Baling corn stalks #21  
I've baled corn stalks with my JD 467 with no problems. I cut the stalks with a 15 ft batwing and then raked then with a 14 wheel rake. I've heard baling stalks causes premature wear but my baler still bales hay just fine at 17,000 plus bales.

We never baled corn stalks but I know people that do. And they do it exactly how u explained except for using a batwing. Both the farmers I know use a crop shredder flail moweran chop it very fine. Never heard it causeing premature ware. I'm sure if u didn't mow it up really well it could do some damage.
 
   / Baling corn stalks #22  
We baled stalks with my dads 569 this fall be hard to say about wear anything that moves will wear before he bought the 569 he had a 568 deere and baled stalks and quite a few bales and it would still eat hay. I wouldn't be afraid to try it. As a matter of fact think the guy we baled for used bush hog and then raked into wind rows.
 
   / Baling corn stalks #23  
My neighbor traded a 468 with 20,000 bales on monitor that he had bought new that had holes worn in the side sheets from baling stalks.
 
   / Baling corn stalks #24  
Wow guess would depend on how much you bale stalks we only do it if asked we sold some cornstalk bales used to make product called humos I believe not sure on the spelling but cattle farmer was using it with a tub grinder and using them as filler
 
   / Baling corn stalks #25  
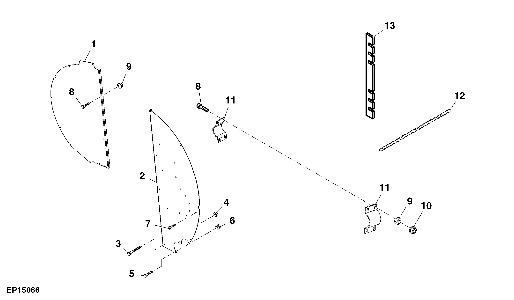
JD even offers a side sheet repair kit.
 

Attachments

  • LX014665_______UN01JUL96.gif
    LX014665_______UN01JUL96.gif
    18.1 KB · Views: 155

Tractor & Equipment Auctions

2008 Ford E-350 Versalift 29N 29ft Bucket Van (A56858)
2008 Ford E-350...
LOT: Steel Work Table 36" x 72" w/8" Craftsman Grinder, (2) Lockers (VISE NOT INCLUDED) (A59076)
LOT: Steel Work...
JOHN DEERE BA84 WORKSITE PRO ANGLE BROOM (A54757)
JOHN DEERE BA84...
(2) METAL & WOOD STORAGE RACKS (A52708)
(2) METAL & WOOD...
2020 DRAGON ESP 150BBL ALUMINUM (A58214)
2020 DRAGON ESP...
2017 Ford F-150 Pickup Truck (A55973)
2017 Ford F-150...
 
Top