bealaddison
New member
Hello,
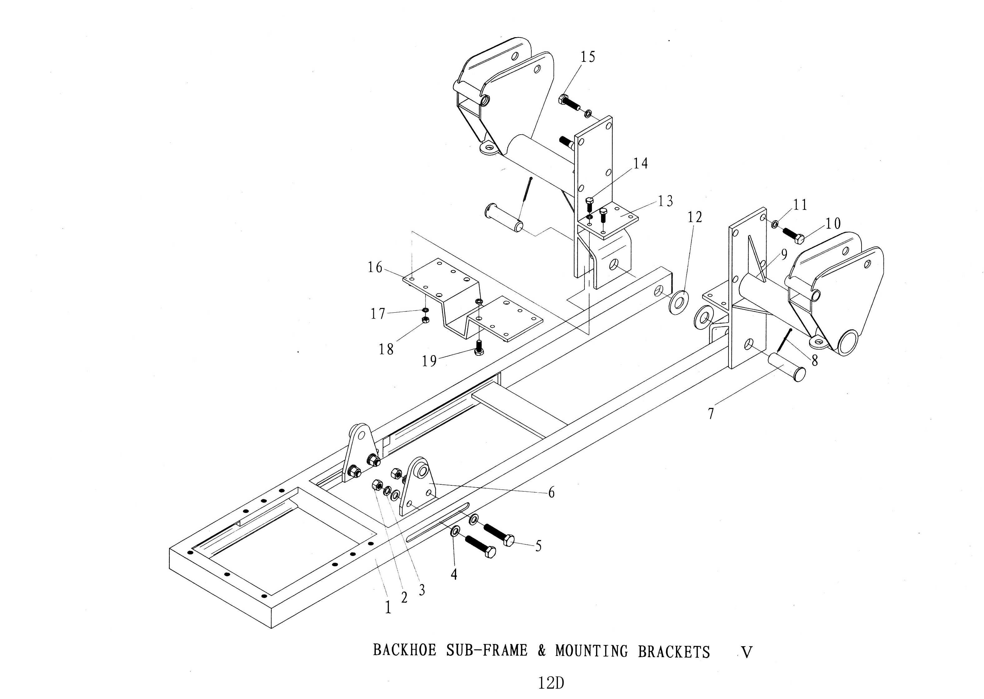
Does anyone have an ARPS 90 backhoe with a subframe mount? These are an older model, Amerequip unit.
I recently purchased one with a 3pt hitch setup and was hoping I could convert it to a subframe mount. It was a deal that I could not pass up.
If anyone has photos or a manual that shows dimensions/drawings that would be really helpful. There seems to be quite a few fabricators in this forum and I was hoping to pick your brains.
Thanks in advance.
Does anyone have an ARPS 90 backhoe with a subframe mount? These are an older model, Amerequip unit.
I recently purchased one with a 3pt hitch setup and was hoping I could convert it to a subframe mount. It was a deal that I could not pass up.
If anyone has photos or a manual that shows dimensions/drawings that would be really helpful. There seems to be quite a few fabricators in this forum and I was hoping to pick your brains.
Thanks in advance.

Last edited:


