4020 Series Specs

/ 4020 Series Specs #41  
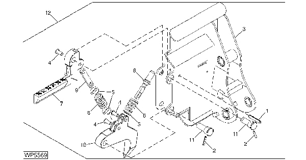
440029-RSA2.jpg

The exclusive rockshaft-assist mounting system (Patent Pending) makes hooking up the backhoe simple and quick.


Unique 4-point quick-attach system allows operator to install the backhoe to the tractor from the seat.
The RSA design positions the backhoe closer to the tractor.
Backhoe can be attached to the tractor without tools.
RSA mount plates stay on the tractor and are compatible with mid-mount tractor attachments.
To attach:
Back tractor up to the backhoe.
Raise rockshaft arms.
Pins in rockshaft arm engage hooks on backhoe.
Raise rockshaft arms to full up position.
Install pins.
Connect backhoe hydraulics to power beyond.
Backhoe is ready to use.
To detach:
Disconnect hydraulic hoses from the backhoe. Reconnect tractor hydraulics.
Raise rockshaft to full up position.
Remove pins. Can be attached or detached without the use of tools.
Lower backhoe to the ground and drive away.
Tractor is now ready for other work.
 

Attachments

  • 440029-RSA2.jpg
    440029-RSA2.jpg
    17.4 KB · Views: 219
/ 4020 Series Specs #42  
440036-448.jpg

Enclosed boom and dipper give the needed extra strength to the backhoe
 

Attachments

  • 440036-448.jpg
    440036-448.jpg
    13.8 KB · Views: 202
/ 4020 Series Specs
  • Thread Starter
#43  
I see that now. Still a few things missing that caught my eye since I want these options - draft control, upgraded altenator and the extendible draft links. Since the back half of the tractor is supposed to be the same can't see why the draft control and links won't be listed eventually - but the altenator remains to be seen.

Oh well, this is day one afterall. Have to say though that based on just the pics so far and not having seen one in person - the appearance took a major step down, not up, but each to their own on asthetics.

Tim
 
/ 4020 Series Specs #44  
I don't see that bigga differance in the slope (except there is a little less blockiness)

The one piece hood willl be a big plus. The currant skirted panel setup isn't bad, but the new design is better...
 
/ 4020 Series Specs #45  
Some stuff is on JDParts....
440062-instr%20panel.jpg


4x20 Instument panel
 

Attachments

  • 440062-instr panel.jpg
    440062-instr panel.jpg
    26.8 KB · Views: 238
/ 4020 Series Specs
  • Thread Starter
#47  
The JDParts lead was a good one. There's a lot of info between the lines, IMO some good, some bad. Obviously some of this is guesswork and preliminary but until we have more to go on...

The good: /forums/images/graemlins/smile.gif

The old altenator was 40 amp with a 55 amp upgrade. The new one appears to be a 70 amp unit standard, no upgrade. Unless there's something sapping a lot of power - that's a lot of extra watts available for beau coup aux lighting. Might have something to do with the cab models coming out later?

Headlights use standard (?) replaceable H4 elements. (Listed as 60/55W?)

The bad: /forums/images/graemlins/frown.gif

Found the fuel filler (not visibile in the photos so far). Look at the drawing Mike posted above - there is a large flap ("door") over a well - directly above the instrument panel, part of the same "dashboard" molding . Under that is the fuel filler (rather than thru the hood.) At the highest point on the tractors hood. What braniac thought that one up? Guess where your spills are going to go? Why didn't they move the tank to the rear and lower the fill point? Sigh.

Does not appear to be a draft control option any longer - although most of the rear end and rockshaft use the same part numbers, the rockshaft housing itself is a new part # - and there's no draft control option in the parts listings. For my intended purposes that will be a deal breaker. Hope I'm wrong. The same part # for the centerlink mount ("hinge") is used - so that mounting point has the same form factor. Dunno.

The questionable: /forums/images/graemlins/confused.gif

The rear PTO switch is now on the dash like a lawn mower rather than the fender.

There is a dash switch labeled "display mode". If that implies digital gauges over analog - IMO that's a major problem, I do not like digital gauges in anything, much less a tractor. However the one picture from the one-sheet does seem to have analog main gauges much like before.

The "new" engine uses dual balance shafts - versus the "balancer" before. Be interesting to compare vibration levels.

If some of my jump-to-conclusion misgivings prove true my 'new 4320' may well become my 'new 5205' even with the step backwards in tranny.

Tim
 
/ 4020 Series Specs #48  
440423-448%20mini.jpg

448 Backhoe Features

<ul type="square">
[*]8 feet 9 inch maximum digging depth

[*]Curved power boom gives operator better view of digging area

[*]Flip-over stabilizer pads for quick conversion between field and street usae

[*]A revised valve design reduces temperature rise during backhoe operation

[*]Adjustable seat pivots up and locks automatically when not in use

[*]Buckets available in 12-, 18-, 24-, and 36-inch widths

[*]Heavy-duty buckets available in 14-, 18-, 24-, 36-, and 40-inch widths

[*]Tractor must be equipped with a front loader when using a backhoe
[/list]
 

Attachments

  • 440423-448 mini.jpg
    440423-448 mini.jpg
    20.6 KB · Views: 182
/ 4020 Series Specs #49  
440426-400x%20mini.jpg

400x Loader Features

<ul type="square">
[*]Quik-Park™ Mounting allows easy installation or removal of loader

[*]Loader boom is contoured for improved forward visibility
[/list]
<ul type="square"> Optional Loader Attachments:
[*]Grapple Bucket
[*]4-in-1 Bucket
[*]Boom-Mounted Front Blade (72- or 84-inch)
[*]Materials Buckets and Heavy-Duty Buckets
[/list]

The 4x20s show that they can work with the older 48 hoe, but only the 400x loader...
 

Attachments

  • 440426-400x mini.jpg
    440426-400x mini.jpg
    18.4 KB · Views: 217
/ 4020 Series Specs
  • Thread Starter
#50  
Mike - on the options list for the 400X is a skid-steer mount attachment. I can't tell if that is a JD quick-mount-to-skid-steer adapter (those sorts of things are available aftermarket) or a more 'permanent' changeover of the boom attachment points to standard skid steer. Any ideas?

Tim
 
/ 4020 Series Specs #51  
440440-ssteer.jpg


It is an adapter, Why would they make it where you Can't buy Deere accessories?
 

Attachments

  • 440440-ssteer.jpg
    440440-ssteer.jpg
    77.8 KB · Views: 149
/ 4020 Series Specs
  • Thread Starter
#52  
Ah - but they point you to the line of Deere's "Worksite Pro" attachments.

Tim
 
/ 4020 Series Specs #53  
Well, then to, why would you get the adapter, if you didn't want ss toys?!! /forums/images/graemlins/grin.gif


But on a much more important note: this is my 2000th post! /forums/images/graemlins/cool.gif
 
/ 4020 Series Specs
  • Thread Starter
#54  
Congrats!
 
/ 4020 Series Specs #55  
One thing caught my interest - no more electronic switch for MFWD engagement - they've gone to a mechanical engagement... is this because the switch fails too often, or is it just cheaper?
 
/ 4020 Series Specs
  • Thread Starter
#56  
Hmm. I missed that the first time around Steve - personally I'd consider that an improvement. Not to sound like a broken record but I just don't like needless complexity in a tractor - especially if it removes an element of control. I assume the push button engage/disengage worked like most four-wheel-drive road vehicles - that is it worked well enough after a fashion, but at it's own pace, and you have to check some idiot light to tell if it appears to be in or out. A nice, simple mechancial and direct control that may provide some tactile feedback is all that is needed. Now if they only would have extended that philosophy to the PTO. (which they may have on the european model which has a two-speed PTO!)

Tim
 
/ 4020 Series Specs #57  
JDparts has listings for the 4120and 4320 (no 4520, yet) These have PRT (reverser) stuff showing...
 
/ 4020 Series Specs #58  
</font><font color="blue" class="small">( JDparts has listings for the 4120and 4320 (no 4520, yet) These have PRT (reverser) stuff showing... )</font>

For a non-Mechanic like myself - what does that mean? Actually I was told by my dealer about the mechanical engagement for 4wd - I don't mean to convey that I was so bright that I figured it out all on my own... /forums/images/graemlins/smirk.gif
 
/ 4020 Series Specs
  • Thread Starter
#59  
Also... (misc)

Now has a 'real' parking brake lever - automotive-style ratchet pull-up lever with release button in the end of the handle.

Same steering wheel, seat and suspension as the last-version 10-series.

The engine now takes 8 quarts of oil? (squint at the decal drawings).

And under attachments - the MX8 rotary is only listed on the 4720 page. Kind of curious since the MX8 was listed for the 4710 - ostensibly less powerful than even the 4320.


Tim
 
/ 4020 Series Specs #60  
the 4120, 4320, and 4520 are available with reverser or hydros. The 4720 is only hydro... All I was sayin is with them listed on JDParts we can see things that relate to the reverser...
 

Marketplace Items

2016 JOHN DEERE 7210R TRACTOR (A65054)
2016 JOHN DEERE...
Frontier RC2072 (A64126)
Frontier RC2072...
2025 Unused SDLGC80 60v Electric Golf Cart (A64194)
2025 Unused...
2018 CATERPILLAR 326FL EXCAVATOR (A64279)
2018 CATERPILLAR...
New/Unused Wolverine Sickle Bar Mower (A65583)
New/Unused...
2014 Freightliner 105' Bucket Truck (A63689)
2014 Freightliner...
 
Top