Deere Rear Hydraulic Options

   / Deere Rear Hydraulic Options #31  
I understand that 100%.
But the question is, if you plumb a valve to the PB lines, do you loose the 3PH. That answer is no because you use the return port that feeds the 3PH.

"Question: On the JD 3X20 series (TWENTY SERIES) tractors will you lose the 3 point hitch functions when using the power beyond?...."

Kenny,
This was the question I responed to.

Rob
 
   / Deere Rear Hydraulic Options #32  
Why all the confusion? Clearly the answer is Yes and No.
 
   / Deere Rear Hydraulic Options
  • Thread Starter
#33  
:confused3::mur: Me thinks the answer is.....it depends?

I think this becomes sort of a trick question.....with two answers possible depending on what is hooked up to the PB hydraulic system. I can understand that from the way I worded this question. (I think)

My concern was in using my 3 point stump grinder. IE: holding a position on the three point while using hydraulics derived from the PB. BUT...the three point and grinder support is resting on the ground during operation and while using the hydraulic functions......so....it's a non-event. (sorry....but I did learn something) :D
 
Last edited:
   / Deere Rear Hydraulic Options #34  
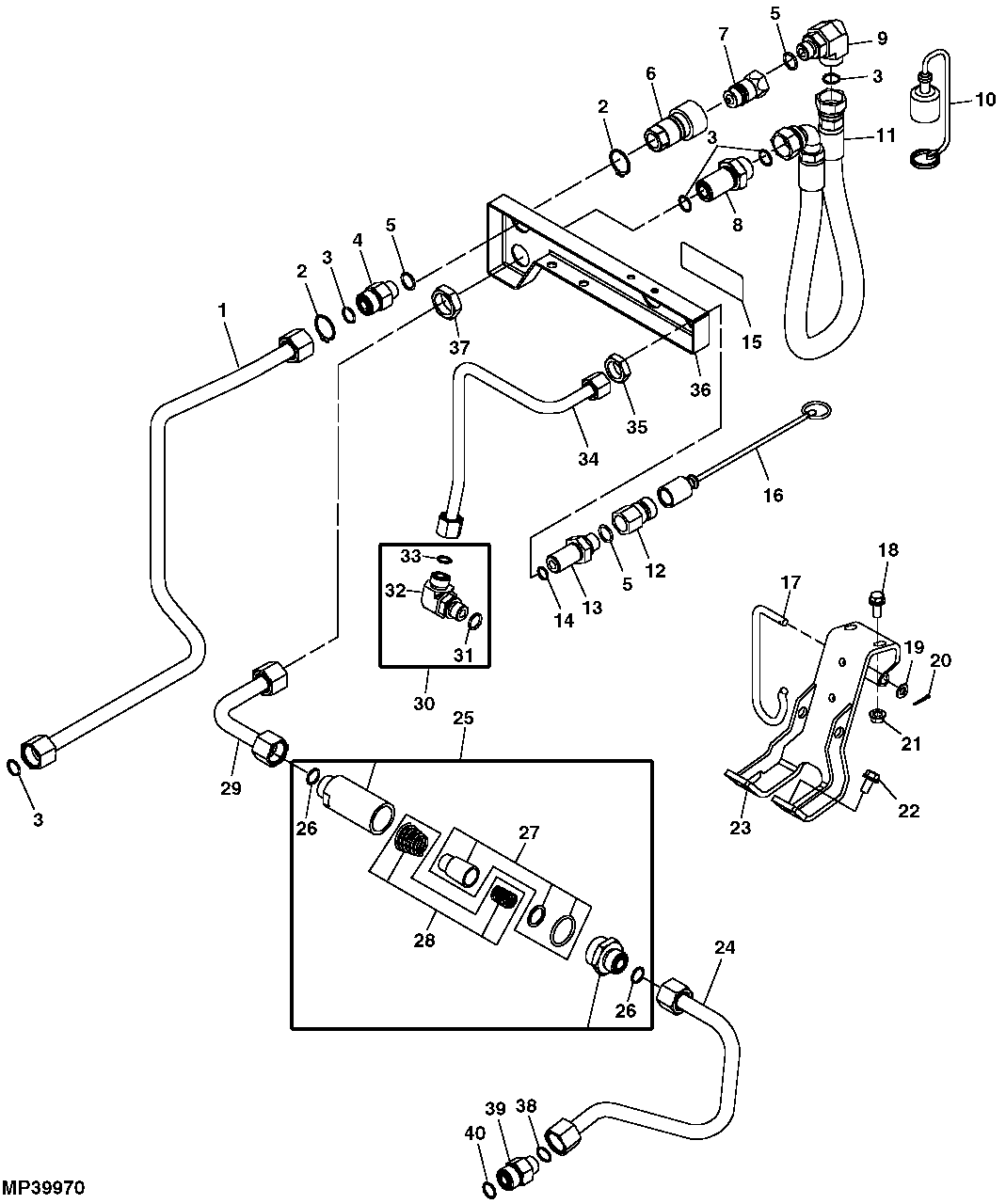
If you have a stock 3x20 with a factory PB you must unloop the line (part 11) that runs the 3PH to hook up the implement and thus will lose the 3PH. See my photo of the 3x20 with PB elsewhere here. In that photo the PB is in and working (part 7 is connected to part 6). On the left is the bypass line (input is part 12), what you do, when hooking up an implement, is pull the top line (part 7, 9,11) off. This goes to your implement, the return from the implement goes to the plugged input now covered (part 12). The top recepticle at the right (part 6) is left open. This is the return for the 3PH, it can't work without it.

You can not pull the loop line off the 3PH (part 11)and use the top quick connect (part 6) as a return from your implement. There is an illustration on the tractor (see my photo) showing this is not a routing option.

Period!

Rob
 

Attachments

  • Power beyond.gif
    Power beyond.gif
    27.1 KB · Views: 229
  • Power beyond photo.JPG
    Power beyond photo.JPG
    69.3 KB · Views: 173
   / Deere Rear Hydraulic Options #35  
rob,

you can still add valves in the pb loop and not lose the 3 point. if you are going to hook up to the backhoe then yes, you lose the 3 point. If you just add a valve in line it will not affect the 3 point.

I have done this on a few different tractors....works great.
 
   / Deere Rear Hydraulic Options
  • Thread Starter
#36  
good answer. thanks hanson. :thumbsup:
 
   / Deere Rear Hydraulic Options #37  
Rob-D, I think you got things backwards. Connecting into part 6 is the supply, not the return. Oil flows through part 1 to part 6 onto part 24 that feeds the 3PH. Part 12 is the low pressure return directly back into the reservoir. When the hoe is connected part 6 connects to the hoe supply line and part 7 is left loose. All the oil returning from the hoe returns through 12 straight back into the tractor.

Connecting back into part 7 as a return from the outlet side of a Prince valve is not recommended by Prince, but connecting back into part 7 from the Power Beyond port on that same valve is recommended. I might add that even though connecting the spool valve outlet to the PB return is not recommended it has been successfully done by many.

My 3320 operates the 3PH just fine with a two spool Prince sectional valve plumbed in the PB circuit. With the backhoe on, the PB circuit is not a circuit. High pressure oil is fed to the hoe through the PB supply (part 6) and returned at lower pressure to the tank directly (via part 12), bypassing the PB return (part 7) that feeds the 3PH, thus NO 3PH with the hoe on and connected.

With the Prince spool valve in place the tractor PB supply (part 6) feeds the inlet to the open center Prince valve. When all the handles are centered, high pressure oil flows through the open center and out the valve's PB connector to the tractor's PB return (part 7). This high pressure oil is thus available to the 3PH, so the 3PH works. When I operate either of the spools, high pressure oil flows to the corresponding cylinder and any used oil returns to the tank at lower pressure through the Prince valve outlet that is connected to tank return (part 12) on the tractor. Many do not plumb it this exact way (mine is plumbed per Prince), but the results are the same, the 3PH works.

The hoses look like a mess, but they really aren't. It is very simple to install or remove. One bolt with a finger tight nut holds it on.
 

Attachments

  • 20100330 017.jpg
    20100330 017.jpg
    556.5 KB · Views: 258
  • 20100330 015.jpg
    20100330 015.jpg
    562.6 KB · Views: 227
   / Deere Rear Hydraulic Options #38  
Rob-D, I think you got things backwards. Connecting into part 6 is the supply, not the return. Oil flows through part 1 to part 6 onto part 24 that feeds the 3PH. Part 12 is the low pressure return directly back into the reservoir. When the hoe is connected part 6 connects to the hoe supply line and part 7 is left loose. All the oil returning from the hoe returns through 12 straight back into the tractor.

Connecting back into part 7 as a return from the outlet side of a Prince valve is not recommended by Prince, but connecting back into part 7 from the Power Beyond port on that same valve is recommended. I might add that even though connecting the spool valve outlet to the PB return is not recommended it has been successfully done by many.

My 3320 operates the 3PH just fine with a two spool Prince sectional valve plumbed in the PB circuit. With the backhoe on, the PB circuit is not a circuit. High pressure oil is fed to the hoe through the PB supply (part 6) and returned at lower pressure to the tank directly (via part 12), bypassing the PB return (part 7) that feeds the 3PH, thus NO 3PH with the hoe on and connected.

With the Prince spool valve in place the tractor PB supply (part 6) feeds the inlet to the open center Prince valve. When all the handles are centered, high pressure oil flows through the open center and out the valve's PB connector to the tractor's PB return (part 7). This high pressure oil is thus available to the 3PH, so the 3PH works. When I operate either of the spools, high pressure oil flows to the corresponding cylinder and any used oil returns to the tank at lower pressure through the Prince valve outlet that is connected to tank return (part 12) on the tractor. Many do not plumb it this exact way (mine is plumbed per Prince), but the results are the same, the 3PH works.

The hoses look like a mess, but they really aren't. It is very simple to install or remove. One bolt with a finger tight nut holds it on.

Yes, the top is return, either way you lose the 3PH. JD added the left side return for a reason and put the alert sticker on for a reason, they don't want you to use the 3PH return with the PB.
My answer reflected the question. He didn't say, "with a spool valve", He asked, will you lose the 3PH with the PB in use. You plumbed in the spool valve I'm not adding one, I don't need it, I had the PB and the third SCV installed when I bought my tractor. Losing the 3PH is not a problem for me when using the BH.

Rob
 
   / Deere Rear Hydraulic Options #39  
Question: On the JD 3X20 series (TWENTY SERIES) tractors will you lose the 3 point hitch functions when using the power beyond?....or when operating spool valves derived from the power beyond circuit? (an example would be Bob Gerkins set up (above) on his 3X20)

That was the question rob.....and the answer is no you will not lose the 3 point when using the spool valves.
 
   / Deere Rear Hydraulic Options #40  
That was the question rob.....and the answer is no you will not lose the 3 point when using the spool valves.

No, there were two questions, you are referring to the second one.

You see that word "or" with the question mark AND the four periods before it? That makes it two questions, the first question is, and I quote, "Question: On the JD 3X20 series (TWENTY SERIES) tractors will you lose the 3 point hitch functions when using the power beyond?....or". It didn't read," on tractors, with spool valves, will you lose the 3PH while using the PB."

I answered the first question and my answer is still correct. I didn't answer the second question because I don't have a spool valve and he specifically asked if you're not sure please don't answer.

The answer someone gave that you can use the 3PH return is wrong because Deere specifically states, not only that you can't, but that there is a supplied return to make sure you don't along with a warning sticker.

One of the hats I wore when I worked was technical writer.

Rob
 

Tractor & Equipment Auctions

2022 Ford Explorer AWD SUV (A55853)
2022 Ford Explorer...
2007 Ford F-150 Ext. Cab Pickup Truck (A55852)
2007 Ford F-150...
2020 Toro Pro Sweep Vacuum (A55758)
2020 Toro Pro...
2010 Ford Edge SE SUV (A51694)
2010 Ford Edge SE...
UNUSED FUTURE 32" HYD TILTING BUCKET (A52706)
UNUSED FUTURE 32"...
2003 Chevrolet 3500 (A50120)
2003 Chevrolet...
 
Top